Nowodvorski 4448 Lhotse Outer Pillar Instruction Manual
Tools Requirement

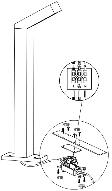
Assembly Instruction


Nowodvorski 4448 Lhotse Outer Pillar Instruction Manual
Tools Requirement



Download manual
Here you can download full pdf version of manual, it may contain additional safety instructions, warranty information, FCC rules, etc.