Roll Hill Modo Table Lamp

Product Information
| Product Name | Modo Desk Lamp |
|---|---|
| Manufacturer | Roll & Hill |
| Contact Information | T +1 718 387 6132 |
| Website | www.rollandhill.com |
Product Usage Instructions
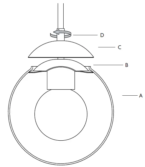
Installing Modo Globes
- Sandwich the glass globe (A) around the socket fitter (B) and cap (C).
- Gently tighten the sleeve (D) to hold the globe in place.

Safety Information
The light source contained in this luminaire shall only be replaced by the manufacturer or his service agent or a similar qualified person.
Power & Dimming
- Find the suitable driver adapter for your country’s outlet type.
- Slide driver adapter (A) into USB driver (B) until it clicks into place.
- To remove a driver adapter, press on the flexible tab on the adapter (A) and slide it out of the USB driver (B).
- Rotate the dimmer knob (C) clockwise to make the lamp brighter. Rotate the dimmer knob counterclockwise to make the light dimmer and to turn it off.
CONTENTS

SAFETY INFORMATION
- Only one light bulb per socket.
- Only suitable for direct mounting on non-combustible surfaces.
- Under no circumstances can Modo Chandeliers be mounted on normally flammable surfaces.
- Suitable for dry, indoor use only.
- Maximum ambient temperatures: 25˚ C
- If the external flexible cable or cord of this luminare is damaged, it shall be exclusively replaced by Roll & Hill or Roll & Hill’s service agent or a similarly qualified person in order to avoid hazard.
INSTALLATION | ATTACHING MODO GLOBES
- Sandwich the glass globe (A) around the socket fitter (B) and cap (C). Gently tighten the sleeve (D) to hold the globe in place.

- Suitable for dry, indoor use only.
- Maximum ambient temperature: 25˚C
- If the external flexible cable or cord of this luminare is damaged, it shall be exclusively replaced by Roll & Hill or Roll & Hill’s service agent or a similarly qualified person in order to avoid hazard.
- The light source contained in this luminaire shall only be replaced by the manufacturer or his service agent or a similar qualified person.
- Find the suitable driver adapter for your country’s outlet type.

- Slide driver adapter (A) into USB driver (B) until it clicks into place.
- To remove a driver adapter, press on the flexible tab on the adapter (A) and slide it out of the USB driver (B).

- Rotate the dimmer knob (C) clockwise to make the lamp brighter. Rotate the dimmer knob counterclockwise to make the light dimmer and to turn it off.

T +1 718 387 6132
www.rollandhill.com


















