Roll Hill Modo Sconce 2 Globes Wall Lamp

CONTENTS


SAFETY INFORMATION
- Only one light bulb per socket.
- Only suitable for direct mounting on non-combustible surfaces.
- Under no circumstances can Modo Sconce be mounted on normally flammable surfaces.
- Suitable for dry, indoor use only.
- Maximum ambient temperatures: 25˚ C
WALL INSTALLATION
- Note: Please contact a licensed electrician.
- Note: Do not use bulbs that exceed 25 watts.
- Attach the crossbar (A) from the back of the fixture onto the juntion box using provided #8-32 screws (B). Screw the 1/8 IPS nipple (C) into the center hole of the crossbar and feed electrical wires out from the nipple.
- Place backplate (D) over nipple and secure by threading the mounting bracket (E) onto the nipple. Tighten until canopy is flush against the wall and mounting bracket is positioned horizontally.
- Hold fixture up to backplate and make electrical connections to sconce (G), trimming excess wire. For 240V, connect the copper ground wire from the fixture to the green ground wire (H). Push the connected wires into the half hub.
- Fit the hub over the mounting bracket and secure in place with provided #8-32 socket screws (F) and allen key.

INSTALLATION
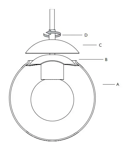
- Sandwich the glass globe (A) around the socket fitter (B) and cap (C). Gently tighten the sleeve (D) to hold the globe in place.






















