PRS-2.3 Park Tool

Instructions

Deluxe Double Arm Repair Stand
Assembly
- Rotate base support upright (#13) until the holes marked with 2 align correctly with the holes in the steel base (#16). Attach base support upright to steel base using four button head cap screws (#17), 3/16” washers (#15) and ¼-20 hex nuts (#14).
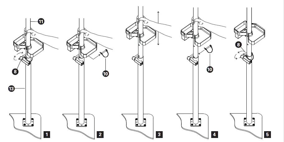
- Place lock block assembly without spring (#3, #5 – #9) into square tube on base support upright (#13).
- Slide work tray (#12) onto T support (#11). Install locking pin (#10) in one of five positioning holes on T-support and slide into base support upright (#13). Tighten handle of lock block assembly (#8) to secure T support.
- Place lock block assembly with spring (#3 – #9) into square tube on each end of T support. Position work tray at desired height and tighten set screw
to secure. - Place clamp (#1 or #2) into each end of T support (#11) and tighten handle of lock block assembly (#8) to secure clamp.

ADJUSTING HEIGHT
The PRS-2.3-1 and PRS-2.3-2 have five height adjustment positions. To adjust the height:
- Remove bike from repair stand. Hold T support (#11) firmly and loosen handle of lock block assembly (#3-#9) in base support upright (#13).
- Continue to hold T support (#11) to prevent it from dropping and pull locking pin (#10) from T support.
- Raise or lower T support (#11) and re-install locking pin (#10) into desired height adjustment hole in T support (#11).
- Re-tighten handle (#8) of lock block assembly.

ROTATING CLAMPS VERTICALLY
The clamps on the PRS-2.3-1 and PRS-2.3-2 can be rotated 360 degrees, allowing easy access to any component of the bike. To adjust the angle of the clamp:
- Loosen handle (#8) on lock block assembly in T support (#11).
- Rotate clamp (#1 or #2) to desired position.
- Re-tighten handle of lock block assembly to secure clamp.
ROTATING CLAMPS HORIZONTALLY
The T support on the PRS-2.3-1 and PRS-2.3-2 can be rotated 360 degrees,
allowing one bike to be quickly swung out of the way to work on another bike. To
rotate the T support:
- Loosen handle (#8) on lock block assembly in base support upright (#13).
- Rotate T support (#11) 180 degrees.
- Re-tighten handle of lock block assembly to secure position.
Parts

PART NUMBERS
| Ref. # | Part # | Description | Qty. |
| 1 | 100-3C | Adjustable Linkage Clamp (for PRS-2.3-1) | 2 |
| 2 | 100-3D | Micro Adjust Clamp (for PRS-2.3-2) | 2 |
| 3 | 113S | Threaded Lock Block | 3 |
| 4 | 115S | Spring | 2 |
| 5 | 114S | Unthreaded Lock Block | 3 |
| 6 | 109S | Spring Pin | 3 |
| 7 | 112S | Lock Block Bolt Assembly | 3 |
| 8 | 111S | Locking Lever | 3 |
| 9 | 110S | Ball Knob | 3 |
| 10 | 123 | Locking Pin | 1 |
| Ref. # | Part # | Description | Qty. |
| 11 | 124-2.2 | “T” Support Weldment | 1 |
| 12 | 105 | Work Tray | 1 |
| 13 | 125 | Base Support Upright | 1 |
| 14 | 131S | Hex Nut 1/4”-20 | 4 |
| 15 | 132S | Washer 3/16” | 4 |
| 16 | 135 | Base | — |
| 17 | 133S | Button Head Cap Screw 1/4”-20 x 7/8” | 4 |
| 18 | 180 | Lock Block Assembly | — |
| 19 | 180-2 | Lock Block Assembly without Spring | — |
| 20 | RPP-1 | Post Protector | 1 |




















