KAYOBA 944118 Suitcase

Important! Read the user instructions carefully before use.
Save them for future reference. Jula reserves the right to make changes. For latest version of operating instructions, see www.jula.com
OPERATION
To set your combination lock, follow these steps:
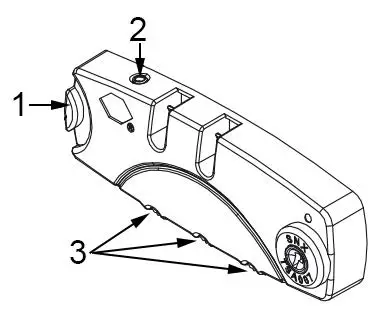
- Open the lock by setting the dials to the set combination. The factory setting is 0-0-0. Then press the lock button (1) and ensure that the lock is unlocked.
- Press down the reset button (2) with e.g. a pen.
- Set your new combination by turning the dials (3) to, for example 1-2-3.
- Release the reset button (2) so that it returns to its original position again.




















