ALLDATA 2008 Suzuki SX4 4WD L4-2.0L Fuel Tank

Vehicle > Powertrain Management > Fuel Delivery and Air Induction > Fuel Tank > Service and Repair > Removal and Replacement
FUEL TANK REMOVAL AND INSTALLATION
Fuel Tank Removal and Installation
WARNING: Before starting the following procedure, be sure to observe Precautions on to reduce the risk of fire and personal injury.
Removal
- Relieve fuel pressure in fuel feed line according to Fuel Pressure Relief Procedure.
- Disconnect negative cable at battery.
- Remove fuel filler cap.

- Insert hose of a hand operated pump into fuel filler hose (1) and drain fuel in space A as shown in figure.
CAUTION: Do not force pump hose into fuel tank.
- Hoist vehicle, and remove clamp (2), fuel filler hose (1) and breather hose (3) from fuel filler neck.
- Remove EVAP canister referring to EVAP Canister Removal and Installation.
- Remove exhaust center pipe referring to Exhaust Pipe and Muffler Removal and Installation.
- Remove propeller shaft (4WD model) referring to Propeller Shaft Assembly Removal and Installation.
- Due to absence of fuel tank drain plug, drain fuel tank by pumping fuel out through fuel tank filler. Use hand operated pump device to drain fuel tank.
- CAUTION:
- Do not force pump hose into fuel tank.
- Never store fuel in an open container due to possibility of fire or explosion.

- CAUTION:
- Disconnect quick joint (1) from fuel pipes (2) referring to Fuel Hose Disconnecting and Reconnecting.

- Support fuel tank (1) with jack (2) and remove its mounting bolts (3).

- Lower fuel tank a little as to disconnect wire harness at connector (1) and ground wire (2), then remove fuel tank
Installation
Reference: Fuel Tank Inspection
Reference: Fuel Tank Purging Procedure
CAUTION:
- When connecting joint, clean outside surfaces of pipe where joint is to be inserted, push joint into pipe till joint lock clicks and check to ensure that pipes are connected securely, or fuel leak may occur.
- Never let the fuel hoses touch the wheel speed sensor harness (if equipped).
- If parts have been removed from fuel tank, install them before installing fuel tank to vehicle.
- Raise fuel tank (1) with jack (2) and connect fuel pump connector (3), ground wire (4) and clamp wire harness. Tightening torque
Ground wire bolt a: 11 Nm (1.1 kgf-m, 8.0 ft. lbs.) - Install fuel tank to vehicle, and tighten new fuel tank bolts to specified torque.

Tightening torque
Fuel tank bolt b: 45 Nm (4.5 kgf-m, 33.0 ft. lbs.)
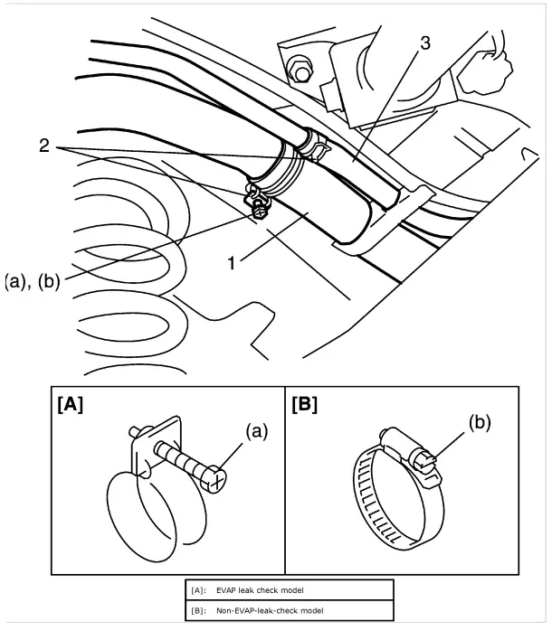
- Connect fuel filler hose (1) and breather hose (2) to filler neck (3) as shown in figure, and clamp them securely.
Tightening torque
Fuel tank hose clamp (EVAP leak check model) a: 1.5 Nm (0.15 kgf-m, 1.0 ft. lbs.)
Fuel tank hose clamp (Non-EVAP-leak-check model) b: 3.5 Nm (0.35 kgf-m, 2.5 ft. lbs.)
- Connect fuel feed hose (1) and vapor hose (2) to each pipe as shown in figure, and clamp them securely.
- Install exhaust center pipe referring to Exhaust Pipe and Muffler Removal and Installation referring to Propeller Shaft Assembly Removal and Installation.
- Install propeller shaft (4WD model).
- Install EVAP canister referring to EVAP Canister Removal and Installation.
- Connect negative (-) cable at battery.
- With engine OFF, turn ignition switch to ON position and check for fuel leaks.



























