FlexScan Color LCD Monitor EV2485

Important
Please read this “User’s Manual”, and “PRECAUTIONS” (separate olume) carefully to familiarize yourself with safe and effective usage.
- Refer to the “Setup Guide” for information on the installation /connection of the monitor.
- For the latest product information including the “User’s Manual”, refer to our web site :
www.eizoglobal.com
This product has been adjusted specifically for use in the region to which it was originally shipped. If operated outside this region, the product may not perform as stated in the specifications.
No part of this manual may be reproduced, stored in a retrieval system, or transmitted, in any form or by any means, electronic, mechanical, or otherwise, without the prior written permission of EIZO Corporation. EIZO Corporation is under no obligation to hold any submitted material or information confidential unless prior arrangements are made pursuant to EIZO Corporation’s receipt of said information. Although every effort has been made to ensure that this manual provides up-to-date information, please note that EIZO product specifications are subject to change without notice.
Notice for this product
About the Usage of This Product
This product is suited to general purposes like creating documents, viewing multimedia content (Assuming usage of approximately 12 hours per day).
If using this product for the following kinds of applications, where an extremely high degree of reliability and safety is required, then measures should be in place to maintain safety while using this product.
- Transportation equipment (ships, aircraft, trains, and automobiles)
- Safety devices (Disaster prevention systems, security control systems, etc.)
- Life-critical devices (medical devices, such as life-support devices and operating room devices)
- Nuclear energy control devices (Nuclear energy control systems, security control systems of nuclear facilities, etc.)
- Major system communication devices (operation control systems of transportation systems, air traffic control systems, etc.)
This product has been adjusted specifically for use in the region to which it was originally shipped. If the product is used outside the region, it may not operate as specified in the specifications.
This product may not be covered by warranty for uses other than those described in this manual.
The specifications noted in this manual are only applicable when the following are used:
- Power cords provided with the product
- Signal cables specified by us
Only use optional products manufactured or specified by us with this product.
About the LCD Panel
It takes about 30 minutes (under our measurement conditions) for the monitor display to stabilize. Please wait 30 minutes or more after the monitor power has been turned on, and then adjust the monitor.
Monitors should be set to a lower brightness to prevent a loss in the screen quality caused by long-term use and to maintain stable use.
When the screen image is changed after displaying the same image for extended periods of time, an afterimage may appear. Use the screen saver or power save function to avoid displaying the same image for extended periods of time. Depending on the image, an afterimage may appear even if it was displayed for a short period of time. To remove such a phenomenon, change the image or keep the power turned off for several hours.
If the monitor displays continuously over a long period of time, smudges or burn-in may appear. To maximize the life of the monitor, we recommend the monitor be turned off periodically.
The LCD panel is manufactured using high-precision technology. Although, missing pixels or lit pixels may appear on the LCD panel, this is not a malfunction. Percentage of effective dots: 99.9994 % or higher.
The backlight of the LCD panel has a fixed lifetime. Depending on the usage pattern, such as usage for long continuous periods, the lifespan of the backlight may run out sooner, requiring replacement. When the screen becomes dark or begins to flicker, please contact your local EIZO representative.
Do not press on the LCD panel or edge of the frame strongly, as this may result in display malfunctions, such as interference patterns, etc. If pressure is continuously applied to the LCD panel surface, the liquid crystal may deteriorate or the LCD panel may be damaged. (If the pressure marks remain on the panel, leave the monitor with a black or white screen. The symptom may disappear.)
Do not scratch or press on the LCD panel with any sharp objects, at this may result in damage to the LCD panel. Do not attempt to brush with tissues as this may scratch the panel.
About the Installation
If you place this product on a lacquer-coated desk, the color may adhere to the bottom of the stand due to the composition of the rubber. Check the desk surface before use.
When the product is cold and brought into a room or the room temperature goes up quickly, dew condensation may occur on the interior and exterior surfaces of the product. In that case, do not turn the product on. Instead wait until the dew condensation disappears, otherwise it may cause some damage to the product.
About the Maintenance
Periodic cleaning is recommended to keep the product looking new and to prolong its operation lifetime (refer to “Cleaning” (page 4)).
Cleaning
The stains on the cabinet and LCD panel surface can be removed by moistening part of a soft cloth with water or by using ScreenCleaner (available as an option).
Attention
- Chemicals such as alcohol and antiseptic solution may cause gloss variation, tarnishing, and fading of the cabinet or LCD panel, and also quality deterioration of the image.
- Never use thinner, benzine, wax, or abrasive cleaner as they may damage the cabinet or LCD panel surface.
To use the monitor comfortably
- An excessively dark or bright screen may affect your eyes. Adjust the brightness of the monitor according to the environmental conditions.
- Staring at the monitor for a long time tires your eyes. Take a 10-minute rest every hour.
Introduction
Thank you very much for choosing an EIZO color LCD monitor.
Features
Support for DisplayPort Alt Mode / USB Power Delivery
This product is equipped with a USB Type-C® (hereinafter USB-C®) connector and supports the transmission of video signals (DisplayPort Alt Mode) as well as the charging of USB devices (USB Power Delivery).
It supplies a maximum of 70 W of power to a connected notebook PC when used as an external monitor.
Note
- To display video signals, the connected device must support transmission of video signals (DisplayPort Alt Mode).
- To use the charging function, the connected device must support device charging by using USB Power Delivery.
- Only when the following USB cables are used, a maximum of 70 W of power can be supplied.
- CC200SS-5A or CC200SSW-5A (Included)
- CC100 (Separately sold accessory)
- Connected devices can be charged even when the monitor is in power saving mode.
- When “Compatibility Mode” is set to “On” in the “Administrator Settings” menu, connected devices can be charged even when the power of the monitor is turned off.
High Degree of Flexibility for Installation
- This product can be used as an external monitor of a notebook computer.

- By attaching the monitor to an arm, the screen can be used in a multi-monitor configuration benefiting from the feature of framelessness on all 4 sides.

Reduction of Power Consumption
This product provides a function that automatically adjusts the screen brightness to reduce power consumption *1. Power Reduction, CO2 Reduction, and Eco Performance Level can be checked on the “EcoView Settings” menu. (page 15)
- Auto EcoView
The ambient light sensor on the front of the monitor detects the ambient brightness to automatically adjust the screen brightness to a comfortable level. - EcoView Optimizer 2
The monitor automatically adjusts the screen brightness according to the white level of the input signal. This function can reduce power consumption while maintaining the brightness specified by the input signal. - 1 Reference values
Maximum power consumption: 146 W (when a USB device is connected and the speakers are working), standard power consumption: 12 W (brightness 120 cd/m2, when no USB device is connected and the speakers are not working, at default settings)
Realizing More Convenient Operations Using Screen InStyle
The “Screen InStyle” monitor control utility enables you to use the monitor more conveniently.
- The monitor color mode can be switched automatically to suit the software to be used.
- You can switch input signals using the shortcut keys on the keyboard.
- When multiple monitors are installed, you can turn the power on and off or change the color mode of all monitors at the same time.
Note
- Screen InStyle can be downloaded from our web site (www.eizoglobal.com).
- The Windows operating systems are only supported.
Controls and Functions
Front

| 1. Speakers | Outputs audio. | |
| 2. | Ambient light sensor | Detects ambient brightness. If you use Auto EcoView, the screen brightness is automatically adjusted according to the ambient brightness (page 15). |
| 3. | Operation switches | Displays menus. Operate the switches according to the operation guide (page 17). |
| 4. | Power switch | Turns the power on or off. |
| 5. | Power indicator | Indicates the monitor’s operation status. White: Normal operation mode Orange: Power saving mode OFF: Main power / power off |
Rear
| 6. Handle | This handle is used for transportation. | |
| 7. Security lock slot | Complies with Kensington’s MicroSaver security system. | |
| 8. Lock button | Use this button to remove the monitor from the stand. | |
| 9. Headphone jack | Connects to headphones. | |
| 10. USB-A connector (downstream) | Connects to a peripheral USB device (page 36). | |
| 11. Cable holder | Holds the monitor cables. | |
| 12. Stand*1 | Adjusts the height and angle (tilt and swivel) of the monitor. | |
| 13. Main power switch | Turns the main power on or off. | : On, : Off |
| 14. Power connector | Connects the power cord. | |
| 15. DisplayPort connector | Connects to a PC with DisplayPort output. | |
| 16. HDMI connector | Connects to a PC with HDMI output. | |
| 17. USB-C connector (upstream) | Connects to a PC with USB-C output. This also transmits the USB signal that is necessary for using software that requires USB connection. | |
*1 An optional arm (or optional stand) can be attached by removing the stand section.
Supported Resolutions
The monitor supports the following resolutions.
| Resolution | Vertical scan frequency (Hz) | DisplayPort | HDMI | USB-C |
| 640 × 480 | 59.940 | √ | √ | √ |
| 640 × 480 | 60.000 | √ | √ | √ |
| 720 × 400 | 70.087 | √ | √ | √ |
| 720 × 480 | 59.940 | √ | √ | √ |
| 720 × 480 | 59.941 | √ | √ | √ |
| 720 × 480 | 60.000 | √ | √ | √ |
| 720 × 576 | 50.000 | – | √ | – |
| 800 × 600 | 60.317 | √ | √ | √ |
| 1024 × 768 | 60.004 | √ | √ | √ |
| 1280 × 720 | 50.000 | – | √ | – |
| 1280 × 720 | 59.940 | √ | √ | √ |
| 1280 × 720 | 60.000 | √ | √ | √ |
| 1280 × 800 | 59.810 | √ | √ | √ |
| 1280 × 1024 | 60.020 | √ | √ | √ |
| 1600 × 900 | 60.000 | √ | √ | √ |
| 1600 × 1200 | 60.000 | √ | √ | √ |
| 1680 × 1050 | 59.883 | √ | √ | √ |
| 1680 × 1050 | 59.954 | √ | √ | √ |
| 1920 × 1080 | 50.000 | – | √ | – |
| 1920 × 1080 | 59.940 | √ | √ | √ |
| 1920 × 1080 | 60.000 | √ | √ | √ |
| 1920 × 1200*1 | 59.950 | √ | √ | √ |
Recommended resolution
Note
Only progressive is supported for the Scan Format.
Changing the Computer Display Settings
If the image is not displayed properly after connecting the monitor to a PC, follow the procedure below to change the display settings on the computer.
Windows 10
- Right-click the mouse anywhere on the desktop except on icons. A menu is displayed.
- From the displayed menu, click “Display Settings”. The “Settings” screen is displayed.
- If multiple monitors, including notebook PC screens, are connected to the computer, select “Extend these displays” in the “Multiple displays” menu, and then click “Keep changes” on the confirmation screen. After changing the settings, select a monitor in the “Select and rearrange displays” menu.
- Select the “Make this my main display” option in the “Multiple displays” menu. This enables the monitor to display images properly.
- Confirm that the recommended resolution for the monitor is set in the “Resolution” menu. (“(Recommended)” is displayed after the resolution.)
- To change the size of text and icons, select a magnification in the menu of zoom percentages according to personal preference.
- If a message prompting you to sign out is displayed after changing the settings, sign out and then sign in again.
Windows 8.1
- Click the “Desktop” tile on the Start Screen to display the desktop.
- Right-click the mouse anywhere on the desktop except on icons. A menu is displayed.
- From the displayed menu, click “Screen resolution”. The settings screen is displayed.
- If multiple monitors, including notebook PC screens, are connected to the computer, select “Extend these displays” in the “Multiple displays” menu, and then click “Apply”. Click “Keep changes” on the confirmation screen.
- Select a monitor in the “Display” menu, and then select the “Make this my main display” option and click “Apply”. This enables the monitor to display images properly.
- Confirm that the recommended resolution for the monitor is set in the “Resolution” menu. (“(recommended)” is displayed after the resolution.)
- To change the size of text and icons, click “Make text and other items larger or smaller”, select a size according to personal preference on the settings screen, and then click “Apply”.
- If a message prompting you to sign out/log off is displayed after changing the settings, sign out/log off and then sign in/log in again.
macOS
- Select “System Preferences” from the Apple menu.
- When the “System Preferences” panel is displayed, click “Displays”.
- If multiple monitors, including notebook PC screens, are connected to the computer, make sure that “Mirror Displays” is not selected on the “Arrangement” tab. If it is selected, remove the check mark.
- Select the “Display” tab, and make sure that “Default for display” is selected for “Resolution”. If it is not selected, add a check mark. The correct resolution has now been set for your display. Close the “System Preferences” panel. If multiple monitors, including notebook PC screens, are connected to the computer, configure these settings in “Display” on each monitor.
- To select a resolution according to personal preference, select “Scaled” and then select a resolution (either from a list or icons), and then close the panel.
Basic Adjustment / Setting
This product enables users to change the brightness according to personal preference or to suit the usage environment, and to reduce power consumption to conserve energy.
This chapter describes the basic functions that can be adjusted and set using the switches on the front of the monitor.
For advanced adjustment and setting procedures using the Setting menu, see “Chapter 3 Advanced Adjustment / Setting” (page 17).
Switch Operation Method
Displaying the operation guide
1. Touch any switch (except power button ). The operation guide appears on the screen.
Note
Do not directly touch the operation guide that appears on the screen. There are switches below the operation guide that can be touched to perform adjustment / setting.
Adjusting / setting
1. Touch a switch for adjustment / setting.
The Adjustment / Setting menu appears.
(A submenu may also be displayed. In this case, select the item for adjustment / setting using select .)
2. Perform adjustment / setting with the switches and select to accept the changes.
Exiting
1. Select to exit the menu.
Switching Input Signals
When a monitor has multiple signal inputs, the signal to display on-screen can be changed.
Note
“Screen InStyle” allows you to switch input signals using the shortcut keys on the keyboard.
Switching Display Modes (Color Modes)
This product is preinstalled with color modes for various display purposes.
By switching the mode according to the purpose and contents of the display, you can display images in an appropriate manner.
Display Modes
| Color Mode | Purpose |
| User1 User2 | Select either of these modes to set a user-defined display mode. |
| sRGB | This mode is suitable for matching color reproduction with peripheral devices that support sRGB, such as when printing photos taken using a digital camera. |
| Paper | This mode uses color tones and contrast similar to that of paper to produce a printed paper effect. It is suitable for displaying images from media such as books and documents. |
| Movie | This mode displays moving images brightly and with a clear-cut three-dimensional appearance. It is suitable for playing back video content. |
| DICOM | Select this mode to simply display medical purpose digital images based on DICOM® Part 14. Attention • This is not intended to be used for diagnostic purposes. |
Note
- “Screen InStyle” allows you to select the color mode automatically according to the software in use.
- In Paper mode, the amount of blue light emitted from the screen is reduced by changing the color tone and controlling the brightness.
Conserving Energy
This monitor is equipped with EcoView functions to enable users to conserve energy.
If you use Auto EcoView, which is one of the EcoView functions, the screen brightness is automatically adjusted according to the ambient brightness.
| Function | Setting Value | Description |
| Auto EcoView | On Off | The ambient light sensor on the front of the monitor detects the ambient brightness to automatically adjust the screen brightness to a comfortable level using Auto EcoView. The power consumption of the backlight can be curtailed by adjusting the brightness to an appropriate level. This function can also mitigate eye strain and tiredness caused by a screen that is too bright or too dark. Note • Be careful not to block the ambient light sensor on the lower side of the monitor when using Auto EcoView. • Even when Auto EcoView is set to “On”, you can change the brightness of the monitor using the operation switches ( ) on the front of the monitor or in the color adjustment settings. The manner in which Auto EcoView changes the brightness will also vary depending on the value you set. • When “DICOM” is selected for the color mode, the Auto EcoView setting is turned “Off”. |
| EcoView Optimizer 2 | On Off | The monitor automatically adjusts the screen brightness according to the white level of the input signal. This function can reduce power consumption while maintaining the brightness specified by the input signal. Note • The setting is turned “Off” in the following cases: – When “Movie” or “DICOM” is selected for the color mode • When set to “On”, the appearance of pale colors may change. If this bothers you, set this function to “Off”. |
Note
- The power saving level (Power Reduction, CO2 Reduction, and Eco Performance Level) can be checked on the “EcoView Settings” menu. The more indicators that light up representing the Eco Performance Level, the higher the power saving level attained.
- Power Reduction: the reduction in the backlight’s power consumption as a result of the adjusted brightness value.
- CO2 Reduction: converted from the “Power Reduction” value, this is an estimate of the quantity of CO2 emissions reduced when using the monitor for 1 hour.
- The numeric value is a result of calculation based on a default setting (0.000555t-CO2 / kWh) determined by a Japanese ministerial ordinance (2006, Ministry of Economy, Trade and Industry, Ministry of Environment, civil code article 3) and may differ depending on country and year.
Adjusting Brightness
The brightness of the screen can be adjusted to suit the installation environment or personal preference. The screen brightness is adjusted by changing the brightness of the backlight (light source from the LCD back panel).
Setting Value
0 to 100

Adjusting Volume
The volume of the speakers and headphones can be set individually.
Setting Value
0 to 30

Advanced Adjustment / Setting
This chapter describes the advanced monitor adjustment and setting procedures using the Setting menu. For basic functions, see “Chapter 2 Basic Adjustment / Setting” (page 13).
Menu display
1. Touch any switch (except ). The operation guide appears.
2. Select . The Setting menu appears.
Adjusting / setting
- Select a menu to adjust / set with up and dowwn and select The Sub menu appears.

- Select an item to adjust / set with up and down and The Adjustment / Setting menu appears.

- Perform adjustment / setting with up and down or right left and select to accept the changes.
The Sub menu appears.
Selecting during adjustment / setting will cancel the adjustment / setting and restore the state prior to making changes.
Exiting
1. Selecting several times will terminate the Setting menu.
Color Adjustment
The color mode settings can be adjusted according to personal preference. The adjusted settings are saved for each color mode.
Functions that can be adjusted differ depending on the color mode.
| Function | Color Mode | |||||
| User1 User2 | sRGB | Paper | Movie | DICOM | ||
| Brightness | √ | √ | √ | √ | – | |
| Contrast | √ | – | – | √ | – | |
| Temperature | √ | – | √ | √ | – | |
| Gamma | √ | – | – | – | – | |
| Advanced Settings | Overdrive | √ | – | – | – | – |
| Hue | √ | – | – | √ | – | |
| Saturation | √ | – | – | √ | – | |
| Gain | √ | – | – | – | – | |
| Reset | √ | √ | √ | √ | – | |
Attention
- It takes about 30 minutes for the monitor display to stabilize. Please wait 30 minutes or more after power to the monitor has been turned on before adjusting the monitor.
- The same image may be observed in different colors on multiple monitors due to monitor-specific characteristics. Make fine color adjustments visually when matching colors across multiple monitors. Follow the procedure below to adjust and match colors across multiple monitors.
- Display a white screen on each monitor.
- Use one of the monitors as a visual reference point to make adjustments to the “Brightness”,
“Temperature”, and “Gain” of the other monitors.
- When Auto EcoView is set to “On”, the same brightness setting is shared by all of the color modes and cannot be set individually for each color mode.
| Function | Setting Value | Description | |
| Color Mode | User1 User2 sRGB Paper Movie DICOM | Select the desired mode according to the monitor application. The color mode settings can also be adjusted according to personal preference. Select the mode for adjustment and perform adjustment using the relevant functions. Note • For details on the adjustment status of each mode, see “2-3. Switching Display Modes (Color Modes)” (page 14). | |
| Brightness | 0 to 100 | The screen brightness is adjusted by changing the brightness of the backlight (light source from the LCD back panel). Note • If the image is too dark even when the brightness is set to 100, adjust the contrast. | |
| Contrast | 0 to 100 | The brightness of the screen is adjusted by varying the video signal level. Note • A contrast of 50 displays every color gradation. • When adjusting the monitor, it is recommended to perform brightness adjustment, which does not lose gradation characteristics, prior to contrast adjustment. • Perform contrast adjustment in the following cases. – If the image is too dark even when the brightness is set to 100 (Set the contrast to higher than 50.) | |
| Temperature | Off 4000 K to 10000 K (in increments of 500 K. 9300 K is included.) | Adjust the color temperature. The color temperature is normally used to express the hue of “White” and/or “Black” with a numerical value. The value is expressed in degrees “K” (Kelvin). The screen becomes reddish at low color temperatures and bluish at high color temperatures, similar to the temperatures of a flame. A gain preset value is set for each color temperature setting value. Note • The value shown in “K” is available only as a reference. • “Gain” allows you to perform more advanced adjustment. • If set to “Off”, the image is displayed in the preset color of the LCD panel (Gain: 100 for each RGB channel). • When the gain is changed, the color temperature setting changes to “Off”. | |
| Gamma | 1.8 2.0 2.2 2.4 | Adjust the gamma. While the brightness of the monitor varies depending on the video level of the input signal, the variation rate is not directly proportional to the input signal. Maintaining the balance between the input signal and brightness of the monitor is referred to as “Gamma correction”. Note • If “sRGB” is selected for the color mode, “sRGB” is displayed for the gamma value. • If “Paper” is selected for the color mode, “Paper” is displayed for the gamma value. • If “DICOM” is selected for the color mode, “DICOM” is displayed for the gamma value. | |
| Function | Setting Value | Description | ||
| Advanced Settings | Overdrive | Enhanced Standard Off | This function allows you to set the overdrive intensity based on the use of the monitor. Image lag can be reduced by using the “Enhanced” setting when displaying moving images. Note • Depending on the display resolution and the setting of “Picture Expansion” (page 21), overdrive may be set to “Off”. | |
| Hue | -50 to 50 | Adjust the hue. Note • Using this function may prevent some color gradations from being able to be displayed. | ||
| Saturation | -50 to 50 | Adjust the color saturation. Note • Using this function may prevent some color gradations from being able to be displayed. • The minimum value (-50) changes the screen to monochrome. | ||
| Gain | 0 to 100 | The brightness of each red, green, and blue color component is referred to as “Gain”. The hue of “white” can be changed by adjusting the gain. Note • Using this function may prevent some color gradations from being able to be displayed. • The gain value changes according to the color temperature. • When the gain is changed, the color temperature setting changes to “Off”. | ||
| Reset | – | Reset any color adjustments for the currently selected color mode back to the default settings. | ||
Signal Settings
Set the details regarding input signal, such as the screen display size and color format.
| Function | Setting Value | Description |
| Picture Expansion | Auto *1 Full Screen Aspect Ratio Dot by Dot | The screen size of the monitor display can be changed. • “Auto” The monitor automatically changes the screen size according to the aspect ratio and resolution information from the PC. • “Full Screen” Images are stretched to full screen. Since aspect ratios are not maintained, images may be distorted in some cases. • “Aspect Ratio” Images are enlarged to full screen without changing the aspect ratio. Since aspect ratios are maintained, blank horizontal or vertical borders may appear. • “Dot by Dot” Displays the image at the set resolution or size specified by the input signal. |
| Note | ||
| • Example settings
| ||
| – Full Screen | ||
| – Aspect Ratio | ||
| – Dot by Dot (input signal) | ||
| Sharpness | -2 to 2 | When a low resolution image is displayed using picture expansion mode (“Full Screen” or “Aspect Ratio”), the text and lines of the image may appear blurry. This blurriness can be reduced by configuring the settings for sharpness. Note • For some resolutions, it is not necessary to configure the settings for sharpness. (“Sharpness” is not a value that can be selected.) |
| Function | Setting Value | Description |
| Input Color Format | Auto YUV 4:2:2 *1 YUV 4:4:4 *1 YUV *2 RGB | The color format of the input signal can be specified. Try changing this setting if colors are not displayed correctly. |
| Input Range | Auto Full Limited | Depending on the video reproduction device, there may be a restriction on black and white video signal levels output to the monitor. This kind of signal is called “Limited range”. On the other hand, unlimited signals are called “Full range”. • “Auto” Input signal brightness range is automatically judged and is displayed appropriately (recommended setting). Depending on the video reproduction device, Limited range and Full range may not be able to be judged by the monitor. In such a case, selecting “Full” or “Limited” will allow it to be displayed appropriately. • “Full” To be selected in case of Full range signals. Appropriate display can be obtained when this is selected, in case both blacks and whites are corrupted. • “Limited” To be selected in case of Limited range signals. In case this is selected, the output signal range is expanded from 0 to 255 to obtain an appropriate display when black is pale and white is dull. Note • When “YUV” is selected in “Input Color Format”, the setting is automatically set to “Limited”. Additionally, when “Auto” is selected and the monitor determines the input color format to be YUV, the setting is automatically set to “Limited”. |
* 1 Only enabled during HDMI input
* 2 Only valid for DisplayPort or USB-C input
Preference Settings
The monitor’s settings can be configured to suit the usage environment or personal preference.
| Function | Setting Value | Description |
| Menu Rotation | 0° 90° 270° | When the monitor is used in a vertical position, the direction of the Setting menu can also be changed. Note • Check whether the cables are connected properly. • It is necessary to configure the settings of the computer to use the monitor vertically. For details, refer to our website (www.eizoglobal.com). • The menu cannot be rotated 180°. When rotating a monitor 180°, perform the adjustments / settings for the monitor before rotating it. |
| Power Save | On Off | The monitor can be set to enter power saving mode according to the state of the PC. The monitor changes to power saving mode about 15 seconds after signal input ceases to be detected. When the monitor has shifted to power saving mode, images are not displayed on the screen and audio is not output.
• How to exit power saving mode – Press the operation switches (excluding ) on the front of the monitor – The monitor automatically exits power saving mode when the monitor receives input Note • At the time of shifting to power saving mode, a message that indicates the transition is displayed 5 seconds in advance. • When not using the monitor, you can turn off the main power supply or disconnect the power plug so that the power is cut completely. • When “Compatibility Mode” (page 26) is set to “On”, even if the monitor shifts to power saving mode, devices connected to the USB downstream port are operational. Therefore, power consumption of the monitor varies with connected devices even in power saving mode. |
| Power Indicator | On Off | The power indicator (white) can be turned off in normal operation mode. |
| Monitor Reset | – | Restore all settings to their default values except for the following settings. • Settings on the “Administrator Settings” menu |
Language
The display language for menus and messages can be selected.
Setting Value
English, German, French, Spanish, Italian, Swedish, Japanese, Simplified Chinese, Traditional Chinese
Attention
The display language of the “Administrator Settings” menu (English) cannot be changed.
Information
You can check the monitor information (model name, serial number (S/N), firmware version, usage time) and the input signal information.
Example:
Administrator Settings
This chapter describes how to configure monitor operation using the “Administrator Settings” menu.
Basic Operation of the “Administrator Settings”
Menu
Menu display
1. Touch power buton to turn off the monitor.
2. While touching the leftmost switch, touch power button for more than 2 seconds to turn on the monitor.
Setting
- Select an item to set with up and down and select tick
The Adjustment / Setting menu appears.
- Set with left right and select tick
The “Administrator Settings” menu appears.
Applying and exiting
1. Select “Apply” and then tick
The settings are applied and the “Administrator Settings” menu exits.
Attention
The language (English) of the “Administrator Settings” menu cannot be changed.
| Function | Setting Value | Description |
| Auto Input Detection | On Off | This function automatically recognizes the connector through which PC signals are input, and displays images on the screen accordingly. • “On” When the monitor is connected to multiple PCs, if a specific PC enters power saving mode or no signals are input to the monitor, the connector is automatically changed to another one to which signals are input. • “Off” To be set to this when manually selecting input signals. In this case, you can select the input signal to display using the operation switch on the front of the monitor. For details, see “2- 2. Switching Input Signals” (page 14). Note • This product automatically recognizes the connector through which PC signals are input, and displays images on the screen accordingly regardless of whether this function is set to On or Off just after the main power switch on the rear side of the monitor has been turned on. • When this function is set to “On”, the monitor only enters the power saving mode when signals are not input from any PC. |
| Compatibility Mode | On Off | If you want to avoid the following phenomena, set this function to “On”. • The positions of windows and icons are shifted when the monitor is turned off / on or has returned from the power saving mode. • Even when the mouse or keyboard are used, the computer does not return from sleep. • When the power to the monitor is turned off, a device connected to the USB downstream port does not work, or power is not supplied to the connected device. • When the power to the monitor is turned off, power is not supplied to devices connected to the USB-C connector. |
| Function | Setting Value | Description |
| USB | On Off | You can switch between enabling and disabling of the USB port of the monitor. • “On” Enables the USB port. If you are using the following functions, set this function to “On”. – Display of video signals using USB-C – USB Hub Function – USB Power Delivery – Screen InStyle (monitor control) • “Off” Disables the USB port so that USB peripheral devices cannot be used. |
| Note | ||
| • By pressing the switch on the far left for three seconds or more in the state where the power is turned on and the menu is not displayed, you can change the setting from “Off” to “On”. The same operation cannot be used to change from “On” to “Off”. | ||
| On-Screen Logo | On Off | When the monitor is turned on, the EIZO logo appears on the screen. When this function is set to “Off”, the EIZO logo does not appear. |
| Key Lock | Off Menu All | In order to prevent changes to settings, the operation switches on the front of the monitor can be locked. • “Off” (default setting) Enables all switches. • “Menu” Locks the switch. • “All” Locks all switches except the power switch. |
Troubleshooting
No Picture
| Problem | Possible cause and remedy |
| 1. No picture • Power indicator does not light up. | • Check whether the power cord is connected properly. • Turn on the main power switch on the rear side of the monitor. • Touch . • Turn off the main power switch on the rear side of the monitor, and then turn it on again a few minutes later. |
| • Power indicator is lighting white. | • Increase “Brightness”, “Contrast”, or “Gain” in the Setting menu (see “Color Adjustment” (page 18)). |
| • Power indicator is lighting orange. | • Switch the input signal. • Turn the setting “On” for “Compatibility Mode” on the “Administrator Settings” menu (see “Compatibility Mode” (page 26)). • Move the mouse or press any key on the keyboard. • Check whether the PC is turned on. • Turn off the main power switch on the rear side of the monitor, and then turn it on again. |
| • Power indicator is flashing orange and white. | • This symptom may occur when the PC is connected to the DisplayPort connector. Use a signal cable recommended by us for the connection. Turn the monitor off and on. • Check the connection and condition of the USB devices connected to the monitor. |
| 2. The message below appears. | This message appears when the signal is not input correctly even though the monitor is functioning properly. |
| • This message appears when no signal is input. Example:
| • The message shown left may appear, because some PCs do not output the signal immediately after power-on. • Check whether the PC is turned on. • Check whether the signal cable is connected properly. • Switch the input signal. • Turn off the main power switch on the rear side of the monitor, and then turn it on again. • Try setting “Auto Input Detection” in the “Administrator Settings” menu to “Off” and switching the input signal manually (see “Auto Input Detection” (page 26)). |
| • The message shows that the input signal is out of the specified frequency range. Example:
| • Check whether the PC is configured to meet the resolution and vertical scan frequency requirements of the monitor (see “1-3. Supported Resolutions” (page 11)). • Reboot the PC. • Select an appropriate setting using the graphics board’s utility. Refer to the User’s Manual of the graphics board for details. |
| • This message appears when the PC connected to the USB-C connector does not support video signal output. Example:
| • Check whether the connected cable is a signal cable recommended by us. • Check whether the USB-C of the connected device supports video signal output (DisplayPort Alt Mode). For details, contact the manufacturer of the device. • Connect a DisplayPort cable or an HDMI cable. |
| Problem | Possible cause and remedy |
| • This message appears when the USB port of the monitor is disabled. Example:
| • Check whether “USB” in the “Administrator Settings” menu is set to “On” (see “USB” (page 27)). |
Imaging Problems
| Problem | Possible cause and remedy |
| 1. The screen is too bright or too dark. | • Use “Brightness” or “Contrast” in the Setting menu to adjust it (see “Color Adjustment” (page 18)). (The LCD monitor backlight has a limited life span. If the screen becomes dark or begins to flicker, contact your local EIZO representative.) • If the screen is too bright, try changing the Auto EcoView setting to “On”. The monitor detects the ambient brightness to adjust the screen brightness automatically (see “Auto EcoView” (page 15)). |
| 2. The brightness changes on its own. | • Try changing the Auto EcoView setting to “Off” (see “Auto EcoView” (page 15)). |
| 3. Characters and images are blurred. | • Check whether the PC is configured to meet the resolution and vertical scan frequency requirements of the monitor (see “1-3. Supported Resolutions” (page 11)). • Try setting the magnification of display on the OS to “100%”. When using multiple monitors, try setting the magnification of display to “100%” on all monitors. |
| 4. Afterimages appear. | • Afterimages are particular to LCD monitors. Avoid displaying the same image for a long time. • Use the screen saver or power saving function to avoid displaying the same image for extended periods of time. Depending on the image, an afterimage may appear even if it was displayed for a short period of time. To remove such a phenomenon, change the image or keep the power turned off for several hours. |
| 5. Green / red / blue / white / dark dots remain on the screen. | • This is due to LCD panel characteristics and not a malfunction. |
| 6. Interference patterns or pressure marks remain on the LCD panel. | • Leave the monitor with a white or black screen. The symptom may disappear. |
| 7. Noise appears on the screen. | • In the Setting menu, set “Overdrive” to “Off” (see “Overdrive” (page 20)). • When inputting HDCP system signals, normal images may not be displayed immediately. |
| 8. The positions of windows and icons are shifted when the monitor is turned off / on or when restored from power saving mode. | • Turn the setting “On” for “Compatibility Mode” on the “Administrator Settings” menu (see “Compatibility Mode” (page 26)). |
| 9. The color shown on the screen is not correct. | • Try changing “Input Color Format” in the Setting menu (see “Input Color Format” (page 22)). |
| 10. Images are not displayed over the entire area of the screen. | • Try changing “Picture Expansion” in the Setting menu (see “Picture Expansion” (page 21)). • Check whether the setting for the resolution of the PC matches the resolution of the monitor. |
Other Problems
| Problem | Possible cause and remedy |
| 1. The Setting menu does not appear. | • Check whether the switch operation lock function is active (see “Key Lock” (page 27)). |
| 2. Cannot select items in the Setting menu. | • Items that are displayed with gray text cannot be changed. |
| 3. No audio output. | • Check whether volume is set to 0. • Check the PC and audio playback software to see whether they are configured correctly. |
| 4. USB devices connected to the monitor do not work. | • Check whether the USB cable is correctly connected between the PC and the monitor. • Check whether the USB cable is correctly connected between the peripheral and the monitor. • Try using a different USB port on the monitor. • Try using a different USB port on the PC. • Reboot the PC. • When “Compatibility Mode” is set to “Off” in the “Administrator Settings” menu and the power of the monitor is turned off, devices connected to the USB downstream port are not operational. Change the setting for “Compatibility Mode” to “On” (refer to “Compatibility Mode” (page 26)). • When “USB” is set to “Off” in the “Administrator Settings” menu, peripheral devices connected to the USB port cannot be used. Set “USB” to “On” (refer to “USB” (page 27)). • If the peripheral devices work correctly when they are directly connected to the PC, contact your local EIZO representative. • Depending on the USB host controller you are using, the connected USB device may not be recognized properly. Update to the latest USB driver provided by the manufacturer, or connect the monitor to the USB 2.0 port. • Check the PC’s BIOS setting for USB when using Windows. (Refer to the manual of the PC for details.) |
| 5. Power indicator is flashing orange and white. | • This symptom may occur when the PC is connected to the DisplayPort connector. Use a signal cable recommended by us for the connection. Turn the monitor off and on. • Check the connection and condition of the USB devices connected to the monitor. • Turn off the main power switch on the rear side of the monitor, and then turn it on again. |
| 6. Even when the mouse or keyboard are used, the computer does not return from sleep. | • Turn the setting “On” for “Compatibility Mode” on the “Administrator Settings” menu (see “Compatibility Mode” (page 26)). |
| 7. The PC does not operate with the power supply (USB Power Delivery) from the monitor. | • Check whether the PC has the specifications to operate with a 70 W power supply. • For a 70 W power supply, use the following USB cables. – CC200SS-5A or CC200SSW-5A (Included) – CC100 (Separately sold accessory) |
Attaching/Removing the Stand
Removing the Stand
The stand section of this product can be removed.
Attention
- Do not move the stand up and down after removing it. If you move the stand up and down while it is not attached to the monitor, this may cause damage or injury.
- If you drop the monitor or stand, this may cause damage or injury due to the weight of the monitor and stand.
Raise the height of the monitor to the maximum height.
Attention
If the monitor is not raised to the maximum height, there may be cases when the height of the monitor accidentally changes while removing the stand. This may be the cause of injury or damage.
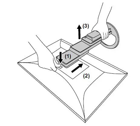
Lay the LCD monitor on a soft cloth spread over a stable and flat surface with the LCD panel surface facing down.
Remove the stand.
As shown in the diagram, press the lock button (1) while holding firmly onto the support section of the stand, and slide the stand in the direction of the pedestal on the bottom (2). Next, pull the stand upwards to remove it (3).
Attaching the Optional Arm
An optional arm (or an optional stand) can be attached by removing the stand section. Please refer to our web site for the supported optional arm (or optional stand). www.eizoglobal.com
Attention
- When attaching an arm or stand, follow the instructions of the respective User’s Manual.
- When using another manufacturer’s arm or stand, confirm the following in advance and select one conforming to the VESA standard.
- Clearance between screw holes: 100 mm × 100 mm
- VESA mount of the arm or stand, external dimensions: 122 mm x 122 mm or less
- Plate thickness: 2.6 mm
- Strong enough to support weight of the monitor unit (excluding the stand) and attachments such as cables.
- When attaching an arm or stand, the installable orientations and movement range (tilt angle) are as follows:
*1 If you position the monitor facing in this direction, clean the power connector and the surrounding area
regularly. If dust, water, oil, or other materials adhere to the device, it can cause a fire.
*2 When installing at a downward angle of between 5° and 45°, the warranty is valid only if an edge support has been attached. Not using an edge support when installed in these positions may lead to the front panel of the monitor coming off.
If you require an edge support, please contact the EIZO group company or distributor in your country or territory. www.eizoglobal.com/contact/ - Connect the cables after attaching an arm or stand.
- Do not move the removed stand up and down. Doing so may result in injury or device damage.
- The monitor, arm, and stand are heavy. Dropping them may result in injury or equipment damage.
- Check periodically that the screws are tight enough. If the screws are not tight enough, the monitor may come unattached. This may be the cause of injury or damage.
Attach the arm or stand to the monitor.
For installation, use commercially available screws that meet the following conditions.
– Screw length: washer thickness (W) + 2.6 mm*1 + 5 mm to 8 mm
Attaching the original stand
- Lay the LCD monitor on a soft cloth spread over a stable and flat surface with the LCD panel surface facing down.
- Remove the fixing screws on the optional arm (or optional stand), and detach the optional arm (or optional stand).
- Attach the original stand.
Insert the four tabs on the stand into the four holes on the back panel (1), and slide the stand towards the upper portion of the monitor (2). The stand clicks when it is attached correctly.
Reference
Connecting Multiple PCs
This product can be connected to multiple PCs and allows you to switch between the connections for display.
Connection examples
Note
- You can select the input signal to display using the operation switch on the front of the monitor. For details, see “2-2. Switching Input Signals” (page 14).
- This product provides a function that automatically recognizes the connector through which PC signals are input, and displays images on the screen accordingly. For details, see “Auto Input Detection” (page 26).
Using the USB Hub Function
This monitor is equipped with a USB hub. It functions as a USB hub when connected to a USB-compatible PC, allowing the connection of peripheral USB devices.
Connection Procedure
- Connect a USB-C cable (CC200SS-5A or CC200SSW-5A).
- If necessary, connect a mouse, keyboard, or other device to the USB downstream port.

Attention
- This function may not work depending on the computer you are using, your OS and your peripheral devices. Contact the manufacturer of each device for information about USB compatibility.
- Even when the monitor is in power saving mode, devices connected to the USB downstream port are operational. Due to this, the power consumption of the monitor varies depending on the connected devices, even in power saving mode.
- When the main power of the monitor is off, a device connected to the USB downstream port will not operate.
- When “Compatibility Mode” (page 26) is set to “Off” and the power of the monitor is turned off, devices connected to the USB downstream port are not operational.
Note
- For PCs that are not equipped with a USB-C connector, use a commercially available USB-A – USB-C converter cable or adapter.
- This product supports USB 3.1 Gen 1. When connecting to peripheral devices that support USB 3.1 Gen 1, high-speed data communication is possible.
Specifications
| LCD Panel | Type | IPS (Anti-Glare) | ||
| Backlight | LED | |||
| Size | 61.1 cm (24.1 inch) | |||
| Resolution | 1920 dots × 1200 lines | |||
| Display Size (H × V) | 518.4 mm × 324.0 mm | |||
| Pixel Pitch | 0.270 mm × 0.270 mm | |||
| Display Colors | 8-bit colors: | 16.77 million colors | ||
| Viewing Angle (H / V, typical) | 178˚ / 178˚ | |||
| Response Time (typical) | Gray-to-gray: | 14 ms (overdrive setting: Off) 5 ms (overdrive setting: Enhanced) | ||
| Video Signals | Input Terminals | DisplayPort (HDCP 1.3 compatible) × 1, HDMI (HDCP 1.4 compatible)*1 × 1, USB-C (DisplayPort Alt Mode, HDCP 1.3 compatible) × 1 | ||
| Digital Scanning Frequency (H / V) | DisplayPort: | 31 kHz to 76 kHz / 59 Hz to 61 Hz, 69 Hz to 71 Hz (at 720 × 400) | ||
| HDMI: | 31 kHz to 76 kHz / 49 Hz to 51 Hz, 59 Hz to 61 Hz, 69 Hz to 71 Hz (at 720 × 400) | |||
| USB-C (DisplayPort Alt Mode): | 31 kHz to 76 kHz / 59 Hz to 61 Hz, 69 Hz to 71 Hz (at 720 × 400) | |||
| Frame Synchronization Mode | 49 Hz to 61 Hz | |||
| Max. Dot Clock | 162 MHz | |||
| USB | Port | Upstream | USB-C (USB 3.1 Gen 1)*2 × 1 | |
| Downstream | USB-A (USB 3.1 Gen 1) × 4 | |||
| Standard | USB Specification Revision 3.1 Gen 1 | |||
| Communication Speed | 5 Gbps (super), 480 Mbps (high), 12 Mbps (full), 1.5 Mbps (low) | |||
| Power Supply | Upstream | USB-C (USB 3.1 Gen 1): | Maximum 70 W (5V/3A, 9V/3A, 12V/3A, 15V/3A, 20V/3.5A) | |
| Downstream | USB-A (USB 3.1 Gen 1): | Maximum 900 mA per port*3 | ||
| Audio | Audio Input Format | DisplayPort: | 2ch linear PCM (32 kHz / 44.1 kHz / 48 kHz / 88.2 kHz / 96 kHz / 176.4 kHz / 192 kHz) | |
| HDMI: | 2ch linear PCM (32 kHz / 44.1 kHz / 48 kHz / 88.2 kHz / 96 kHz / 176.4 kHz / 192 kHz) | |||
| USB-C (DisplayPort Alt Mode): | 2ch linear PCM (32 kHz / 44.1 kHz / 48 kHz / 88.2 kHz / 96 kHz / 176.4 kHz / 192 kHz) | |||
| Speakers | 1 W + 1 W | |||
| Headphones | 2 mW + 2 mW (32 Ω) | |||
| Input Terminals | DisplayPort × 1, HDMI × 1, USB-C (DisplayPort Alt Mode) × 1 (each shared with video signal) | |||
| Output Terminals | Headphone jack × 1 | |||
| Power | Input | 100 – 240 VAC ±10 %, 50 / 60 Hz 1.50 A – 0.65 A |
| Maximum Power Consumption | 146 W or less | |
| Power Save Mode | 0.5 W or less (no USB device connected, “USB” in the “Administrator Settings” menu: Off) | |
| Standby Mode | 0.5 W or less (no USB device connected, default settings) | |
| Physical Specifications | Dimensions | 531.0 mm × 356.8 mm to 551.8 mm × 230.0 mm to 263.7 mm (W × H × D) (Tilt: 35˚) |
| 531.0 mm × 356.2 mm to 538.4 mm × 230.0 mm (W × H × D) (Tilt: 0˚) | ||
| Dimensions (Without Stand) | 531.0 mm × 344.2 mm × 53.7 mm (W × H × D) | |
| Net Weight | Approx. 7.6 kg | |
| Net Weight (Without Stand) | Approx. 4.9 kg | |
| Height Adjustment Range | 195.0 mm (Tilt: 35˚) / 182.2 mm (Tilt: 0˚) | |
| Tilt | Up 35.0˚, down 5.0˚ | |
| Swivel | 344.0˚ | |
| Vertical Rotation | Left 90.0˚, right 90.0˚ | |
| Operating Environmental Requirements | Temperature | 5 ˚C to 35 ˚C |
| Humidity | 20 % to 80 % R.H. (no condensation) | |
| Air Pressure | 540 hPa to 1060 hPa | |
| Transportation / Storage Environmental Requirements | Temperature | -20 ˚C to 60 ˚C |
| Humidity | 10 % to 90 % R.H. (no condensation) | |
| Air Pressure | 200 hPa to 1060 hPa |
- HDMI CEC (or mutual control) is not supported.
- Supports Pin Assignment E. The separately sold accessory CP200 (USB-C – DisplayPort) can be connected to the DisplayPort connector of the PC.
- It is possible to supply power even if the PC and the monitor are not connected by USB.
Accessories
For the latest information about accessories, refer to our web site www.eizoglobal.com.
Appendix
Trademark
The terms HDMI and HDMI High-Definition Multimedia Interface, and the HDMI Logo are trademarks or registered trademarks of HDMI Licensing, LLC in the United States and other countries.
The DisplayPort Compliance Logo and VESA are registered trademarks of the Video Electronics Standards Association.
The SuperSpeed USB Trident Logo is a registered trademark of USB Implementers
Forum, Inc.
The USB Power Delivery Trident Logos are trademarks of USB Implementers Forum,
Inc.
USB Type-C and USB-C are registered trademarks of USB Implementers Forum, Inc.
DICOM is the registered trademark of the National Electrical Manufacturers Association for its standards publications relating to digital communications of medical information.
Kensington and Microsaver are registered trademarks of ACCO Brands Corporation.
Thunderbolt is a trademark of Intel Corporation in the United States and/or other countries.
Microsoft and Windows are registered trademarks of Microsoft Corporation in the United States and other countries.
Adobe is a registered trademark of Adobe Systems Incorporated in the United States and other countries.
Apple, macOS, Mac OS, OS X, Macintosh and ColorSync are registered trademarks of Apple Inc. ENERGY STAR is a registered trademark of the United States Environmental Protection Agency in the United States and other countries.
EIZO, the EIZO Logo, ColorEdge, CuratOR, DuraVision, FlexScan, FORIS, RadiCS, RadiForce, RadiNET, Raptor and ScreenManager are registered trademarks of EIZO Corporation in Japan and other countries.
ColorEdge Tablet Controller, ColorNavigator, EcoView NET, EIZO EasyPIX, EIZO Monitor Configurator, EIZO ScreenSlicer, G-Ignition, i•Sound, Quick Color Match, RadiLight, Re/Vue, SafeGuard, Screen Administrator, Screen InStyle, ScreenCleaner and UniColor Pro are trademarks of EIZO Corporation. All other company names, product names, and logos are trademarks or registered trademarks of their respective owners.
License
The bitmap font used for this product is designed by Ricoh Industrial Solutions Inc.
Copyright © 2021 EIZO Corporation. All rights reserved.
03V28830B1
UM-EV2485
2nd Edition – September, 2021
FlexScan Color LCD Monitor EV2485







*1 If you position the monitor facing in this direction, clean the power connector and the surrounding area


















