Paulmann 944.20 Cable Kit

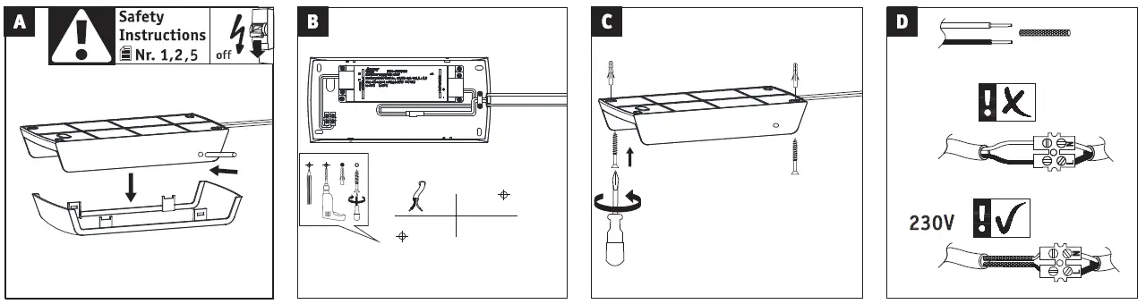
UNPACK

Art.-Nr.:
- 944.20 944.21
- 944.22 944.23
- 944.24 944.25
- (+MA 0326) PTL 07/22
NEED TOOLS

ASSEMBLY



Replaceability: (1) Light source or (4) operating device can be replaced by end users without permanent damage to the luminaire. (2) Light source or (5) operating device can be replaced by a qualified electrician without permanently damaging the luminaire. (3) Light source or (6) operating device is not replaceable, the luminaire must be replaced.

This product contains a light source with energy efficiency class <see above>.


















