RICE LAKE 1280 Enterprise Series Dual AD Scale Card Instruction Manual

The Dual A/D Scale Card (PN 164683) provides two additional scale channels. The 1280 can support up to eight scales. The configuration of each scale is stored both on the card and in the indicators memory. The CPU board will rewrite the calibration to the A/D scale card if replacing or swapping installed cards.
Manuals can be viewed and downloaded from the Rice Lake Weighing Systems website at www.ricelake.com
Warranty information can be found on the website at www.ricelake.com/warranties

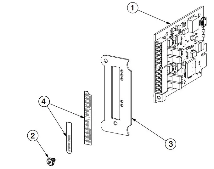
Figure 1. Dual A/D Scale Card Kit

Table 1. Dual A/D Scale Card Kit Parts List
The included parts kit contains items used for installation of the card. Items listed for stud grounding of the shields pertain to the panel mount enclosure. See the 1280 technical manual (PN 167659) for more information on grounding the shield with the cord grip.

Table 2. Parts Kit (PN 163784)
WARNING: Always disconnect power before opening the indicator. Option card is not hot swappable.
CAUTION: Use a wrist strap to ground yourself and protect components from electrostatic discharge (ESD) when working inside the indicator enclosure.
- Open the indicator as instructed in the 1280 technical manual.
- Remove a slot cover plate from the controller assembly to open a slot for the card.
- Remove protective tape from pins J3 on the option card prior to installation. Make sure the pins are clean of any sticky
residue by carefully wiping with rubbing alcohol. - Ensure S1 switch on the card is in the Run position (Figure 2).
- Align the card to the slot; the screw hole in the faceplate of the card should align with the screw hole on the controller assembly.
- Slide the card into the top and bottom grooves of the slot. Push the card until it is securely seated in the back plane.
- Secure with screw 4-40 NC x 1/4 (provided).
- To attach the cable from the scale to the A/D scale card, route the cable through the cord grip.
- For Channel 1, wire the load cell cable from the scale to the connector (from the parts kit) for J1 as shown in Figure 2
and Table 3. - For Channel 2, wire the load cell cable from the scale to the connector (from the parts kit) for J2 as shown in Figure 2
and Table 3.
NOTE: To use a 6-wire load cell cable (with sense wires), remove jumpers JP1 and JP2 before installing the card into the slot. To use 4-wire connections, leave jumpers JP1 and JP2 on. Remove jumpers JP3 and JP4 for 6-wire connections to J2. - When connections are complete, install load cell connector on the A/D scale card.
NOTE: A sealing clip can be installed over the over the connector to provide a hardware seal that allows access while preventing removal of the scale card and connector.
Figure 2. Dual A/D Scale Card

Table 3. Pin Assignments
NOTE: The slot of the controller assembly that is selected for the installation of the card will determine the scale channels that can be associated to a scale number.

Table 4. Associated Scale Channels
12. Use cable ties from the parts kit to secure loose cables inside the enclosure as needed. Ensure no excess or loose cable is left inside the enclosure.
13. Ground the shield cable using the ground washer in the metal cord grip, or use the grounding stud on the enclosure with cable clamp included in the parts kit. See the 1280 technical manual for more information.
14. Tighten cord grips. Ensure cord grip nut is also tight.
15. Reassemble and power the indicator.
16. Press
on the weigh mode screen. The Main Menu displays.
17. Press
for access to the Configuration menu.
NOTE: Access to the Configuration menu may be restricted. Refer to the 1280 technical manual for more information.
18. To configure the scale channel, select
to enter the scales menu.
19. Select the scale number (1-8) to be configured from the selection field drop down list.
20. Select and set the scale to Analog Load Cell Scale.The Select Scale Hardware screen displays.
21. Select
the slot and channel to associate the available hardware for the scale being configured.
22. See the 1280 technical manual for calibration.
LED Status Indicators

Figure 3. Dual A/D Scale Card Faceplate

Table 5. LED Status Lights
Specifications


© Rice Lake Weighing Systems
Specifications subject to change without notice
230 W. Coleman St. • Rice Lake, WI 54868 • USA
U.S. 800-472-6703 • Canada/Mexico 800-321-6703 • International 715-234-9171 • Europe +31 (0)26 472 1319


















