KENPRO KP-100 Electronic Squeeze Keyer Instruction Manual

OPERATING MNUAL FOR KP-100 SQUEEZE KEY
FEATURES:

PRE OPERATION


OPERATION




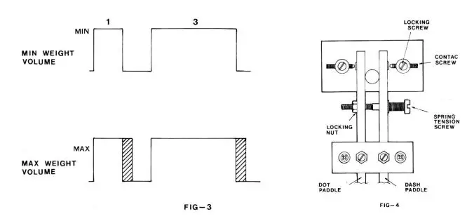
ADJUSTING

SPECIFICATIONS

KENPRO KP-100 Electronic Squeeze Keyer Instruction Manual

OPERATING MNUAL FOR KP-100 SQUEEZE KEY









Download manual
Here you can download full pdf version of manual, it may contain additional safety instructions, warranty information, FCC rules, etc.