MITSUBISHI MSZ-GS24NA-U1 GS Series Wall Mounted Unit Instruction Manual
When installing multi units, refer to the installation manual of the multi unit for outdoor unit installation.
Required Tools for Installation
- Phillips screwdriver: 5/32 in. (4 mm) hexagonal wrench
- Level: Flare tool for R410A
- Scale: Gauge manifold for R410A
- Utility knife or scissors: Vacuum pump for R410A
- 3 in. (75 mm) hole saw: Charge hose for R410A
- Torque wrench Wrench (or spanner): Pipe cutter with reamer
BEFORE INSTALLATION
THE FOLLOWING SHOULD ALWAYS BE OBSERVED FOR SAFETY
- Be sure to read these safety precautions and instructions.
- Be sure to observe the warnings and cautions specified here.
- After reading this manual, be sure to store it with the OPERATING INSTRUCTIONS for future reference.
- Please report to your supply authority or obtain their consent before connecting this equipment to the power supply system
WARNING (Could lead to death or serious injury.)
- Do not install the unit by yourself (user). Improper or incomplete installation could cause fire, electric shock, injury due to the unit falling, or water leakage. Consult a qualified installer or the dealer from whom you purchased the unit.
- Follow the instructions detailed in the installation manual. Incomplete installation could cause fire or electric shock, injury due to the unit falling, or leakage of water.
- When installing the unit, use appropriate protective equipment and tools for safety. Failure to do so could cause injury.
- Install the unit securely in a place that can bear the weight of the unit. If the installation location cannot bear the weight of the unit, the unit could fall causing injury.
- Do not alter the unit. It may cause fire, electric shock, injury or water leakage.
- Perform electrical work according to the installation manual and be sure to use an exclusive circuit. Do not connect other electrical appliances to the circuit. If the capacity of the power circuit is insufficient or there is incomplete electrical work, it could result in a fire or an electric shock.
- Ground the unit correctly. Do not connect the ground wire to a gas pipe, water pipe, lightning rod or telephone ground. Defective grounding could cause electric shock.
- Do not damage the wires. Damaged wires could cause fire.
- Be sure to shut off the main power when setting up the indoor P.C. board or wiring. Failure to do so could cause electric shock.
- Use the specified wires to securely connect the indoor and outdoor units. At-tach the wires firmly to avoid applying stress to the terminal block. Improper connection could cause fire.
- Do not install the unit in a place where flammable gas may leak. If gas leaks and accumulates around the unit, it could cause an explosion.
- Do not use intermediate connection of the power cord or the extension cord. Do not connect many devices to one AC outlet. It could cause a fire or an electric shock.
- Use the parts provided or specified parts for the installation work. The use of defective parts could cause an injury or leakage of water due to a fire, an electric shock, the unit falling, etc.
- When plugging the power supply plug into the outlet, make sure that there is no dust, blockage, or loose parts both in the outlet and on the plug. Verify that the power supply plug is completely in the outlet.
If there is dust, blockage, or loose parts on the power supply plug or the outlet, it could cause electric shock or fire. If loose parts are found on the power supply plug, replace it. - ■ Securely attach the electrical cover to the indoor unit and the service panel to the outdoor unit. If the electrical cover of the indoor unit and/or the service panel of the outdoor unit are not attached securely, dust, water, etc. could collect in the unit and could cause a fire or an electric shock.
- When installing, relocating, or servicing the unit, make sure that no substance other than the specified refrigerant (R410A) enters the refrigerant circuit. Any presence of foreign substance such as air can cause abnormal pressure rise and may result in explosion or injury. The use of any refrigerant other than that specified for the system will cause mechanical failure, system malfunction, or unit breakdown. In the worst case, this could lead to a serious impediment to securing product safety.
- Do not discharge the refrigerant into the atmosphere. Check that the refrigerant gas does not leak after installation has been completed. If refrigerant leaks during installation, ventilate the room. If refrigerant comes in contact with a fire, harmful gas could be generated. If refrigerant gas leaks indoors, and comes into contact with the flame of a fan heater, space heater, stove, etc., harmful gases will be generated.
- Use appropriate tools and piping materials for installation. The pressure of R410A is 1.6 times higher than R22. Not using the appropriate tools and materials, or improper installation could cause the pipes to burst causing an injury.
- When pumping down the refrigerant, stop the compressor before disconnecting the refrigerant pipes. If the refrigerant pipes are disconnected while the compressor is running and the stop valve is open, air could be drawn in and the pressure in the refrigeration cycle could become abnormally high, causing the pipes to burst.
- When installing the unit, securely connect the refrigerant pipes before starting the compressor. If the compressor is started before the refrigerant pipes are connected and the stop valve is open, air could be drawn in and the pressure in the refrigeration cycle could become abnormally high, causing the pipes to burst.
- Fasten a flare nut with a torque wrench as specified in this manual. If fastened too tight, a flare nut could break and cause refrigerant leakage.
- Install the unit according to national wiring regulations.
- When opening or closing the valve below freezing temperatures, refrigerant may spurt out from the gap between the valve stem and the valve body, resulting in injuries.
CAUTION (Could lead to serious injury when operated incorrectly.)
- Depending on the installation area, install a Ground Fault Interrupt (GFI) circuit breaker.
If the Ground Fault Interrupt (GFI) circuit breaker is not installed, an electric shock could occur. - Perform the drainage/piping work securely according to the installation manual.
If there is defect in the drainage/piping work, water could drip from the unit, and damage household items. - Do no touch the air inlet or the aluminum fins of the outdoor unit.
This could cause injury. - Do not install the outdoor unit where small animals may live.
If small animals enter the unit and damage its electrical parts, it could cause a malfunction, some emission, or fire. Keep the area around the unit clean.
SELECTING THE INSTALLATION LOCATION
INDOOR UNIT
- Where airflow is not blocked.
- Where cool (or warm) air spreads over the entire room.
- On a rigid wall to reduce the possibility of vibration.
- Where it is not exposed to direct sunlight. Do not expose to direct sunlight also during the period following unpacking to before use.
- Where it can be easily drained.
- At a distance 3 ft. (1 m) or more away from a TV and radio. Operation of the air conditioner may interfere with radio or TV reception. An amplifier may be required for the affected device.
- In a place as far away as possible from fluorescent and incandescent lights (so the infrared remote control can operate the air conditioner normally).
- Where the air filter can be removed and replaced easily.
- Where it is away from the other heat or steam source.
Note:
Install the indoor unit high on the wall where air can distribute over the entire room.
REMOTE CONTROLLER
- Where it is convenient to operate and easily visible.
- Where children cannot easily touch it.
- Select a position about 4 ft. (1.2 m) above the floor. Check that signals from the remote controller from that position are received by the indoor unit (‘beep’ or ‘beep beep’ receiving tone sounds). Then, attach remote controller holder to a pillar or wall and install wireless remote controller.
Note:
In rooms where inverter type fluorescent lamps are used, the signal from the wireless remote controller may not be received.
OUTDOOR UNIT
- Where it is not overly exposed to strong winds. If the outdoor unit with defrosting function is exposed to a wind, the defrosting time will be longer.
- Where airflow is good and dustless.
- Where neighbours are not annoyed by operation sound or hot (or cool) air.
- Where rigid wall or support is available to prevent the increase of operation sound or vibration.
- Where there is no risk of combustible gas leakage.
- If installing the unit in a location high above the ground, be sure to secure the unit legs.
- Where it is at least 10 ft. (3 m) away from the antenna of TV set or radio. Operation of the air conditioner may interfere with radio or TV reception in areas where reception is weak. An amplifier may be required for the affected device.
- Install the unit horizontally.
- Please install it in an area not affected by snowfall or blowing snow. In areas with heavy snow, please install a canopy, a pedestal and/or baffle boards.
Note:
- It is advisable to make a piping loop near outdoor unit so as to reduce vibration.
- For increased efficiency, install the outdoor unit in a location where continuous direct sunlight or excessive water can be avoided as much as possible.
Note:
When operating the air conditioner in low outside temperature, be sure to follow the instructions described below.
- Never install the outdoor unit in a place where its air inlet/outlet side may be exposed directly to wind.
- To prevent exposure to wind, install the outdoor unit with its air inlet side facing the wall and a baffle board on the air outlet side.
Avoid the following places for installation where air conditioner trouble is liable to occur. - Where flammable gas could leak.
- Where there is an excessive amount of machine oil in the air.
- Where oil is splashed or where the area is filled with oily smoke (such as cooking areas and factories, in which the properties of plastic could be changed and damaged).
- Salty places such as the seaside.
- Where sulfide gas is generated such as a hot spring, sewage, waste water.
- Where there is high-frequency or wireless equipment.
- Where there is emission of high levels of VOCs, including phthalate compounds, formaldehyde, etc., which may cause chemical cracking.
Electrical specifications
| MODEL | INDOOR | MSZ-GS24NA MSY-GS24NA | ||
| OUTDOOR | MUZ-GS24NA(H) MUY-GS24NA | MUZ-GS24NAHZ | ||
| INDOOR UNIT | ||||
| Power supply (V, PHASE, Hz) | 208/230, 1, 60 | |||
| Min. Circuit Ampacity | (A) | 1.0 | ||
| Fan motor (F.L.A.) | (A) | 0.73 | ||
| OUTDOOR UNIT | ||||
| Power supply (V, PHASE, Hz) | 208/230, 1, 60 | |||
| Max. Fuse size (time delay) | (A) | 20 | 20 | |
| Min. Circuit Ampacity | (A) | 18 | 18 | |
| Fan motor (F.L.A.) | (A) | 0.93 | 0.93 | |
| Compressor | (R.L.A) (A) | MSZ | 13.6 | 13.6 |
| MSY | 13.6 | – | ||
| (L.R.A) (A) | MSZ | 17.0 | 17.0 | |
| MSY | 17.0 | – | ||
| Control voltage | Indoor unit – Remote controller: (Wireless) Indoor unit – Outdoor unit: DC12-24 V (Polar) | |||
| Pipe | Outside diameter | Minimum wall thickness | Insulation thickness | Insulation material |
| inch (mm) | ||||
| For liquid | 1/4 (6.35) | 0.0315 (0.8) | 5/16 (8) | Heat resistant foam plastic 0.045 Specific gravity |
| For gas | 5/8 (15.88) | 0.0394 (1.0) | 5/16 (8) | |
| Limits | |
| Pipe length | 100 ft. (30 m) max. |
| Height difference | 50 ft. (15 m) max. |
| No. of bends | 10 max. |
| Pipe length | Up to 25 ft. (7.5 m) | No additional charge is required. |
| Exceeding 25 ft. (7.5 m) | Additional charge is required. (Refer to the table below.) | |
| Refrigerant to be added | MSZ-GS24NA MSY-GS24NA | 1.08 oz. (20 g/m) |
INSTALLATION DIAGRAM
ACCESSORIES
Check the following parts before installation.
| (1) | Installation plate | 1 |
| (2) | Attachment screws for the installa- tion plate4 × 25 mm | 7 |
| (3) | Wireless remote controller | 1 |
| (4) | Felt tape(For left or left-rear piping) | 1 |
| (5) | Remote controller holder | 1 |
| (6) | Screws for the remote controller holder3.5 × 16 mm (Black) | 2 |
| (7) | Battery (AAA) for (3) | 2 |
| (8) | Air cleaning filter | 2 |
FIELD-SUPPLIED PARTS
| (A) | Indoor/outdoor unit connecting wire *1 | 1 |
| (B) | Extension pipe | 1 |
| (C) | Wall hole sleeve | 1 |
| (D) | Wall hole cover | 1 |
| (E) | Pipe attachment strap | 2 to 5 |
| (F) | Screw for (E) 4 × 20 mm | 2 to 5 |
| (G) | Piping tape | 1 |
| (H) | Putty | 1 |
| (I) | Drain hose(or soft PVC hose, 19/32 in. [15 mm] inner diameter or hard PVC pipe VP16) | 1 or 2 |
| (J) | Refrigerant oil | 1 |
| (K) | Power supply cord *1 | 1 |
Note:
*1 Place indoor/outdoor unit connecting wire (A) and power supply cord (K) at least 3 ft. (1 m) away from the TV antenna wire.
Use the wall hole sleeve (C) to prevent indoor/outdoor connecting wire (A) from contacting metal parts in the wall and to protect the wiring from rodents.


Outdoor unit installation

Units should be installed by licensed contractor according to local code requirements.
Note:
- The dimensions indicated in the arrows (⇔) above show the required space to guarantee performance of the air conditioner. Install the outdoor unit where the maximum possible space can be provided, considering later relocation, services, or repairs.
- The cooling/heating performance and the efficiency of power usage may fall about 10% at the place where short cycle is likely occur due to poor ventilation. Installing the air outlet guide (optional) can improve performances.
- If air from the outlet blows against the wall, it may cause stains on the wall.

Drain piping for outdoor unit
Install the unit horizontally.
Do not use drain socket in cold regions. Drain may freeze and make the fan stop.
The outdoor unit produces condensate during the heating operation. Select the installation place to ensure to prevent the outdoor unit and/or the grounds from being wet by drain water or damaged by frozen drain water.
INDOOR UNIT INSTALLATION
ATTACHING THE INSTALLATION PLATE
- Find a stud in the wall to attach installation plate (1) horizontally by tightening the fixing screws (2) firmly.
- To prevent installation plate (1) from vibrating, be sure to install the attachment screws in the holes indicated in the illustration. For added support, additional screws may also be installed in other holes.
- When the knockout is removed, apply vinyl tape to the knockout edges to prevent damaging the wires.
- When the indoor unit is to be attached to a concrete wall using recessed bolts, secure installation plate (1) using 7/16 in. x 13/16 in. · 7/16 in. x 1 in. (11 mm × 20 mm · 11 mm × 26 mm) oval hole (17-3/4 in. [450 mm] pitch).
- If the recessed bolt is too long, change it for a shorter one (field-supplied).

DRILLING
- Determine where the holes will be located on the wall.
- Drill a ø 3 in. (75 mm) hole. The outdoor side should be 6/32 to 9/32 in. (5 to 7 mm) lower than the indoor side.
- Insert wall hole sleeve (C).

CONNECTING WIRES FOR INDOOR UNIT
Note:
When the indoor unit is powered from the outdoor unit, depending on local code, a disconnect switch needs to be installed to a power supply circuit.
- Remove the panel assembly. (Refer to 5-1.)
- Place the upper part of the indoor unit on the installation plate.
- Remove corner box R and electrical cover.
- Remove display panel, conduit cover and conduit plate.
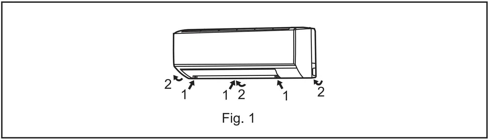
- Attach conduit pipe (for rear piping) / elbow joint (for right, left, or downward piping) to conduit plate with lock nut. The thread of the installed conduit pipe / elbow joint appearing inside should be less than 3/8 in. (10 mm). (Fig. 1) Elbow joint should appear less than 1-3/16 in. (30 mm) outside. (Fig. 2)


- Process the end of ground wire (Fig. 3). Connect it to the ground terminal of electrical parts box.

Fig. 3- Make ground wire a little longer than others. (More than 2-3/8 in. [60 mm])
- Process the end of indoor/outdoor unit connecting wire (A) (Fig. 3). Attach it to the terminal block. Be careful not to make mis-wiring. Attach the wire to the terminal block securely so that its core cannot be seen, and no external force affects the connecting section of the terminal block.
- Firmly tighten the terminal screws. After tightening, verify that the wires are tightly fastened.
- Reinstall conduit plate, conduit cover and display panel.
- According to the piping direction, remove the shaded part of the corner box L (Fig. 4) or corner box R (Fig. 5). Reinstall electrical cover, corner box R and panel assembly.



- Connect wires to the appropriate terminals
- For future servicing, leave some slack in the connecting wires
Remark:
- A disconnect switch should be required. Check the local code.
- Use a ring tongue terminal in order to connect a ground wire to terminal.

PIPE FORMING AND DRAIN PIPING
PIPE FORMING
- Place the drain hose below the refrigerant piping.
- Make sure that the drain hose is not crowded or bent.
- Do not pull the hose when applying the tape.
- When the drain hose passes the room, be sure to wrap it with insulation material (fieldsupplied).

Note:
Make sure not to damage the cover of refrigerant pipe when attaching it back on with screws.
Left or left-rear piping

Note:
Be sure to reattach the drain hose and the drain cap if the piping is being installed on left or bottom left of unit, otherwise, water could drip down from the drain hose.
- Place the refrigerant piping and the drain hose together, then firmly apply felt tape (4) from the end.
Felt tape (4) overlap width should be 1/3 the tape width. Use a bandage stopper at the end of felt tape (4). - Pull out the drain cap at the back right of the indoor unit. (Fig. 1)

- Hold the convex section at the end and pull the drain cap.
- Pull out the drain hose at the back left of the indoor unit. (Fig. 2)

- Hold the claw marked by the arrows and pull out the drain hose forward.
- Put the drain cap into the section to which the drain hose is to be attached at the rear of the indoor unit. (Fig. 3)

- Insert a screwdriver into the hole on the cap and insert the cap fully into the drain pan.
- Insert the drain hose fully into the drain pan at the back right of the indoor unit. (Fig. 4)

- Check if the hose is hooked securely to the projection of its inserting part at the drain pan.
- Insert the drain hose into wall hole sleeve (C), and attach the upper part of indoor unit onto the installation plate (1). Then, shift the indoor unit completely to the left to make placing the piping in the back of the unit easier.
- Cut out two pieces of cardboard from the shipping box (use any two pieces of the four pieces), roll each piece, hook them onto the back rib, and use them as spacer to lift the indoor unit. (Fig. 5)

- Connect the refrigerant piping with the extension pipe (B).
- Attach the lower part of the indoor unit into the installation plate (1).
Rear or bottom piping

- Place the refrigerant piping and the drain hose together, then firmly apply piping tape (G) from the end.
- Insert the piping and the drain hose into the wall hole sleeve (C), and attach the upper part of the indoor unit on the installation plate (1).
- Check if the indoor unit is attached securely on the installation plate (1) by moving the unit to left and right.
- Attach the lower part of the indoor unit into the installation plate (1).
Right piping

Note:
Before performing the following, make sure that wiring is completed, and the conduit cover is installed. (Refer to 2-3.)
- Place the refrigerant piping and the drain hose together, shift them to left side of the unit, and then firmly apply piping tape (G) from the end.
- Insert the piping and the drain hose into the wall hole sleeve (C), and attach the upper part of the indoor unit on the installation plate (1).
- Check if the indoor unit is attached securely on the installation plate (1) by moving the unit to left and right.
- Attach the lower part of the indoor unit into the installation plate (1).
DRAIN PIPING

- If the extension drain hose has to pass through a room, be sure to wrap it with insulation (field-supplied).
- The drain hose should point downward for easy drain. (Fig. 1)
- If the drain hose provided with the indoor unit is too short, connect it with a fieldsupplied drain hose (I). (Fig. 2)
- When connecting the drain hose to a hard vinyl chloride pipe, be sure to insert it securely into the pipe. (Fig. 3)
Do not put the drain pipe directly in a drainage ditch where Ammonia or Sulphuric gas may be generated. The evaporated corrosive gas may return to the indoor side through drain pipe and this may cause an unpleasant odor and corrosion on Heat exchanger may occur.
Do not make drain piping as shown below.

OUTDOOR UNIT INSTALLATION
CONNECTING WIRES FOR OUTDOOR UNIT
- Remove the service panel.
- Remove the conduit cover.
- Attach the conduit connectors to the conduit plate with lock nuts then secure it against unit with screws.
- Connect the ground wires of indoor/outdoor unit connecting wire (A) and power supply cord (K) to the TB support.

- Loosen the terminal screws, then attach indoor/outdoor unit connecting wire (A) and power supply cord (K) from the indoor unit correctly to the terminal block. Attach the wires to the terminal block securely so that the cores cannot be seen, and no external force affects the connecting section of the terminal block.
- Firmly tighten the terminal screws. After tightening, verify that the wires are tightly fastened.
- Install the conduit cover.
- Install the service panel securely.

FLARE CONNECTION
- Cut the copper pipe as straight as possible with a pipe cutter. (Fig. 1, 2)

- Remove all burrs from the cut section of the pipe, ensuring that precautions are taken to avoid getting metal shavings into the piping. (Fig. 3)

- Remove flare nuts attached to indoor and outdoor units, then put them on pipe.
- Flaring work (Fig. 4, 5). Firmly hold copper pipe in the dimension shown in the table. Select A inch (mm) from the table according to the tool you use.

- Check
- Compare the flared work with Fig. 6.

- If flare is defective, cut off the section and repeat procedure
- Compare the flared work with Fig. 6.
| Pipe diameter inch (mm) | Binch (mm) | A inch (mm) | Tightening torque | |||
| Clutch type tool for R410A | Clutch type toolfor R22 | Wing nut type tool for R22 | ft-lb (kgf•cm) | N•m | ||
| ø 1/4 (6.35) | 21/32(17) | 0 to 0.02(0 to 0.5) | 0.04 to 0.06 (1.0 to 1.5) | 0.06 to0.08(1.5 to 2.0) | 10 to 13(140 to 180) | 13.7 to 17.7 |
| ø 3/8 (9.52) | 7/8 (22) | 25 to 30(350 to 420) | 34.3 to 41.2 | |||
| ø 1/2 (12.7) | 1-1/32 (26) | 0.08 to0.10(2.0 to 2.5) | 36 to 42(500 to 575) | 49.0 to 56.4 | ||
| ø 5/8 (15.88) | 1-5/32 (29) | 54 to 58(750 to 800) | 73.5 to 78.4 | |||
PIPE CONNECTION
- Fasten flare nut with a torque wrench as specified in the table above.
- When fastened too tight, flare nut may eventually break and cause refrigerant leakage.
- Be sure to wrap insulation around the piping. Direct contact with the bare piping may result in burns or frostbite.
Indoor unit connection
Connect both liquid and gas piping to indoor unit.

- Apply a thin coat of refrigeration oil (J) on the flared ends of the pipes. Do not apply refrigeration oil on screw threads. Excessive tightening torque will result in damage on the screw.
- To connect, first align the center, then tighten the first 3 to 4 turns of flare nut by hand.
- Use tightening torque table in (3-2.) as a guideline for indoor unit side joints, and tighten using two wrenches. Excessive tightening damages the flare section.
Outdoor unit connection
Connect pipes to stop valve pipe joint of the outdoor unit following the same procedure detailed in Indoor unit connection.

- For tightening, use a torque wrench or spanner.
WARNING
When installing the unit, securely connect the refrigerant pipes before starting the compressor.
INSULATION AND TAPING
- Cover piping joints with pipe cover.
- For outdoor unit side, insulate the piping, including valves.
- Apply piping tape (G) starting from the connection on the outdoor unit.
- When piping has to be installed through a ceiling, closet or where the temperature and humidity are high, use additional field-supplied insulation to prevent condensation.
PURGING PROCEDURES, LEAK TEST, AND TEST RUN
PURGING PROCEDURES AND LEAK TEST
- Remove service port caps from stop valves on both sides of refrigerant lines. (The stop valves are fully closed when shipped.) Leave closed.
- Connect gauge manifold to ports of stop valves.

- Evacuate the system to 4000 microns from both service valves. System manifold gauges must not be used to measure vacuum. A micron gauge must be used at all times. Break the vacuum with Nitrogen(N2) into the discharge service valve to 0 PSIG.
- Evacuate the system to 1500 microns. Break the vacuum with Nitrogen(N2) into the discharge service valve to 0 PSIG.
- Evacuate the system to 500 microns.
- Close gauge manifold valves, stop the pump, and conduct a 30 minute rise test.
- System should hold 500 microns for a minimum of 1 hour.
- Fully open the valve stem of all stop valves on both sides of gas pipe and liquid pipe by the hexagonal wrench. If the valve stem hits the stopper, do not turn it any further.
Operating without fully opening lowers the performance and this causes trouble. - Refer to 1-3 and charge the prescribed amount of additional refrigerant if needed. Be sure to charge slowly with liquid refrigerant. Otherwise composition of the refrigerant in the system may be changed and affect performance of the air conditioner.
- Remove gauge manifolds and replace service port caps and tighten.
- Leak test
TEST RUN
- Insert power supply plug into the power outlet and/or turn on the breaker.
- Press the E.O. SW once for COOL, and twice for HEAT (only MSZ series) operation. Test run will be performed for 30 minutes. If the upper operation indicator light blinks every 0.5 seconds, inspect the indoor/outdoor unit connecting wire (A). After the test run, emergency COOL mode (75°F [24°C] COOL) will start.

- To stop operation, press the E.O. SW several times until all LED lamps turn off. Refer to operating instructions for details.
Checking the remote (infrared) signal reception Press the OFF/ON button on the remote controller and listen for an audible indicator from the indoor unit. Press the OFF/ON button again to turn the air conditioner off.
- Once the compressor stops, the restart preventive device operates so the compressor will not operate for 3 minutes to protect the air conditioner.
AUTO RESTART FUNCTION
This product is equipped with an auto restart function. When the power supply is cut off during operation, such as during blackouts, the function automatically starts operation in the previous setting once the power supply is resumed. (Refer to the operating instructions for details.)
Caution:
- After test run or remote signal reception check, turn off the unit with the E.O. SW or the remote controller before turning off the power supply. If this procedure is not performed, the unit will automatically begin operation when power supply is resumed.
To the user
- After installing the unit, explain to the user about auto restart function.
- If auto restart function is unnecessary, it can be deactivated. Consult the service representative to deactivate the function. Refer to the service manual for details
EXPLANATION TO THE USER
Using the OPERATING INSTRUCTIONS, explain to the user how to use the air conditioner (the remote controller, removing the air filters, placing or removing the remote controller from the remote controller holder, cleaning methods, precautions for operation, etc.)
- Recommend that the user read the OPERATING INSTRUCTIONS carefully.
RELOCATION AND MAINTENANCE
REMOVING AND INSTALLING THE PANEL ASSEMBLY
Removal procedure (Fig. 1) 
- Remove the three screws that attach the panel assembly.
- Remove the panel assembly. Be sure to remove its bottom end first.
Installation procedure (Fig. 2)
- Install the panel assembly following the removal procedure in reverse.
- Be sure to press the positions as indicated by the arrows in order to attach the assembly completely to the unit.
- Do not hold the A part when installing/removing or carrying the panel, or the panel might be damaged.

REMOVING THE INDOOR UNIT
Remove the bottom of the indoor unit from the installation plate.
When releasing the corner part, release both left and right bottom corner part of indoor unit and pull it downward and forward as shown in the figure on the right.

If the above method cannot be used
Remove the panel. Then, insert hexagonal wrenches into the square holes on the left and right sides of the unit and push them up as shown in the following figure. The bottom of the indoor unit lowers and releases the hooks.

PUMPING DOWN
When relocating or disposing of the air conditioner, pump down the system following the procedure below so that refrigerant is not released into the atmosphere.
- Connect the gauge manifold valve to the service port of the stop valve on the gas pipe side of the outdoor unit.
- Fully close the stop valve on the liquid pipe side of the outdoor unit.
- Close the stop valve on the gas pipe side of the outdoor unit almost completely so that it can be easily closed fully when the pressure gauge shows 0 psi [Gauge] (0 Mpa).
- Start the emergency COOL operation.
To start the emergency operation in COOL mode, disconnect the power supply plug and/or turn off the breaker. After 15 seconds, connect the power supply plug and/or turn on the breaker, and then press the E.O. SW once. (The emergency COOL operation can be performed continuously for up to 30 minutes.) - Fully close the stop valve on the gas pipe side of the outdoor unit when the pressure gauge shows (0.1 to 0 psi [Gauge] (0.05 to 0 Mpa)).
- Stop the emergency COOL operation.
To stop operation, press the E.O. SW several times until all LED lamps turn off. Refer to operating instructions for details.
WARNING
When the refrigeration circuit has a leak, do not execute pump down with the compressor.
When pumping down the refrigerant, stop the compressor before disconnecting the refrigerant pipes. The compressor may burst if air etc. get into it
- Connect the INTERFACE/CONNECTOR CABLE to the Indoor electronic control P.C. board of the air conditioner with the connecting cable.
- Cutting or extending the connecting cable of the INTERFACE/CONNECTOR CABLE results in defects in connecting.
Do not bundle the connecting cable together with power supply cord, indoor/outdoor connecting wire, and/or earth wire. Keep as much distance as possible between the connecting cable and those wires. - The thin part of the connecting cable should be stored and placed where customers cannot touch it
- Remove the panel and the lower right corner part.
- Open the cover of the indoor control P.C. board.
- Join the connecting cable to CN105 on the indoor control P.C. board.
- Hook the connecting cable as shown in the figure.
- Attach the cable clamp provided with Interface to the thick part of the connecting cable with a screw 4×16, then fit the cable into the ribs as shown in the figure.
- Close the cover of the indoor control P.C. board. Be careful not to catch the thin part of the connecting cable in the cover. Reinstall the panel and the lower right corner part.
WARNING
Fix the connecting cable at the prescribed position securely. Incorrect installation may cause electric shock, fire, and/or malfunction.
HEAD OFFICE: TOKYO BUILDING, 2-7-3, MARUNOUCHI, CHIYODA-KU, TOKYO 100-8310, JAPAN


































