DOMUS LINE MISS D-M Accessori Led

SAFETY INSTRUCTIONS
- Protection class III device. Power must be supplied by a safe power supply.
- Photobiological safety: The device belongs to the risk 0 group (EXEMPT) in accordance with the EN62471.
- The product must be disposed of separately from urban waste, delivering it to the collection centres established by the prevailing standard. Adequate sorted waste collection contributes to preventing negative effects on the environment and health and favours reuse and/or recycling materials. Incorrect disposal of the product implies the application of the administrative sanctions envisaged by the prevailing regulation.
- Device only for indoor installation.
WARNING:
Safety is guaranteed if these instructions are followed and therefore they must be kept. Installation may require the involvement of qualified personnel. Before proceeding with installation of the device ensure that the environmental conditions are in compliance with and suitable for the product characteristics. Before any operation on the device disconnect mains power.
INSTALLATION


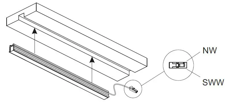
The pictures 1 and 2 represent some examples of installation of MISS D-M. The quotas are indicative because they can change according to the application and to the material from which the plan of installation is composed. The two examples differentiate themselves for the position of the exit hole of the cable, nevertheless it is possible make this hole also in other positions according to the demand of the customer and to the type of application. For installations with the power cord in radial position to drill a hole on the ø ≥ 8mm mounting plan as shown in the example in Figure 1. In terms of specific requirements, it is possible to drill the power cable outlet hole in other positions, provided they do not affect the integrity of the cable and/or connector installed on it. Feed the power cable into the hole and install the lighting profile by applying light pressure until it is seated in the recess, as shown in figure 3.

CONNECTING THE DEVICE TO THE POWER SUPPLY Tunable White dynamic light configuration D-MOTION

- Connect the MISS D-M power supply cable to one of the light colour dynamic adjustment systems D-MOTION sold separately and with power at least 10% greater than the total load. For the total load calculation check plate data printed on the product label.
- For installation and operation of the light colour dynamic adjustment system see the specific item’s manual.
- Then connect the light colour dynamic adjustment system to a safe power supply with 24Vdc stabilised voltage (sold separately) and with power at least 10% higher than the total load. For the total load calculation check plate data printed on the product label.
- If more than one device must be connected to the power supply unit ensure that the total sum of the power absorbed by the devices (check the plate data shown on the product label) does not exceed the maximum power permitted both by the dynamic adjustment system and by the Converter.
WARNING
- The LED module of these devices is not replaceable.
- The external flexible cable is not replaceable.
- In case of failure it must be entirely replaced the entire unit.
WARRANTY
DOMUS Line guarantees the product only if powered with a Converter supplied by us. The warranty’s general terms and conditions for this device are available at www.domusline.com
CAUTION
USE ONLY 24Vdc CLASS 2 POWER UNIT

















