LANCOM OX-6400 High-Speed Wi-Fi 6 and PoE Passthrough In Outdoor Areas

Mounting

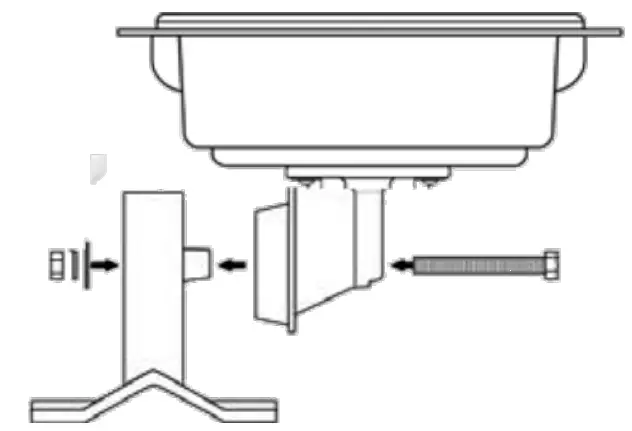
Screw the connector flange ② to the back of the housing with the
four screws and their washers.
When fastening the clamp profile ③, please pay attention to tighten the screws equally with a maximum torque of 7 Nm!
Wall mounting
Use the mounting arm ① as a template. Fix the mounting arm to the wall with the supplied screws and dowling plugs.
Attach the access point with the connector flange ② to the mounting arm ①. Use the M8 x 110 bolt with spring locking washer, washer and nut.”
Pole mounting
Place the clamp profile ③ around the pole. Screw the clamp profile onto the mounting arm with the supplied screws.
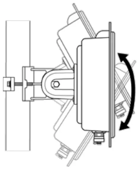
The main beam direction of the integrated antenna can be adjusted by tilting the access point up or down by rotating the connection flange about the mounting arm.
![]() | Installing access points and/or external antennas without adequate lightning protection can lead to serious damage to the devices and/or to the related network infrastructure. |

④ ETH1 (PoE), ETH2 interfaces
The device is simultaneously supplied with power via the ETH1 (PoE) connection. To do this, plug the supplied waterproof network cable into the ETH1 (PoE) port and screw the cable carefully. Connect the other end of the network cable to a free PoE-capable network socket of your local network or with a PoE injector. Connect the ETH2 interface optionally to a device to be supplied with power via PoE passthrough.
⑤ Reset button (part of the LED block)
To restore the device to its default configuration, keep the reset button on the device pressed until the LEDs on the device go out. The following automatic restart restores the default configuration to the device.
⑥ Grounding
Screw one end of the green/yellow grounding wire to the housing and attach the other end to a suitable ground.
![]() | Please observe the following when setting up the device
|
Before initial startup, please make sure to take notice of the information regarding the intended use in the enclosed installation guide!
Operate the device only with a professionally installed power supply at a nearby power socket that is freely accessible at all times.

| ① Power | |
| Off | Device switched off |
| Green, permanently | Device operational, resp. device paired / claimed and LANCOM Management Cloud (LMC) accessible |
| 1x green inverse blinking* | Connection to the LMC active, pairing OK, device not claimed |
| 2x green inverse blinking* | Pairing error, resp. LMC activation code not available |
| 3x green inverse blinking* | LMC not accessible, resp. communication error |
| ② ETH1 (PoE) / ETH2 | |
| Off | No networking device attached |
| Green, permanently | Connection to network device operational, no data traffic |
| Green, flickering | Data traffic |
| ③ WLAN1 / WLAN2 | |
| Off | No Wi-Fi network defined or Wi-Fi module deactivated. The Wi-Fi module is not transmitting beacons. |
| Green | No Wi-Fi network defined or Wi-Fi module deactivated. The Wi-Fi module is not transmitting beacons. |
| Green | At least one Wi-Fi network is defined and Wi-Fi module activated. The Wi-Fi module is transmitting beacons. |
| Green, flashing inverse | Number of flashes = number of connected Wi-Fi stations |
| Green, blinking | DFS scanning or other scan procedure |
| Hardware | |
| Power supply | Via Power-over-Ethernet compliant to IEEE 802.3at/bt |
| Housing | Robust metal housing, protection class IP 67, for wall and pole mounting. Note: For installation in salt water environments please use a suitable outer housing. Dimensions 255 × 250 × 80 mm (length x width x depth) |
| Wi-F | |
| Frequency bands | 2.4 GHz and 5 GHz, 2,400-2,483.5 MHz (ISM) and 5,150-5,725 MHz (restrictions vary between countries) |
| Antenna gain | Up to 9 dBi at 2.4 GHz and up to 10 dBi at 5 GHz |
| Minimum transmission power | Transmission-power reduction in software by 1 dB steps to min. 0.5 dBm |
| Radio channels 2.4 GHz | Up to 13 channels, max. 3 non-overlapping (2.4-GHz band) |
| Radio channels 5 GHz | Up to 26 non-overlapping channels (channels available vary according to country regulations; DFS for automatic dynamic channel selection required) |
| Interfaces | |
| ETH1 (PoE) | 10 / 100 / 1,000 / 2,500 Mbps, PoE In 802.3at/bt |
| ETH2 | 10 / 100 / 1,000 / 2,500 Mbps, PoE Passthrough (if powered via ETH 1 with PoE 802.3bt) |
| Bluetooth Low Energy | BLE 5.1 (internal antenna) |
| Declaration of conformity | |
| Hereby, LANCOM Systems GmbH | Adenauerstrasse 20/B2 | D-52146 Wuerselen, declares that this device is in compliance with Directives 2014/30/EU, 2014/53/EU, 2014/35/EU, 2011/65/EU, and Regulation (EC) No. 1907/2006. The full text of the EU Declaration of Conformity is available at the following Internet address: www.lancom-systems.com/doc | |
| Package content | |
| Cables | Water-resistant, UV-resistant Ethernet cable with screw connector, 15 m |
| Documentation | Quick Reference Guide (DE/EN), Installation Guide (DE/EN) |
| Mounting kit | Equipment for wall and pole mounting, screws included |
| Covering cap | Ensures that the unit remains sealed in case an Ethernet port is unused |
| Grounding cable | To avoid electrostatic charge |





















