PATIO HEATER EOLO ON STAND
PH513AC
Original Instructions
Package contents
![]() | ![]() |
![]() | ![]() |
SAFETY INSTRUCTIONS
Read the enclosed safety warnings, the additional safety warnings and the instructions. Failure to follow the safety warnings and the instructions may result in electric shock, fire and/or serious injury.
Save the safety warnings and the instructions for future reference.
The following symbols are used in the user manual or on the product:
Read the user manual.
Denotes risk of personal injury, loss of life or damage to the heater in case of nonobservance of the instructions in this manual.
Risk of electric shock.
Caution: hot surface!
Do not cover the device.
Earthing symbol. This appliance is classified as protection class I and must be connected to an earthed mains socket.
The product is in accordance with the applicable safety standards in the European directives.
GENERAL SAFETY WARNINGS
THESE INSTRUCTIONS SHOULD BE READ CARE FULLY AND RETAINED FOR FUTURE REFERENCE,
The manufacturer cannot be held liable for any dam ages caused by failure to observe these instructions. This appliance can be used by children aged from 8 years and above and persons with reduced physical, sensory or mental capabilities or lack of experience and knowledge if they have been given supervision or instruction concerning use of the appliance in a safe way and understand the hazards involved.
Children shall not play with the appliance. Cleaning and user maintenance shall not be made by children without supervision.
Children of less than 3 years should be kept away unless continuously supervised. Children aged from 3 years and less than 8 years shall only switch on/ off the appliance provided that it has been placed or installed in its intended normal operating position and they have been given supervision or instruction concerning use of the appliance in a safe way and understand the hazards involved. Children aged from 3 years and less than 8 years shall not plug in, regulate and clean the appliance or perform user maintenance. CAUTION — Some parts of this product can become very hot and cause burns. Particular attention has to be given where children and vulnerable people are present.
IMPORTANT SAFETY INSTRUCTIONS
READ CAREFULLY-The infrared heater is designed for safe operation. Nevertheless, installation, maintenance and operation of the heater can be dangerous. Observing the following procedures will reduce the risk of fire, electric shock, injury to persons and keep installation time to a minimums.
Save these instructions for future used
- Read all instruction before using this heater.
- Remove the unit from its packaging and check to make sure it is in good condition before using.
- Do not let children play with parts of package (such as plastic bags).
- Check the household voltage to ensure it matches the heater’s rated specification.
- Check the power cord and plug carefully before used, to make sure that they are not damaged.
- Before unplugging the power cord, be sure to turn off the power, when energizing the unit, be sure your hands are dry to prevent from electric shock.
- Only use the terrace radiator outdoors or in a large open space. Keep all flammable objects such as tarpaulins, parasols, branches, furniture, curtains, paper etc. out of the way of the device (at least 1 meter also if they are if they are non-stationary objects!). The distance to the walls must be at least 1 meter. The head must be located at least 180 cm above the ground. If you place the device under a roof, there must be a space of at least 50 cm between the cap of the terrace radiator and the (non-flammable) ceiling. With a flammable roof (wood, plastic, tarpaulin etc.) this distance must be at least 1 meter. Always ensure good ventilation!
- Do not locate the device just above or below a wall socket (not in the immediate vicinity).
- The terrace heater is only intended for household use.
You should not therefore use it on construction sites, in glasshouses, barns or stalls etc., even if they are largely open.
There is usually too much flammable material there. - Do not use this terrace heater as sauna heating or as a permanent space or room heater.
- Do not use this terrace heater in a kennel or any other location where animals are present.
- Do not use near or in the immediate vicinity of a bath or swimming pool or any source of liquid.
Despite the fact that the device is splash proof, you need to be careful with water. Ensure that it cannot fall into the water and do not expose it to powerful jets of water. Do not touch it with wet hands and do not place the device in the area immediately around a bath, washroom, swimming pool or other water supply, as this is dangerous. - To protect against electric shock, do not immerse cord or plug in water or any other liquid.
- Do not insert or allow foreign objects to enter any ventilation or exhaust opening, as this may cause an electric shock, fire or damage to the heater.
- Ensure there is sufficient light. The switches on the device must be properly visible from a distance of 1 meter.
- Always unplug the heater when not in use. Never leave the device unsupervised when in use, but switch it off and unplug. Do not use the device with a programmer, timer or any other device that switches the device on automatically.
- Do not use the heater with an external voltage regulator such as dimmer, speed controller etc.
This produces an electrical hazard. - Make sure that the cord does not hang over (sharp) edges, does not make strong curves, does not touch hot surfaces. Do not wrap the cord around the device.
- Do not allow cord to overhang the counter top where it can be easily pulled by children.
- Do not put fingers or foreign objects into the grill while in operation.
- Do not leave the appliance unattended when in use.
- This heater is not intended for use in bathrooms, laundry and similar indoor locations, never locate the heater where it may fall into a bathtub or other water container.
- No liability can be accepted for any damage caused by non-compliance with these instructions or any other improper use or mishandling.
- This appliance can be used by children aged from 8 years and above and persons with reduced physical, sensory or mental capabilities or lack of experience and knowledge if they have been given supervision or instruction concerning use of the appliance in a safe way and understand the hazards involved.
Children shall not play with the appliance.
Cleaning and user maintenance shall not be made by children without supervision. - If the device for any reason produces cracks or breaks, or if you establish any imperfection or interruption to the aluminium casing or any other part, immediately stop the operation of the device and take the plug from the socket.
- If the power cord is damaged in any way, it must be replaced by the manufacturer or its service agent or a similarly qualified person in order to avoid a hazard.
- To prevent overheating of this appliance, keep the air inlets and outlets clean and free of anything that may cause blockage.
Check all inlets and outlets from time to time to ensure it is clear of any dirt or dust accumulation. DO NOT COVER.
The warning label not to cover the device must also be placed in a clearly visible location after installation: it should not therefore be on the back. - Parts of the heater may exceed 200°C, contact with the heating tube, reflector, or metal parts near the heating tube, may cause severe BURNS. To avoid burns, do not let bare skin touch the hot surface.
- NEVER place hands under the heating elements.
ALWAYS allow heating element to cool at least 10 minutes before touching the heating tube or adjacent parts. - Do not store any burnable liquids or materials like paint, petrol, gas tanks etc. in the immediate surroundings of the device. Don’t use the device in flammable ambience, such as nearby combustible gas tanks, gas tubes or spray cans. Danger of explosion and fire!
- This product contains recyclable materials. Do not dispose this product as unsorted community waste. Please contact your local authorities for the nearest collection point.
- Place the device with a minimum distance of: – 50 cm to a non-flammable ceiling or roof;
– 100 cm to a flammable ceiling or roof;
– 50 cm to the side walls
Electrical safety
Always check that the voltage of the power supply corresponds to the voltage on the rating plate.
- Do not use the machine if the mains cable or the mains plug is damaged.
- Only use extension cables that are suitable for the power rating of the machine with a minimum thickness of 1.5 mm 2 . If you use an extension cable reel, always fully unroll the cable.
MACHINE INFORMATION
Intended use
This product is designed as a patio heater for domestic environments. The heater is intended for private gardens or other outdoor areas at home.
The heater may not be used to heat an indoor space, usage as a non-household outdoor space heater or for the drying of textiles or other materials.
This heater is not equipped with a device to control the room temperature so do not use this heater in spaces when they are occupied by per sons not capable of leaving the room on their own, unless constant supervision is provided.
The device is to be used only for its prescribed purpose.
Any other use is deemed to be a case of misuse.
TECHNICAL SPECIFICATIONS
| Model No. | PH513AC |
| Voltage | 220–240 V ~ |
| Frequency | 50 Hz |
| Power | 2000W |
| Power settings | 1: 800W 2: 1200W 3: 2000W |
| Height | 205 cm |
| Baseplate diameter | Ø 47cm |
| Heating element type | Halogen |
| Heating time | 3.5 second |
| Heating distance | 3m |
| Heating area | 9m² |
| Colour temperature | 3000-3500K |
| Tip-over safety switch | Yes |
| Ingress protection class | IPX4 |
| Protection class | Class I |
| Weight | 14.1 kg |
DESCRIPTION
The numbers in the text refer to the diagrams on page 2-5.
- Heater
- Protective grill
- On/off switch
- Upper tube
- Middle tube
- Lower tube
- Cover
- Feet
- Baseplate
- Left on/off switch
- Right on/off switch
- Power cable
- Cable connector box
- Cable holder
- Baseplate bracket
- Bolt
- Nut
- Long screw
- Short screw
- Sleeve anchor
ASSEMBLY
This heater should be installed by a competent person, i.e. a qualified electrician.
Always disconnected the heater from the electrical supply and allow it to cool before installation.
Assembling the heater (Fig. BG)
Always mount the device with the supplied accessories.
Before starting to assemble the device, take the following into consideration:
- Place the device on a firm, level surface. The device may never be placed at an angle!
- The device must be placed so that there is 100 cm of free space between the heater and objecor wall, measured from the front or side. There must be at least 1.80 m between the ground and the underside of the device. There must be at least 30cm clearance between the device and the ceiling.
- Do not install the heater on or near an inflammable surface.
- If the heater is to be used outside, a weatherproof outlet is highly recommended.
- Before drilling ensure that there are no wires or water pipes in the area where the heater is to be installed.
- Start by mounting the lower tube (6) onto the baseplate (9). Tighten the bolt (16) and nut (17) as shown on figure B.
- Slide the cover (7) onto the lower tube (6) as shown on figure B. This will hide the bolts (16) from plain sight.
- Put the assembly and its side, and guide the power cable (12) through the centre of the baseplate (9) and through the lower tube (6), as shown in figure C.
- Take the middle tube (5) and guide the power cable through this tube as well. Keep hold of the middle tube (5) and follow the next step.
- Now screw the middle tube (5) onto the lower tube (6) in clockwise direction, until it is tight.
Refer to figure C. - Take the upper tube (4) and guide the power cable through this tube as well. Keep hold of the upper tube (4) and follow the next step.
- Now screw the upper tube (4) onto the middle tube (5) in clockwise direction, until it is tight.
Refer to figure D. - Put the assembled baseplate (9) and tubes in upright position.
- Now take the heater (1) and connect it to the power cable (12) as shown on figure E.
- Put the cable connector box (13) on the cable connectors and fold it closed, as shown on figure E. This will seal the cable connectors and prevent them from becoming loose.
- Slide the protruding part of the heater (1) with the properly connected cable assembly onto the upper tube (4) as shown on figure F.
- Ensure the two holes in the protruding part of the heater (1) align with the holes in the upper tube (4).
- Now secure the heater (1) in place by tightening the long screws (18) into the holes of the upper tube (4) and thus the heater.
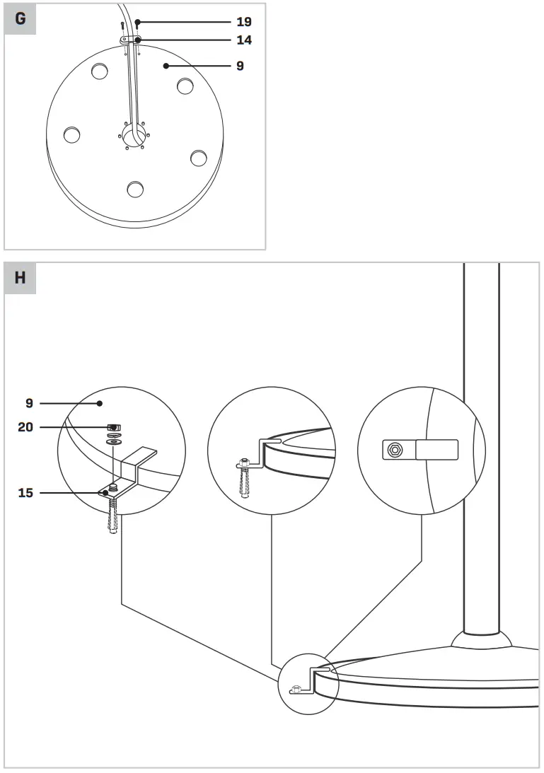
- Secure the power cable (12) onto the baseplate (9), using the cable holder (14) and the two short screws (19). Refer to figure G.
Fixing the heater base (Fig. H)
It is strongly advised to secure the heater to the ground surface by using the specially designed baseplate brackets (15). These brackets prevent the heater from falling over, especially when being used outdoors where windy conditions are no exception. To mount the baseplate brackets:
- Take the baseplate brackets (15) and place them evenly spaced around the baseplate (9).
- Now mark the drilling holes onto the ground surface through the holes of the baseplate brackets (15).
- Remove the baseplate brackets and drill holes in the marked positions. Use a drillbit diameter that corresponds with the used sleeve anchors (20). Drill around 10 to 15 mm deeper than the expected embedment. Ensure the holes are level and at exactly the same height.
- Clean out the holes of any debris and put the baseplate brackets (15) in place.
- Set the nut flush with the top of the sleeve anchor (20).
- Insert the sleeve anchor (20) into the hole in the floor material. Using a hammer, insert the sleeve anchor as far until the washer and nut are tight against the floor material.
- Now put the baseplate bracket (15) on the sleeve anchor (11), and mount it using the washer and nut. Turn the nut until finger tight.
- Use a wrench to set the anchor by turning the nut three to four full turns.
- Mount the remaining 2 baseplate brackets (15).
OPERATION
WARNING. Before each use, check that: your hands are dry before operating the device, the device is clean and dry, the device is not damaged, the device is properly assembled and securely mounted to the floor.
Switching on/off and adjusting the power level (Fig. A)
The heater can be turned on and off using the on/ off switch (3). The heater is equipped with two switches, to not only turn the device on or off, but also adjust the power level in a total of three different settings:
- Left on/off switch (10) turned on (I), right on/off switch (11) turned off (O): Level 1 – 800W
- Left on/off switch (10) turned off (O), right on/ off switch (11) turned on (I): Level 2 – 1200W
- Left on/off switch (10) turned on (I), right on/off switch (11) turned on (I): Level 3 – 2000W
Tipover safety switch (Fig. A)
This heater is fitted with a tip-over safety switch.
In the event that the heater falls over, the heater automatically shuts off.
Please note that when the heater is returned to its upright position, it does not resume its operating immediately. First switch it off (read ‘switching on/ off’), remove the plug from the socket and check the heater for damage. In case of damage or malfunctioning do not use but offer for checking / repair. If there is nog damage, you can simply switch the heater on again (read ‘switching on/off’).
MAINTENANCE
Always make sure that the machine is not connected to the mains electricity when you carry out any maintenance of the mechanism.
CAUTION: Risk of Electric Shock. DO NOT open or try to repair the heater yourself.
Clean the machine casings regularly with a soft cloth,preferably after each use. Make sure that the ventilation openings are free of dust and dirt.
Remove very persistent dirt using a soft cloth moistened withsoapsuds. Do not use any solvents such as gasoline,alcohol, ammonia, etc. Chemicals such as these will damage the synthetic components.
- DO NOT use alcohol, gasoline, abrasive powders, furniture polish or rough brushes to clean the heater.
This may cause damage or deterioration to the surface of the heater. - DO NOT immerse the heater in water.
- Wait until the heater is completely dry before use.
ATTENTION: - Always disconnect the heater from the electricity supply and allow it to cool before attempting to clean it.
- If the heater has collected dust or dirt inside the unit or around the heating element, have to unit cleaned by a qualified service agent. Do not operate the heater in this condition.
- The only maintenance required is cleaning of the external surfaces of the heater.
- Do not touch the heating element with bare fingers, as residue from your hand could affect the life of the lamp. If it is accidentally touched, remove the finger marks with a soft cloth moistened with mentholated spirit or alcohol.
- Do not attempt to repair or adjust any electrical or mechanical functions on this heater.
- The heater contains no user serviceable parts.
Should the product suffer damage or breakdown, it must be returned to the manufacturer or its service agent. - Damaged supply cords to be replaced by the manufacturer, service agent or similarly qualified person in order to avoid hazard.
Storage
Store the heater in a cool, dry location when not in use to prevent dust and dirt build up. Use packaging carton to store.
Trouble Shooting
If the heater will not operate, please check the following before seeking repair or service:
- Check if the power cord is plugged into an electrical outlet, if not plug in.
- Check if electricity to the main fuse is working.
- Make certain the power switches are turned onIf not, choose a setting.
ENVIRONMENT
Faulty and/or discarded electrical or electronic apparatus have to be collected at the appropriate recycling locations.
Only for EC countries
Do not dispose of power tools into domestic waste.
According to the European Guideline 2012/19/EC for Waste Electrical and Electronic Equipment and its implementation into national right, power tools that are no longer usable must be collected separately and disposed of in an environmentally friendly way.
WARRANTY
VONROC products are developed to the highest quality standards and are guaranteed free of defects in both materials and workmanship for the period lawfully stipulated starting from the date of original purchase. Should the product develop any failure during this period due to defective material and/or workmanship then contact VONROC directly.
The following circumstances are excluded from this guarantee:
• Repairs and or alterations have been made or attempted to the machine by unauthorized service centers;
• Normal wear and tear;
• The tool has been abused, misused or improperly maintained;
• Non-original spare parts have been used.
This constitutes the sole warranty made by company either expressed or implied.
There are no other warranties expressed or implied which extend beyond the face hereof, herein, including the implied warranties of merchantability and fitness for a particular purpose. In no event shall VONROC be liable for any incidental or consequential damages.
The dealers remedies shall be limited to repair or replacement of nonconforming units or parts.
The product and the user manual are subject to change. Specifications can be changed without further notice.

DECLARATION OF CONFORMITY
PH513AC – PATIO HEATER EOLO ON STAND
We declare under our sole responsibility that this product is in conformity with directive 2011/65/EU of the European parliament and of the council of 8 June 2011 on the restriction of theuse of certain hazardous substances in electrical and electronic equipment is in conformity and accordance with the following standards and regulations:
EMC 2014/30/EU: EN 55014-1:2017+A11:2020, EN 55014-2:2015, EN IEC 61000-3-2:2019, EN 61000-33:2013+A1:2019
LVD 2014/35/EU: EN 60335-2-30:2009 + A11:2012+A1:2020+A12:2020
EN 60335-1:2012+A11:2014+A13:2017+ A1:2019+A14:2019+A2:2019,
ROHS 2011/65/EU&(EU)2015/863, WEEE 2012/19/EU
Zwolle, 01-09-2022
H.G.F Rosberg
CEO
VONROC • Lingenstraat 6 • 8028 PM Zwolle • The Netherlands
WWW.VONROC.COM
©2022 VONROC
WWW.VONROC.COM
2211-03























