PEREL PHS2000-R Patio heater standing model 2000 W

Introduction
To all residents of the European Union Important environmental information about this product This symbol on the device or the package indicates that disposal of the device after its lifecycle could harm the environment. Do not dispose of the unit (or batteries) as unsorted municipal waste; it should be taken to a specialized company for recycling. This device should be returned to your distributor or to a local recycling service. Respect the local environmental rules. If in doubt, contact your local waste disposal authorities. Thank you for choosing Perel! Please read the manual thoroughly before bringing this device into service. If the device was damaged in transit, do not install or use it and contact your dealer.
Safety Instructions
- Read and understand this manual and all safety signs before using this appliance.
- Warning: In order to avoid overheating, do not cover the heater.
- Warning: Hot surface. This way up. Do not use upside-down.
- CAUTION – Some parts of this product can become very hot and cause burns. Particular attention has to be given where children and vulnerable people are present.
- Install the heater at a minimum height of 1.8 m. IP34 IP class 34.
- WARNING – Do not use this appliance in the immediate surroundings of a bath, a shower or a swimming pool.
- WARNING – Do not install or use the appliance close to curtains and other combustible materials.
- WARNING – Do not install this appliance immediately below a socket.
- Children of less than 3 years should be kept away unless continuously supervised.
Children aged from 3 years and less than 8 years shall only switch on/off the appliance provided that it has been placed or installed in its intended normal operating position and they have been given supervision or instruction concerning use of the appliance in a safe way and understand the hazards involved. Children aged from 3 years and less than 8 years shall not plug in, regulate and clean the appliance or perform user maintenance. - This device can be used by children aged from 8 years and above, and persons with reduced physical, sensory or mental capabilities or lack of experience and knowledge if they have been given supervision or instruction concerning the use of the device in a safe way and understand the hazards involved. Children shall not play with the device. Cleaning and user maintenance shall not be made by children without supervision.
- Do not use the heater with a programmer, timer, separate remote-control system or any other device that switches the heater on automatically, since a fire risk exists if the heater is covered or positioned incorrectly.
- If the external flexible cable or cord of this appliance is damaged, it shall be exclusively replaced by the manufacturer or his service agent or a similar qualified person in order to avoid a hazard.
- Some parts of this product can become very hot and cause burns. Do not touch the appliance when in use or shortly after use. Do not rest the power cable on the appliance when hot.
- This appliance must not be supplied through an external switching device, such as a timer, or connected to a circuit that is regularly switched on and off by the utility.
- The use of an extension lead or multi-plug adaptor is not advised when connecting this appliance to the mains. Connection through these devices could lead to a risk of overloading, overheating and even fire at the extension lead or adaptor due to inadequate connection quality.
- The first time you use the appliance, a little smoke and smell due to the protective substances applied to the heating element before transport may be given off. This is normal and should not be considered a fault.
General Guidelines
- Refer to the Velleman® Service and Quality Warranty on the last pages of this manual.
- All modifications of the device are forbidden for safety reasons. Damage caused by user modifications to the device is not covered by the warranty.
- Only use the device for its intended purpose. Using the device in an unauthorised way will void the warranty.
- Damage caused by disregard of certain guidelines in this manual is not covered by the warranty and the dealer will not accept responsibility for any ensuing defects or problems.
- Nor Velleman Group nv nor its dealers can be held responsible for any damage (extraordinary, incidental or indirect) – of any nature (financial, physical…) arising from the possession, use or failure of this product.
- Keep this manual for future reference.
Overview


| 1 | heater head |
| 2 | top pole |
| 3 | middle pole |
| 4 | bottom pole |
| 5 | base |
| 6 | power cord |
| 7 | connection box |
| 8 | link |
| 9 | anchor |
| 10 | cover ring |
Assembly

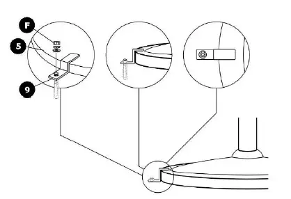
Fix the bottom pole onto the base using the appropriate screws and bolts. Next, slide the cover ring onto the base.
Screw the middle pole onto the bottom pole. Lead the power cord through the middle and bottom poles. Screw the top pole onto the bottom pole. Lead the power cord through the top pole.

Interconnect the power cord and lock into the box. Fix the head to the assembled poles.

While holding the appliance, fix the power cord to the base.

Secure the appliance to the installation surface.
Operation
- Insert the power plug into the mains.
- Switch the appliance on/off by means of the pull switch. Select the power:
- Position 0: stop
- Position 1: 800 W (low)
- Position 2: 1200 W (intermediate)
- Position 3: 2000 W (high)
- Switch off and disconnect the heater after use.
Care and Maintenance
Storage
Store the appliance and its accessories in a clean and dry area.
Cleaning
Before starting any cleaning or maintenance activities, unplug the appliance from its power source and let it cool down. Wipe all exterior surfaces of the appliance clean with a soft cloth dampened with a soap and water solution. Do not immerse or submerge any part of the appliance in water or any other liquid. Never use solvents or cleaning agents containing petroleum (petrol, kerosene, oil), paint thinner, turpentine, alcohol, or ammonia.
Maintenance
All repairs should only be carried out by qualified service personnel. Do not open exterior casing of the appliance. There are no user-serviceable parts inside. Opening or visible attempts to open or repair the appliance may void any guarantee and/or cause damage to the product or personal injury.
Technical Specifications
- power supply ………………………………………………………………………. 220-240 V~, 50/60 Hz
- power consumption ……………………………………………………………………………………2000 W
- IP rating ……………………………………………………………………………………………………. IP34
- material …………………………………………………………………………………… metal + aluminium
- adjustable height ………………………………………………………………………………….. 1.8-2.1 m
- cord length ………………………………………………………………………………………………. 1.2 m
- dimensions
- lantern …………………………………………………………………………………….. Ø 43 x 38 cm
- device …………………………………………………………………………………. 43 x 70 x 230 cm
Use this device with original accessories only. Velleman Group nv cannot be held responsible in the event of damage or injury resulting from (incorrect) use of this device. For more info concerning this product and the latest version of this manual, please visit our website www.velleman.eu. The information in this manual is subject to change without prior notice.
COPYRIGHT NOTICE
The copyright to this manual is owned by Velleman Group nv. All worldwide rights reserved. No part of this manual may be copied, reproduced, translated or reduced to any electronic medium or otherwise without the prior written consent of the copyright holder.




















