W11468902B Gas Built-In Cooktop
Owner’s Manual
IMPORTANT:
Installer: Leave installation instructions with the homeowner.
Homeowner: Keep installation instructions for future reference.
COOKTOP SAFETY
Your safety and the safety of others are very important.
We have provided many important safety messages in this manual and on your appliance. Always read and obey all safety messages.
This is the safety alert symbol.
This symbol alerts you to potential hazards that can kill or hurt you and others.
All safety messages will follow the safety alert symbol and either the word “DANGER” or “WARNING.” These words mean:
You can be killed or seriously injured if you don’t immediately follow instructions.
You can be killed or seriously injured if you don’t follow instructions.
All safety messages will tell you what the potential hazard is, tell you how to reduce the chance of injury, and tell you what can happen if the instructions are not followed.
WARNING: If the information in these instructions is not followed exactly, a fire or explosion may result causing property damage, personal injury or death.
- Do not store gasoline or other flammable vapors and liquids in the vicinity of this or any other appliance.
- WHAT TO DO IF YOU SMELL GAS
• Do not try to light any appliance.
• Do not touch any electrical switch.
• Do not use any phone in your building.
• Immediately call your gas supplier from a neighbor’s phone. Follow the gas suppliers’ instructions.
• If you cannot reach your gas supplier, call the fire department. - Installation and service must be performed by a qualified installer, service agency, or gas supplier.
WARNING:
Never Operate the Top Surface Cooking Section of this Appliance Unattended
- Failure to follow this warning statement could result in fire, explosion, or burn hazards that could cause property damage, personal injury, or death.
- If a fire should occur, keep away from the appliance and immediately call your fire department.
DO NOT ATTEMPT TO EXTINGUISH AN OIL/GREASE FIRE WITH WATER.
WARNING: Gas leaks cannot always be detected by smell.
Gas suppliers recommend that you use a gas detector approved by UL or CSA.
For more information, contact your gas supplier.
If a gas leak is detected, follow the “What to do if you smell gas” instructions.
IMPORTANT: Do not install a ventilation system that blows air downward toward this gas cooking appliance. This type of ventilation system may cause ignition and combustion problems with this gas cooking appliance resulting in personal injury or unintended operation.
In the State of Massachusetts, the following installation instructions apply:
- Installation and repairs must be performed by a qualified or licensed contractor, plumber, or gas fitter qualified or licensed by the State of Massachusetts.
- Acceptable Shut-off Devices: Gas Cocks and Ball Valves installed for use shall be listed.
- A flexible gas connector, when used, must not exceed 4 feet (121.9 cm).
IMPORTANT SAFETY INSTRUCTIONS
WARNING: To reduce the risk of fire, electrical shock, injury to persons, or damage when using the cooktop, follow basic precautions, including the following:
WARNING
NEVER use this appliance as a space heater to heat or warm the room. Doing so may result in carbon monoxide poisoning and overheating of the cooktop.
- CAUTION: Do not store items of interest to children in cabinets above the cooktop – children climbing on the cooktop to reach items could be seriously injured.
- Do Not Leave Children Alone – Children should not be left alone or unattended in areas where the appliance is in use.
They should never be allowed to sit or stand on any part of the appliance. - Wear Proper Apparel – Loose-fitting or hanging garments should never be worn while using the appliance.
- User Servicing – Do not repair or replace any part of the appliance unless specifically recommended in the manual. All other servicing should be referred to a qualified technician.
- Storage in or on Appliance – Flammable materials should not be stored in an oven or near surface units.
- Do Not Use Water on Grease Fires – Smother fire or flame or use a dry chemical or foam-type extinguisher.
- Use Only Dry Potholders – Moist or damp potholders on hot surfaces may result in burns from steam. Do not let the potholder touch hot surface units. Do not use a towel or other bulky cloth.
- Never Leave Surface Units Unattended at High Heat Settings – Boilover causes smoking and greasy spillovers that may ignite.
- Glazed Cooking Utensils – Only certain types of glass, glass/ceramic, ceramic, earthenware, or other glazed utensils are suitable for range-top service without breaking due to the sudden change in temperature.
- Utensil Handles Should Be Turned Inward and Not Extend Over Adjacent Surface Units – To reduce the risk of burns, ignition of flammable materials, and spillage due to unintentional contact with the utensil, the handle of a utensil should be positioned so that it is turned inward, and does not extend over adjacent surface units.
- Do not use replacement parts that have not been recommended by the manufacturer (e.g. parts made at home using a 3D printer).
- Clean Cooktop With Caution – If a wet sponge or cloth is used to wipe spills on a hot cooking area, be careful to avoid steam burn. Some cleaners can produce noxious fumes if applied to a hot surface.
- Do Not Heat Unopened Food Containers – A build-up of pressure may cause the container to burst and result in injury.
- Proper Installation – The appliance, when installed, must be electrically grounded in accordance with local codes, or in the absence of local codes, with the National
Electrical Code, ANSI/NFPA 70 or the Canadian Electrical Code, CSA C22.1-02. In Canada, the appliance must be electrically grounded in accordance with the Canadian Electrical Code. Be sure your appliance is properly installed and grounded by a qualified technician. - This cooktop is equipped with a three-prong grounding plug for your protection against shock hazards and should be plugged directly into a properly grounded receptacle.
Do not cut or remove the grounding prong from this plug. - Disconnect the electrical supply before servicing the cooktop.
- Injuries may result from the misuse of the cooktop such as stepping, leaning, or sitting on the top surface.
- Maintenance – Keep the cooktop area clear and free from combustible materials, gasoline, and other flammable vapors and liquids.
- The top burner flame size should be adjusted so it does not extend beyond the edge of the cooking utensil.
For units with ventilating hood –
- Clean Ventilating Hoods Frequently – Grease should not be allowed to accumulate on the hood or filter.
- When flaming foods under the hood, turn the fan on.
For smart enabled ranges and ovens
- Remote operation – This appliance is configurable to allow remote operation at any time. Do not store any flammable materials or temperature-sensitive items inside, on top, or near-surface units of the appliance.
SAVE THESE INSTRUCTIONS
COOKTOP MAINTENANCE AND CARE
General Cleaning
IMPORTANT: Before cleaning, make sure all controls are off and the cooktop is cool. Always follow label instructions on cleaning products.
Soap, water, and a soft cloth or sponge are suggested first unless otherwise noted.
CERAMIC GLASS (on some models)
Cleaning Method:
To avoid damaging the cooktop, do not use steel wool, or abrasive powder cleaners, chlorine bleach, rust remover, or ammonia.
- Remove food/residue with the Cooktop Scraper.
• For best results, use the Cooktop Scraper while the cooktop is still warm but not hot to the touch. It is recommended to wear an oven mitt while scraping the warm cooktop.
• Hold the Cooktop scrapper at approximately a 45° angle against the glass surface and scrape the residue. It will be necessary to apply pressure in order to remove the residue.
Allow the cooktop to cool down completely before proceeding to Step 2. - Apply a few dime-sized drops of affresh® † Cooktop Cleaner to the affected areas.
• Rub affresh® Cooktop Cleaner onto the cooktop surface with the blue Cooktop Cleaning Pad. Some pressure is needed to remove stubborn stains.
• Allow the cleaner to dry to a white haze before proceeding to Step 3. - Polish with a clean, dry cloth or a clean, dry paper towel.
• Repeat steps 1 through 3 as necessary for stubborn or burned-on stains.
The Complete Cooktop Cleaner Kit is available for order including the following:
• Cooktop Scraper
• Affresh® Cooktop Cleaner
• Blue Cooktop Cleaning Pads
Refer to the Quick Start Guide for contact information.
EXTERIOR PORCELAIN ENAMEL SURFACES (on some models)
Food spills containing acids, such as vinegar and tomato, should be cleaned as soon as the cooktop, grates, and caps are cool.
These spills may affect the finish.
To avoid chipping, do not bang grates and caps against each other or on hard surfaces such as cast iron cookware.
Do not reassemble caps on burners while wet.
Do not clean in the Self-Cleaning cycle.
Do not clean in the dishwasher.
Cleaning Method:
- Nonabrasive plastic scrubbing pad and mildly abrasive cleanser:
Clean as soon as the cooktop, grates, and caps are cool. - Gas Grate and Drip Pan Cleaner (not included):
Refer to the Quick Start Guide for contact information.
STAINLESS STEEL (on some models)
To avoid damage to stainless steel surfaces, do not use soap-filled scouring pads, abrasive cleaners, Cooktop Cleaner, steel wool pads, gritty washcloths, or abrasive paper towels.
Rub in direction of the grain to avoid damage.
Cleaning Method:
- All-purpose cleaner:
Rinse with clean water and dry with a soft, lint-free cloth. - Affresh® Stainless Steel Cleaner (not included):
Refer to the Quick Start Guide for contact information.
COOKTOP CONTROLS
To avoid damage to the cooktop controls, do not use steel wool, abrasive cleansers, or oven cleaner.
To avoid damage, do not soak knobs.
When replacing knobs, make sure knobs are in the Off position.
Do not remove seals under knobs.
Cleaning Method:
- Soap and water:
Pull knobs straight away from the control panel to remove them.
CONTROL PANEL
To avoid damage to the control panel, do not use abrasive cleaners, steel wool pads, gritty washcloths or abrasive paper towels.
Cleaning Method:
- Glass cleaner and soft cloth or sponge: Apply glass cleaner to soft cloth or sponge, not directly on the panel.
- Affresh® Kitchen and Appliance Cleaner (not included): Order Part Number W10355010
PORCELAIN-COATED GRATES AND CAPS
Food spills containing acids, such as vinegar and tomato, should be cleaned as soon as the cooktop, grates, and caps are cool.
These spills may affect the finish.
To avoid chipping, do not bang grates and caps against each other or on hard surfaces such as cast iron cookware.
Do not reassemble caps on burners while wet.
Cleaning Method:
- Nonabrasive plastic scrubbing pad and mildly abrasive cleanser:
Clean as soon as the cooktop, grates, and caps are cool. - Dishwasher (grates only, not caps):
Use the most aggressive cycle. - Gas Grate and Drip Pan Cleaner Part Number 31617 (not included):
Refer to the Quick Start Guide for contact information.
SURFACE BURNERS
Sealed Burner models
See the “Sealed Surface Burners” section in the online Control Guide.
SIMMER PLATE (on some models)
Do not clean in the dishwasher.
Cleaning Method:
- Liquid detergent and water:
Wipe with a damp cloth or sponge then rinse with clean water and wipe dry. - Mild-abrasive cleanser:
Rub in the direction of the grain lines with a damp cloth.
INSTALLATION INSTRUCTIONS REQUIREMENTS
Tools and Parts
Gather the required tools and parts before starting installation.
Tools Needed
- Tape measure
- Screwdriver
- 15/16″ (24 mm) combination wrench
- Pipe wrench
- Wrench or pliers
- Marker or pencil
- Pipe-joint compound resistant to Propane gas
- Noncorrosive leak-detection solution
Parts Supplied
- Gas pressure regulator
- Burner grates
- Burner caps
- Clamping brackets (2)
- 2 ½” (6.4 cm) clamping screws (2)
Parts needed
Check local codes and consult the gas supplier. Check existing gas supply and electrical supply. See “Electrical Requirements” and “Gas Supply Requirements” sections.
NOTE: Be sure to purchase only Whirlpool factory-certified parts and accessories for your appliance. Your installation may require additional parts. To order, refer to the contact information referenced in your Quick Start Guide.
Location Requirements
IMPORTANT: Observe all governing codes and ordinances. Do not obstruct the flow of combustion and ventilation air.
- It is the installer’s responsibility to comply with installation clearances specified on the model/serial/rating plate. The model/serial/rating plate is located on the underside of the cooktop base.

- The cooktop should be installed in a location away from strong draft areas, such as windows, doors, and strong heating vents or fans.
- All openings in the wall or floor where the cooktop is to be installed must be sealed.
- The Cabinet opening dimensions that are shown must be used. Given dimensions are minimum clearances.
- A grounded electrical supply is required. See the “Electrical Requirements” section. A proper gas supply connection must be available. See the “Gas Supply Requirements” section.
- The cooktop is designed to hang from the countertop by its side or rear flanges.
- The gas and electric supply should be located as shown in the “Cabinet Dimensions” section so that they are accessible without requiring removal of the cooktop.
- Provide a cutout in the right rear corner of the cutout enclosure as shown to provide clearance for the gas inlet, and power supply cord, and to allow the rating label to be visible.
IMPORTANT: To avoid damage, check with your builder or cabinet supplier to make sure that the materials used will not discolor, delaminate or sustain other damage.
Mobile Home – Additional Installation Requirements
The installation of this cooktop must conform to the Manufactured Home Construction and Safety Standard, Title 24 CFR, Part 3280 (formerly the Federal Standard for Mobile Home Construction and Safety, Title 24, HUD Part 280). When such a standard is not applicable, use the Standard for Manufactured Home Installations, ANSI A225.1/NFPA 501A, or local codes.
In Canada, the installation of this range must conform with the current standards CAN/CSA-Z240.1, the latest edition, or with local codes.
Cabinet Dimensions
IMPORTANT: If installing a range hood or microwave hood combination above the cooktop, follow the range hood or microwave hood combination installation instructions for dimensional clearances above the cooktop surface.

A. 30″ (76.2 cm) on 30″ models; 36″ (91.4 cm) on 36″ models
B. Combustible area above countertop (shown by dashed box above)
C. 30″ (76.2 cm) minimum clearance between the top of the cooktop platform and the bottom of an uncovered wood or metal cabinet (24″ [61 cm] minimum clearance if the bottom of the wood or metal cabinet is covered by not less than 1/4″ [6.4 mm] flame retardant millboard covered with not less than No. 28 MSG sheet steel, 0.015″ [0.04 mm] stainless steel, or 0.024″ [0.06 mm] aluminum or 0.020″ [0.05 mm] copper)
D. 13″ (33 cm) recommended upper cabinet depth
E. 2 1/8″ (5.4 cm)
F. 19″ (48.3 cm)
G. 18″ (45.7 cm) minimum clearance from upper cabinet to countertop within minimum horizontal clearances to the cooktop
H. Grounded outlet: locate within 24″ (61 cm) of the right rear corner of cutout
I. 29″ (73.7 cm) on 30″ models; 35 1/4″ (89.5 cm) on 36″ models
J. 8 3/8″ (21.3 cm) minimum distance to the nearest left and right side combustible surface
K. 2 7/8″ (7.3 cm) minimum distance to a rear combustible surface
L. Gas line opening – wall: anywhere 5″ (12.7 cm) below the underside of countertop. Cabinet floor: anywhere within 6″ (15.2 cm) of the rear wall is recommended
M. 24″ (61 cm) minimum countertop depth is required
NOTE: After making the countertop cutout, some installations may require notching down the base cabinet side walls to clear the cooktop base. To avoid this modification, use a base cabinet with sidewalls wider than the cutout.
If the cabinet has a drawer, a 4″ (10.2 cm) depth clearance from the countertop to the top of the drawer (or other obstruction) in the base cabinet is required. The drawer depth may need to be shortened to avoid interfering with the regulator.
Electrical Requirements
Electrical Shock Hazard Plug into a grounded 3-prong outlet. |
IMPORTANT: The cooktop must be electrically grounded in accordance with local codes and ordinances, or in the absence of local codes, with the National Electrical Code, ANSI/NFPA 70 or Canadian Electrical Code, CSA C22.1.
This cooktop is equipped with an electronic ignition system that will not operate if plugged into an outlet that is not properly polarized.
If codes permit and a separate ground wire is used, it is recommended that a qualified electrical installer determine that the ground path is adequate.
A copy of the above code standards can be obtained from:
National Fire Protection Association
1 Batterymarch Park
Quincy, MA 02169-7471
CSA International
8501 East Pleasant Valley Road
Cleveland, OH 44131-5575
- A 120 V, 60 Hz, AC only, 15 A, fused electrical circuit is required. A time-delay fuse or circuit breaker is also recommended. It is recommended that a separate circuit serving only this cooktop be provided.
- Electronic ignition systems operate within wide voltage limits, but proper grounding and polarity are necessary. Check that the outlet provides 120 V power and is correctly grounded.
- The wiring diagrams are provided with this cooktop. See the “Wiring Diagrams”.
Gas Supply Requirements
|
Explosion Hazard Use a new CSA International approved gas supply line. |
Observe all governing codes and ordinances.
IMPORTANT: This installation must conform with all local codes and ordinances. In the absence of local codes, installation must conform with the National Fuel Gas Code, ANSI Z223.1/NFPA 54, or, in Canada, the Natural Gas and Propane Installation Code, CSA B149.1 – latest edition.
IMPORTANT: Leak testing of the cooktop must be conducted according to the manufacturer’s instructions.
Type of Gas
Natural Gas:
This cooktop is factory set for use with Natural gas. If converting to Propane gas, see the following “Propane Gas Conversion” section. The model/serial rating plate located on the underside of the cooktop base has information on the types of gas that can be used. If the types of gas listed do not include the type of gas available, check with the local gas supplier.
Propane Gas Conversion:
The conversion must be done by a qualified service technician.
No attempt shall be made to convert the cooktop from the gas specified on the model/serial/rating plate for use with a different gas without consulting the serving gas supplier. See the Gas Conversion instructions provided in the package containing the literature.
Gas Supply Line
- Provide a gas supply line of 3/4″ (19 mm) rigid pipe to the cooktop location. A smaller size pipe on longer runs may result in insufficient gas supply. Pipe-joint compounds that resist the action of Propane gas must be used. Do not use TEFLON®† tape. With Propane gas, piping or tubing size should be 1/2″ (13 mm) minimum. Usually, Propane gas suppliers determine the size and materials used in the system.
Flexible Metal Appliance Connector:
- If local codes permit, use a 1/2″ (13 mm) or 3/4″ (19 mm) I.D. flexible stainless steel tubing gas connector, designed by CSA to connect the cooktop to the rigid gas supply line.

- A 1/2″ (13 mm) male pipe thread is needed for connection to the female pipe threads of the inlet to the cooktop pressure regulator.
- Do not kink or damage the flexible metal tubing when moving the cooktop.
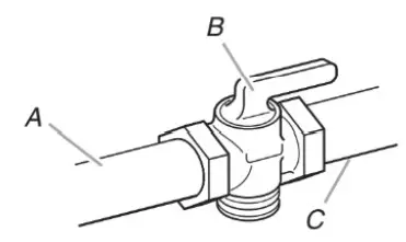
- Must include a shut-off valve:
Install a manual gas line shut-off valve in an easily accessible location. Do not block access to the shut-off valve. The valve is for turning on or shutting off gas to the cooktop.
A. gas supply line
B. Shut-off valve “open” position
C. To range
Gas Pressure Regulator
The gas pressure regulator supplied with this cooktop must be used. The inlet pressure to the regulator should be as follows for proper operation:
Natural Gas:
Minimum pressure: 12.7 cm WCP
Maximum pressure: 17.8 cm to 35.5 cm WCP
Propane Gas:
Minimum pressure: 27.9 cm WCP
Maximum pressure: 35.5 cm WCP
Contact a local gas supplier if you are not sure about the inlet pressure.
Burner Input Requirements
Input ratings shown on the model/serial/rating plate are for elevations up to 2,000 ft (609.6 m).
For elevations above 2,000 ft (609.6 m), ratings are reduced at a rate of 4% for every 1,000 ft (304.8 m) above sea level (not applicable for Canada).
For elevations above 6,560 ft (1999.5 m) a high altitude kit is needed to avoid any reduced power output. See separate Propane gas conversion instructions sheet.
Gas Supply Pressure Testing
Gas supply pressure for the testing regulator must be at least 1″ (2.5 cm) water column pressure above the manifold pressure shown on the model/serial rating plate.
Line pressure testing above 1/2 psi (3.5 kPa) gauge 14″ (35.5 cm) WCP
The cooktop and its individual shutoff valve must be disconnected from the gas supply piping system during any pressure testing of that system at test pressures in excess of 1/2 psi (3.5 kPa).
Line pressure testing at 1/2 psi (3.5 kPa) gauge 14″ (35.5 cm) WCP or lower
The cooktop must be isolated from the gas supply piping system by closing its individual manual shut-off valve during any pressure testing of the gas supply piping system at test pressures equal to or less than 1/2 psi (3.5 kPa).
INSTALLATION
Prepare Cooktop for Installation
Excessive Weight Hazard Use two or more people to move and install or uninstall the appliance. |
Decide on the final location for the cooktop. Avoid drilling into or severing existing wiring during installation.
On Glass Cooktop models only:
- Using two or more people, place the cooktop upside down on a covered surface.
- Remove foam strip from the package containing literature.
Remove backing from foam strip. Apply foam strip adhesive side down around the bottom of the cooktop, and flush with the edge.
NOTE: The foam strip keeps debris away from the underside of the cooktop and helps the cooktop to sit flat on uneven counters.

A. Cooktop base
B. Foam strip
C. Cooktop
Install Cooktop
Style 1: Cooktop over undercounter built-in oven
IMPORTANT: Clamping brackets should not be used.
- Using two or more people, place the cooktop right side up into the cutout.
NOTE: Make sure that the front edge of the cooktop is parallel to the front edge of the countertop. If repositioning is needed, lift the entire cooktop up from the cutout to avoid scratching the countertop.
Style 2: Cooktop over cabinets
- Determine whether your cabinet construction provides clearance for installing clamping brackets at cooktop base ends. This is the recommended location. Clamping brackets can be installed on the front and back of the cooktop base bottom, if necessary.
A. Attachment screw holes for optional front and back location
B. Clamping bracket (end locations recommended)
C. Cooktop base bottom
D. Attachment screw
E. Attachment screw location (recommended) - The clamping brackets can be installed before or after the cooktop is placed into the cutout. Complete the following steps for the option you choose.
Installing Brackets Before Placing Cooktop in Cutout
- Using two or more people, place the cooktop upside down on a covered surface.
- Remove the attachment screws for the selected bracket locations from the bottom of the cooktop base.
- Select bracket mounting holes that will allow the bracket to extend far enough out from the cooktop for the installation of 2 1/2″ (6.4 cm) clamping screws. See the “Attach Cooktop to Countertop” section for an illustration of clamping screw installation.
A. Clamping bracket
B. Recommended attachment screw location
C. Clamping screw location
D. Edge of cooktop base bottom. - Attach brackets to cooktop base bottom with bracket attachment screws using the bracket mounting holes selected in Step 2.
- Rotate brackets so they do not extend beyond the edge of the cooktop base.
- Tighten screws just enough to hold brackets in place when the cooktop is put in the cutout.
- Using two or more people, turn the cooktop right side up and place it in the cutout.
NOTE: Make sure that the front edge of the cooktop is parallel to the front edge of the countertop. If repositioning is needed, lift the entire cooktop up from the cutout to avoid scratching the countertop. - Loosen the screws and rotate the brackets so that they are perpendicular to the edge of the cooktop base and extend beyond its edge. Securely tighten screws.
Installing Brackets After Placing Cooktop in Cutout
- Using two or more people, place the cooktop right side up into the cutout.
NOTE: Make sure that the front edge of the cooktop is parallel to the front edge of the countertop. If repositioning is needed, lift the entire cooktop up from the cutout to avoid scratching the countertop. - Remove the attachment screws for the selected bracket locations from the bottom of the cooktop base.
- Select bracket mounting holes that will allow the bracket to extend far enough out from the cooktop for the installation of 2 1/2″ (6.4 cm) clamping screws.
A. Cooktop
B. Cooktop base
C. Attachment screw
D. Clamping bracket (extends far enough beyond cooktop
base to allow installation of clamping screws)
E. 2 1/2″ (6.4 cm) clamping screw (to be installed in the “Attach Cooktop to Countertop” section)
F. Countertop
G. Foam seal - Attach brackets to cooktop base bottom with bracket attachment screws using the bracket mounting holes selected in Step 3. Securely tighten screws.
Make Gas Connection
|
Explosion Hazard Use a new CSA International approved gas supply line. |
To Assemble Pressure Regulator:
- Using two or more people, stand the cooktop on its side or back.
- Connect the flexible stainless steel connector to the pressure regulator using a 1/2″ (13 mm) male pipe thread adapter and nipple. A combination of pipe fittings must be used to connect the cooktop to the existing gas line. Shown following is a typical connection. Your connection may be different, according to the supply line type, size, and location.
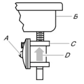
- Install the pressure regulator with the arrow pointing up toward the bottom of the cooktop base and in a position where you can reach the regulator cap.
A. Access cap
B. Rear of the cooktop
C. Gas pressure regulator
D. Up arrow. The regulator must be installed with arrow pointing up to the cooktop’s bottom
IMPORTANT: All connections must be wrench-tightened. Do not make connections to the gas regulator too tight. Making the connections too tight may crack the regulator and cause a gas leak. Do not allow the regulator to turn on the pipe when tightening fittings.
Use only pipe-joint compound made for use with Natural and Propane gas.
Do not use TEFLON® tape. You will need to determine the fittings required depending on your installation.
Typical flexible connection
- Apply pipe-joint compound made for use with Propane gas to the smaller thread ends of the flexible connector adapters (see G in the following illustration).
- Attach one adapter and nipple to the gas pressure regulator and the other adapter and nipple to the gas shut-off valve.
Tighten both adapters and nipples. - Use a 15/16″ (24 mm) combination wrench and pliers to attach the flexible connector to the adapters. Check that connector is not kinked.
A. 3/8″ (9.5 mm) nipple
B. 3/8″ (9.5 mm) adapter
C. Flexible connector
D. 1/2″ (13 mm) nipple
E. Gas pressure regulator
F. 1/2″ (13 mm) adapter
G. Use pipe-joint compound
H. Manual gas shut-off valve
Complete Connection
- Open the manual shut-off valve in the gas supply line. The valve is open when the handle is parallel to the gas pipe.
- Test all connections by brushing on an approved noncorrosive leak-detection solution. Bubbles will show a leak. Correct any leak found.
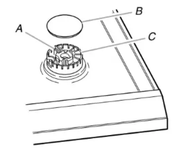
- Remove surface burner caps and grates from the parts package.
Align notches in burner caps with pins in burner base. Burner caps should be level when properly positioned. If burner caps are not properly positioned, surface burners will not light.
Place burner grates over burners and caps.
A. Igniter electrode
B. Burner cap
C. Burner base

Electrical Shock Hazard
Plug into a grounded 3-prong outlet.
Do not remove the ground prong.
Do not use an adapter.
Do not use an extension cord.
Failure to follow these instructions can result in death, fire, or electrical shock. - Plug into a grounded 3-prong outlet.
Attach Cooktop to Countertop
NOTE: This section applies only if you are using clamping brackets.

A. Glass cooktop
B. Cooktop base
C. Attachment screw
D. Clamping bracket (extends far enough beyond cooktop base to allow installation of clamping screws)
E. 2 1/2″ (6.4 cm) clamping screw
F. Countertop
G. Foam seal
- Place the 2 1⁄2″ (6.4 cm) clamping screws into the outermost hole in the clamping bracket.
- Check that the cooktop is still level.
- Use a screwdriver to tighten the screws against the countertop. Do not overtighten.
Complete Installation
Electronic Ignition System
Initial lighting and gas flame adjustments
Surface burners use electronic igniters in place of standing pilots.
When the cooktop control knob is turned to Lite, the system creates a spark to light the burner. This sparking continues, as long as the control knob is turned to Lite.
Check Operation of Surface Burners Push in and turn the surface burners’ control knobs to LITE.
The surface burner flame should light within 4 seconds. The first time a surface burner is lighted it may take longer than 4 seconds to light because of air in the gas line.
Check the flame on Hi for blue color. It should be clean and soft in character. No yellow tip, blowing, or lifting of the flame should occur.
Occasional orange flashes are normal and reflect different elements in the air or gas.
After verifying the proper burner operation, turn the control knobs to OFF.
If burners do not light properly:
- Turn the surface burner control knob to OFF.
- Check that the power supply cord is plugged in and the circuit breaker has not tripped or the fuse is blown.
- Check that the gas shut-off valves are set to the open position.
- Check that burner caps are properly positioned on burner bases.
Recheck operation of surface burners. If a burner does not light at this point, contact your dealer or authorized service company for assistance.
Check Flame Height
Adjust the height of surface burner flames. The surface burner low flame should be a steady blue flame approximately 1/4″ (6.4 mm) high.

A. Low flame
B. High flame
If the low flame needs to be adjusted:
The flame can be adjusted using the adjustment screw in the center of the valve stem. The valve stem is located directly underneath the control knob.

- Remove the control knob.
- Hold the knob stem with a pair of pliers. Use a small flat blade screwdriver to turn the screw located in the center of the control knob stem until the flame is the proper size. Turn the screw clockwise to decrease the flame height or counterclockwise to increase the flame height.
- Replace the control knob.
- Test the flame by turning the control from Lo to Hi, checking the flame at each setting.
Power Failure
In case of prolonged power failure, the surface burners can be lit manually. Hold a lit match near a burner and turn the knob counterclockwise to LITE. Afterburner lights, turn the knob to set.
Do not use a grill or griddle accessory during a power failure, as the vent fan will not operate.
®/™ ©2020 All rights reserved. Used under license in Canada.
• For best results, use the Cooktop Scraper while the cooktop is still warm but not hot to the touch. It is recommended to wear an oven mitt while scraping the warm cooktop.
• Rub affresh® Cooktop Cleaner onto the cooktop surface with the blue Cooktop Cleaning Pad. Some pressure is needed to remove stubborn stains.
• Repeat steps 1 through 3 as necessary for stubborn or burned-on stains.

A. gas supply line
A. Attachment screw holes for optional front and back location
A. Clamping bracket
A. Cooktop
A. Access cap
A. 3/8″ (9.5 mm) nipple
A. Igniter electrode
















