
User Manual
Strobe Light and Vibrating Pad
Model RHIS
INTRODUCTION
IMPORTANT: If you are installing this product for use by others, you must leave this manual (or a copy of it) for the end user.
Radio Frequency (RF) Pairing technology enables wireless connections between RF paired products.
In addition to the audible sound from your smoke or heat alarms, the Strobe Light and Vibrating Pad will be triggered to alert those who may not be able to hear the audible alarm. The flashing strobe provides a visual warning for waking hours, while the vibrating pad is designed to be placed under a pillow or a mattress and is suitable for waking an individual to alert them when an alarm sounds. If placed under a mattress, ensure the thickness of the mattress does not cushion the pad to the extent it cannot be felt adequately.
MAIN FEATURES
- This products can be wirelessly paired to create a network, meaning if smoke or heat triggers any alarm in the network, all other networked alarms and ancillary devices activate.
- RF Strobe Light and Vibrating Pad Bundle provides additional protection when sound alone may not be enough.
- Wirelessly connects to other Red Smoke Alarms with RF compatibility.
- The Strobe provides a remote low level testing facility for testing paired smoke or heat alarms, which avoid the need to reach up to the ceiling mounted alarms to test the system.
- Mains powered with rechargeable battery back-up (must be replaced after 5 years).
- The Strobe is suitable for wall mounting with 2 screw fixings or free standing.
- RF interconnected alarm system, designed for the hearing impaired.
Strobe and Vibrating Pad pack contains:
- Strobe light with integrated control unit (referred to as “strobe”)
- Vibrating Pad to be placed under pillow or mattress (referred to as “pad”)
- AC Mains power adapter, 100-240V, 50-60Hz 0.2A, Output: 12.0V 0.5A 6.0W
- Replaceable, rechargeable Ni-MH battery
- Wall fixing screws
NOTE: The Strobe and Vibrating Pad will only connect to Red Smoke or Heat Alarms with RF compatibility. It cannot be paired with other manufacturers’ products.
INSTALLING THE STROBE AND VIBRATING PADS
PREPARATION: Please ensure you have read and understood this manual before installing your Strobe Light and Vibrating Pad.
It is recommended that for optiumum protection from fire, one RF Pairing smoke or heat alarm is fitted in each living room of your home, including all bedrooms.
NOTE: Up to 40 Wireless Pairing enabled smoke alarms, heat alarms and/ or Wireless Pairing accessories can be wireless paired to a single network.
Ensure all smoke and/or heat alarms to be used are installed, tested and working correctly as per the instructions in their respective user manuals.
CONNECTING THE BATTERY / MAINS POWER
NOTE: The Strobe Light and Vibrating Pad requires both an AC (mains) electrical supply and internal battery for its normal operation. The battery accompanying this product is rechargeable and charges when there is mains power to the Strobe.

- Plug the Vibrating Pad connector into the
Strobe Light (as shown in fig.1). Route the wires through the wire guide. - Remove the battery door at the back. Connect the rechargeable battery, by aligning the terminals (black wire on left to red wire on right) and pushing the connectors together.
CAUTION: Connect the battery with mains power disconnected. - Place the battery into the recess. The battery cable needs to be positioned underneath the battery. Place the cable at the bottom of the recess with the battery lying over the top with the text on the battery face down. This will ensure that the battery is installed correctly.

- Replace the battery door.
- Plug the power cable in to the Strobe. Route the wire through the wire guide (fig.2).
- Plug the mains adapter into a 230V socket and turn the power on. The green power LED on Strobe should illuminate.
BATTERY CHARGING INSTRUCTION
NOTE: The battery is supplied in a discharged or partially discharged state and will require up to 24 hours of charging (continuous connection to the mains supply) to ensure that it is fully charged.
During this period the amber fault LED may flash once every five seconds to indicate that the battery is low. The following tests however may be carried out before the charging is complete.

| LED indication: | Condition Indicated: | Action: |
| amber fault LED 1 flash every 5 seconds | Flat Backup Battery | Insufficient battery power to power the strobe, require charging urgently. Not recommanded to do the wireless pairing in this period. |
| amber fault LED 2 flash every 5 seconds | Low Backup Battery | Battery power is low, sufficient without AC mains power. User may do the wireless pairing in this period but afterward, must charge up the strobe for 24 hours for safety. |
| amber fault LED off | Sufficient Backup Battery | Backup Battery power is sufficient without AC mains for 72 hours. User may do the wireless pairing in this period. |
WIRELESSLY PAIRING THE STROBE AND VIBRATING PADS TO WIRELESS SMOKE / HEAT ALARM
It is recommended that you read through these wireless pairing instructions before starting. There are two programming methods to connect the strobe to other Red RF devices:
Method 1: Programming setting the strobe as the master, and let other devices join the wireless network
- Place one of your smoke or heat alarms on to its base plate. You will use this product to pair with the strobe to create a network.
- Hold the Test button of the Strobe for 10 seconds (fig.3).
- The red LEDs on the front will continue to illuminate to indicate the strobe is in wireless pairing mode for 150 seconds.
- During this period, press pair button 2 times on the smoke or heat alarm to wirelessly pair the two products. The red LED on the alarm will flash 5 times. NOTE: User can press the test button of the master to manually switch off the master’s pairing mode.
- After pairing the Strobe and Vibrating Pad with the alarm, test the product individually to ensure they are working and connected.
Method 2: Programming other devices as the master, and and let the strobe pair to the wireless network
- Read the manual instruction of the wireless devices (Red Smoke’s smoke and/or heat alarm).
NOTE: Find the manual instruction of RF wireless smoke and/or heat alarms from Red Smoke PTY. Ltd. official website. - Find the wireless pairing button of the wireless device and hold it for 10 seconds.
- The red LEDs on the front will continue to illuminate to indicate this wireless device is in wireless pairing mode.
- Press the Test button on the strobe for 2 times (fig.3). The red LED on the strobe will flash 5 times.
- After pairing the strobe and vibrating pad with the device, test the product individually to ensure they are working and connected.

After pairing the Strobe and Vibrating Pad into the alarms, test the units individually to ensure they are connected.
NOTE: The amber fault LED will flash (once per 1 second) if the Vibrating Pad is not correctly installed.
NOTE: The amber fault LED will flash (twice per 1 second) when no RF device has yet paired to the strobe. Once the strobe has paired to a RF network, this indication will automatically switch off.
Once the Strobe and Pad are paired to the detectors, all products can be installed. We recommend you install smoke and heat alarms before installing the Strobe and Pad.
Clear the strobe’s RF Pairing Memory from the wireless network
In the event that you need to clear the RF Pairing Memory of the Strobe from a network (e.g. moving house) you will need to remove it from the network using the following procedure:

- Briefly push and release the test button 5 times (fig.3).
- The red LEDs on the front of the Strobe will illuminate 5 times after you push the button.
- Press the test button on the Strobe. It should not cause other wireless paired alarms to goes off. If the Strobe is still paired, repeat the above procedure.
IMPORTANT: If you wish to remove the Strobe and Vibrating Pad from the wireless network, it is important to clear the RF memory of all network unit/units and reconnect all necessary RF device to a new network. Failure to do so means that the unit continues to try and communicate with the removed unit, and will result in a system fault.
| LED indication | Condition Indicated: | Action: |
| amber fault LED 1 flash every 1 second | Vibrating Pad is not connected to the strobe. | Reconnect Vibrating Pad to Strobe |
| amber fault LED 2 flash every 1 second | No RF device has been connected to the strobe yet. | User are required to wireless pair the strobe with other Red RF devices. Upon successful networking. This indication will automatically switch off. |
For Details, see section “Product Indicator (LEDs)” for details of action required.
TESTING THE STROBE LIGHT AND VIBRATING PAD WITH SMOKE / HEAT ALARMS
Testing the network from the smoke alarm or heat alarm.
Strobe Light: The Strobe will flash and the corresponding red (alarm) LED will also flash.
Vibrating Pad: The Vibrating Pad will vibrate.
Auxiliary (Clock): check section “CLOCK INPUT SOCKET” for details.
Repeat the procedure with all alarms in the wireless network. Testing the network from the Strobe Light

Briefly press the test button for 3 seconds on the Strobe and release. The Strobe will flash, and the Vibrating Pad will vibrate. At the same time, any alarm that is RF paired to the network will also go off.
The red LEDs on strobe will flash for 5 seconds and continue to illuminate for 60 seconds, the pad will vibrate for 5 seconds. The test mode will last for 60 seconds. To deactivate the strobe from the test mode, briefly press the test button once again. This confirms that all units are wirelessly paired.
| Activation / Deactivation | strobe Indication: | pads Indication: |
| Activate test mode: hold the test button for 3 seconds. (test mode will last for 60 seconds) | Red LEDs flash rapidly for 5 seconds, then stay solid | Vibrate for 5 seconds |
| Deactivate the test mode: press the test button for 1 time. | Red LEDs will turn off | N/A |
Testing
It is recommended that a self-test of all the units in your RF network is carried out weekly.
In addition the network should also be tested whenever:
- An additional alarm or ancillary product is added to the system.
- There are changes to the structure of your property.
- There are significant changes in the position of large items of furniture or electrical products in your home.
- You replace the battery in any product within the RF network.
- The Strobe and Vibrating Pad are now ready to be placed into position.
POSITIONING
Where should the Strobe Light and Vibrating Pad be installed?
If you have one Strobe Light and Vibrating Pad, it should be installed in the main room where you sleep. You may add additional Strobes Lights and Vibrating Pads to the network and install them in any room where you may need to be alerted in the event of an alarm. It is important that if you install additional Strobes Lights and Vibrating Pads you test each of these upon installation to check they have paired to the rest of the network.
Wireless Range: The wireless range of RF products is over 100 metres in clear air/clear line of sight.
However it is recommended not to exceed 30m as the maximum distance between any RF paired smoke alarm or heat alarm and the Strobe light and Vibrating Pad. This is because the range can be reduced by walls, and other obstructions in the building.
Position the Vibrating Pad:
- Under your pillow or mattress.
- Under a cushion on a chair where you are likely to fall asleep.
- Test and check that the Vibrating Pad can be felt in all circumstances where you may fall asleep. Ensure it is placed securely and cannot fall out ideally within the pillowcase or cushion cover.
Position the Strobe Light:
- Close to a power socket where it can be easily plugged in and the cable does not create a tripping hazard.
- Where you can see the Strobe flashing from anywhere in the room. · Where you can see the LEDs on the front of the unit.
NOTE: The Strobe can be fitted to a wall or it can be placed on a table. CAUTION: Do not put the Strobe and Vibrating Pad:
- Outside the building.
- In a damp or humid area.
- In an area where the temperature could regularly drop below 5°C or regularly rise above 40°C.
- Anywhere where the units can easily be knocked or damaged.
INSTALLING THE STROBE LIGHT
Make sure the Strobe is visible from anywhere in the room.
To wall mount the Strobe drill two suitably sized holes 30mm apart, centre to centre, using the template (fig5.1) (Warning – make sure that you check for electrical cabling and pipework hidden in the wall before carrying out any drilling).

In the pack you will find two screws and two screw anchors. Push the screw anchors (if needed) into the drill holes and secure the screw leaving the heads protruding so that the face of the head is 5mm away from the wall.
Now hook the strobe onto the mounting bracket.
If placing the strobe on a table instead of mounting on the wall, make sure it cannot be easily knocked or slide off. The green `Power’ LED should illuminate continuously to show that the AC power supply is connected.
LIMITATIONS
- The Strobe and Vibrating Pad will not operate in isolation, with non-RF Alarms, or any alarms made by other manufacturers.
- The separate units making up the Strobe and Vibrating Pad cannot be interchanged with those of other manufacturers and an attempt to do this may render the whole system unsafe.
- The Strobe and Vibrating Pad may not respond to the signal from a RF alarm if the alarm and the Strobe containing the control box are too far apart.
- The Strobe and Vibrating Pad may not respond to the signal from a RF alarm if there are obstructions that significantly reduce the signal (e.g.: steel reinforcement in concrete). Always test the operation of the Strobe and Vibrating Pad with all other alarms and units in the network after any changes to the building structure or in the position of large items of furniture.
DANGER: Under no circumstances should this product be immersed in water, or used in an area where water may come into contact with the product.
OPERATION
Standby Mode
The Strobe should be connected to the mains AC supply with the Vibrating Pad connected, and placed in a suitable position. The green “power” LED on the strobe will be permanently illuminated ![]()
Alarm Mode
Strobe - Flashing strobe and Fire red LED flashing
Pad – Vibration warning
When a RF paired smoke or heat alarm goes into “alarm” mode, the Fire red LED will illuminate, the Strobe will continuously flash and the Vibrating Pad will continuously vibrate. The way in which the Strobe and Pad alerts a warning is the same for both alarm types, i.e. the Strobe will flash and the Pad will vibrate in exactly the same way, irrespective of whether the alarm is triggered by a smoke alarm or heat alarm.
NOTE: The Strobe will stop flashing, the red LED will cease to flash and the Vibrating Pad will stop vibrating when the alarm sending the signal has been reset or has stopped if the danger is no longer present.
Only reset an alarm if you are certain there is no imminent danger from fire.
Locate Feature
When the network is in alarm mode, pressing the test button on any unit in the network will silence all other alarms in the network, for a period of 2 minutes, except the alarm that has sensed smoke or heat. This will enable the instigating alarm to be located.
UNPLUGGING FROM THE MAINS / POWER CUT
The Strobe and Vibrating Pad is designed to be mains powered. The internal rechargeable battery will still provide power if the mains is disconnected. A fully charged battery will allow the Strobe and Vibrating Pad to continue to operate for 72 hours. Only use the battery supplied in the pack or a genuine replacement. Other rechargeable batteries may damage the equipment or create a safety hazard.
WARNING: When the mains power is disconnected, the green power LED will no longer illuminate and the amber (Fault) LED will double flash every 5 seconds. Plug the Strobe back into the mains as soon as possible to recharge the battery and maintain operation.
If the amber LED is flashing once every 5 seconds when the green power LED is off then URGENTLY restore power to the unit as battery status is very low, and may fail to operate in an alarm situation.
NOTE: Once the Strobe is plugged back into the mains, the amber (Fault) LED will continue to flash twice every 5 seconds until the battery has fully recharged.
See “BATTERY CHARGING INSTRUCTION” for details.
PRODUCT INDICATORS (LEDs)
| STATUS | STROBE/PAD ACTIVITY | POWER (GREEN) | FIRE (RED) | FAULT (AMBER) | ACTION NEEDED |
| Cornea AC Power | flash 1 time | flash 1 lime | flash 1 time | none required | |
| Standby Mode | illuminated | none requied | |||
| Fire Adam Mode | strobe flashing / pad vibrating | remains illuminated (if AC power is connected) | flashing rapidly | alarming on fire evacuate property immediately | |
| Strobe in Test Mode | strobe flashing / pad vibrating rapidly for 5 seconds | remains illuminated (if AC power is connected) | flashes rapidly for 5 seconds and remains plummeted for 60 seconds (if without deactivation) | Activate the lest mode by holding ihe test button for 3 seconds. Deactivate the test mode by pressing the lest button 1 time. | |
| vibrating pad is not connected to strobe | remain (illuminated if AC power is connected) | 1 flash per second | reconnect the vibrating pad to strobe | ||
| No RF device paired with the strobe | remails illuminated (if AC power is connected) | 2 flashes per second | wireless pair the strobe with other Red RF devices. | ||
| Unit Fault | remains illuminated (d AC power is connected) | flashing rapidly | contact technical support (Refer to contact detais) | ||
| Flat Backup Battery | remains illuminated (if AC power is connected) | 1 flashes per 5 seconds | insufficient battery power to power the strobe. require charging urgently. Not recommanded to do the wireless pairing in this period. | ||
| Low Backup Battery | remains illuminated (if AC power is connected) | 2 flashes per 5 seconds | battery power is low. sufficient without AC mains power. User may do the wireless paling in this period but afterward. must charge up the strobe for 24 hours for safety. |
For further fault light Issue relating to battery, see section “BATTERY CHARGING INSTRUCTION”.
For further fault light Issue relating to RF connection, see section “WIRELESSLY PAIRING THE STROBE AND VIBRATING PADS TO WIRELESS SMOKE / HEAT ALARM”
WHAT TO DO IF YOUR STROBE LIGHT AND VIBRATING PAD GOES INTO ALARM
CAUTION: In all circumstances assume that your Strobe situation that has been triggered by either a smoke or heat alarm.
The type of incident triggering the Strobe and Vibrating Pad to go into alarm is indicated on the Strobe:
Fire alert
The Fire (red) LED will flash
WHAT TO DO IN THE EVENT OF A SMOKE ALARM OR HEAT ALARM TRIGGERING THE STROBE LIGHT AND PAD
What to do in case of a fire in your home
If you have made a family escape plan and practiced it with your family, you have increased their chances of escaping safely. Go over the following rules with your children each time you have a fire drill. This will help everyone remember them in case of a real emergency.
- Don’t panic; stay calm. Your safe escape may depend on thinking clearly and remembering what you have practiced.
- Notify every member in the residence of the fire. Get out of the house as quickly as possible. Follow a planned escape route. Do not stop to collect anything or to get dressed.
- Feel the doors to see if they are hot. If they are hot, do not open them – use an alternative escape route.
- Stay close to the floor. Smoke and hot gases rise. Cover your nose and mouth with a cloth (wet if possible). Take short, shallow breaths.
- Keep doors and windows closed. Open them only if you have to in order to escape.
- Meet at your planned meeting place after leaving the house. Carry out a head count.
- Call the fire service on 000 as soon as possible from outside your house. If possible use a neighbour’s phone or call box rather than a mobile phone (as the location can be traced from the number if the line is lost). Give the address and your name.
- Never go back inside the building until a member of the fire service has told you it is safe to do so.
If after proceeding with extreme caution you have been able to confirm that your Strobe and Vibrating Pad System was triggered by a nuisance alarm (which may occur from time to time from cooking or other non-emergency situations) you should silence the alarm that has been triggered. This will stop the Vibrating Pad from vibrating and the Strobe from flashing. It is important to practice escape plans and show everyone in the house, including children, what to do in the event of an alarm.
DISABLING THE VIBRATING PAD FROM THE STROBE FUNCTION TO ENABLE THE USE OF STROBE ONLY
Proceed this set up straight out of the package:
- Do not switch “ON” the socket. Plug the power cord into the back of the strobe. Do not connect the backup battery to Strobe. (fig 7.1)

- Press and hold the test button of the Strobe (fig 7.2)

- Switch “ON” the switch. Continue to hold the test button for about 5 seconds. The strobe will flash both red LEDS. (fig 7.3)

- Release the test button and connect the battery.
NOTE: The strobe will not display fault system due to disconnected Vibrating Pad. You can wireless pair the strobe to the RF network.
If the Vibrating Pad is disconnected but system still display fault signal, please operate the above steps again for correct disconnection.
To remove the Vibrating Pad from RF network:
- Switch “OFF” the socket power. Disconnect the backup battery. Disconnect Vibrating Pads from the Strobe Unit (fig.7.4)
- Press and hold the test button of the Strobe. (fig.7.2)
- Switch “ON” the socket power. Continue to hold the test button for about 5 seconds. The strobe will flash both red LEDS. (fig.7.3)
- Release the test button and connect the battery.
NOTE: The Vibrating Pad can be reconnected at any point and will operate correctly.
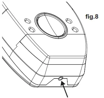
CLOCK INPUT SOCKET
A suitable alarm clock can be connected to the Strobe through 3.5mm mono jack plug to the input socket on the strobe(fig.8). The alarm clock signal is 5 to 24 Volts AC or DC output electrically isolated from the mains supply)
When the alarm clock triggers, the vibrating pads will turn on continuously to wake the person. This will not activate the internal strobe or other auxiliary outputs. So, the end-user will know this is a wake-up call instead of fire.
NOTE: In order for the clock to trigger the vibrating signal, the vibrating pads must be connected to the strobe.
REPAIR
WARNING: DO NOT attempt to repair your Strobe and Vibrating Pad System. Your wireless Strobe and Vibrating Pad is a sealed AC electrical device, and no attempt should be made to open the casing on any part of the system. Attempting to open any case will:
- Damage your system.
- Possibly result in exposure to a potentially lethal electric shock.
- Impair its operation.
- Invalidate your warranty.
If your wireless Strobe and Vibrating Pad is not working correctly and you are unable to resolve the problem, please contact Technical Support.
The battery provided has been chosen specifically for this application but will need to be replaced every 5 years under normal operating conditions. If during normal operation (i.e. connected to the mains supply for at least 72 hours) the amber LED flashes once every 5 seconds while the green LED is illuminated, contact Technical Support for advice.
IMPORTANT: Do not replace with any other type of battery.
WARRANTY
WARNING: DO NOT ATTEMPT TO OPEN THE HOUSING.
The Strobe and Vibrating Pad are warranty to be free from defects in materials and workmanships under normal use and service for a period of ten years from manufacture date (exclude replaceable battery). The company will not be obligated to repair or replace parts which are found to be in need of repair because of misuse, damage or alterations that occur after the date of purchase. Send the Strobe and Vibrating Pad with proof of purchase, postage and return postage prepaid, to local distributor. The liability of the company arising from the sale of this Strobe and Vibrating Pad shall not in any case exceed the cost of replacement and in no case shall the company be liable for consequential loss or damages resulting from the failure of the Strobe and Vibrating Pad.
RED SMOKE ALARMS PTY. SHALL HAVE NO LIABILITY FOR ANY PERSONAL INJURY OR PROPERTY DAMAGE, OR ANY SPECIAL INCIDENTAL, CONTINGENT OR CONSEQUENTIAL DAMAGE OF ANY KIND RESULTING FROM A FIRE. THE EXCLUSIVE REMEDY FOR BREACH OF THE LIMITED WARRANTY CONTAINED HEREIN IS THE REPAIR OR REPLACEMENT OF THE DETECTIVE PRODUCT AT RED SMOKE ALARMS PTY. LTD. OPTION. IN NO CASE SHALL RED SMOKE ALARMS PTY. LTD.’S LIABILITY UNDER ANY OTHER REMEDY PRESCRIBED BY LAW EXCEED THE PURCHASE PRICE. YOUR STROBE AND VIBRATING PAD IS NOT A SUBSTITUTE FOR PROPERTY, DISABILITY, LIFE OR OTHER INSURANCE OF ANY KIND. APPROPRIATE COVERAGE IS YOUR RESPONSIBILITY. CONSULT YOUR INSURANCE AGENT.
This does not affect your statutory rights.
This device is only suitable for single occupancy private dwellings only and not intended for multi occupancy private dwellings or commercial or industrial dwellings.
Waste electrical products should not be disposed of with normal household waste. Please recycle where facilities exist. Check with your Local Authority or retailer for recycling advice. New regulation will encourage the recycling of Waste from Electrical and Electronic Equipment (European “WEEE Directive” effective August 2005).
Red Smoke Alarms PTY. LTD. reserves the right to change specifications,modify designs and discontinue items without incurring obligation and whilst every effort is made to ensure that descriptions, specifications and other information in this catalogue are correct, no warranty is given in respect these of and the company shall not be liable for any error therein.
© Red Smoke Alarms 2023
This material copyright under Australian and international laws. Except as permitted under the relevant law, no part of this work may be reproduced by any process without prior written permission of and acknowledgment to Red Smoke Alarm PTY. LTD..
Contact Details
RED SMOKE ALARMS PTY. LTD.
35 Hitech Drive, Kunda Park QLD 4556
[email protected].
www.redsmokealarms.com.au
1300 316 552
![]()






















