09-6086 DENTEN TASK LAMP
SAFETY, ASSEMBLY, CARE, AND TROUBLESHOOTING
IMPORTANT SAFETY INSTRUCTIONS
TO REDUCE THE RISK OF FIRE, ELECTRICAL SHOCK, AND PERSONAL INJURY:
This lighting fixture is for indoor use only. This lamp is equipped with a polarized plug. One plug blade is wider than the other. DO NOT MODIFY the plug or power cord in any way. DO NOT EXCEED the recommended bulb wattage. Use only the type of bulb specified. Keep flammable materials away from bulb. DO NOT OPEN the product or alter the wiring in any manner. Extension cord: Follow precautions provided with power cord.
UNPACKING:
Use care when unpacking. Locate ALL PARTS INCLUDED before disposing of packaging materials.
ASSEMBLY, CARE, AND TROUBLESHOOTING
Tools Required For Assembly: Tools are not required. Required: Light bulb is not included.
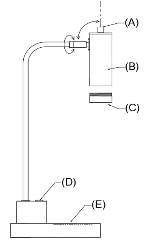
Parts Included: Refer to Figure 1.
A. Switch (attached, no assembly required)
B. Socket (attached, no assembly required)
C. Acrylic Diffuser (attached, no assembly required)
D. USB Port (attached, no assembly required)
E. Lamp Base (attached, no assembly required)

Assembly Procedure: Refer to Figure 1.
- Remove the Acrylic Diffuser (C) and install Bulb into Lamp Socket (B), then install the Acrylic Diffuser (C) back.
- Remove Plug Cap from Plug.
**ONLY use an LED bulb in this lamp.
Caring for and Cleaning your lamp:
1. To clean, wipe with a soft dry cloth
2. DO NOT USE cleaners, scouring pads, etc.
3. Unplug lamp and allow bulb to cool before changing bulb.
Troubleshooting
| Problem: | Possible cause: | Correction: |
| Bulb does not light | Bulb is burnt or damaged Power to lamp is off Lamp is not plugged in | Replace bulb Confirm power is on Confirm lamp is plugged in |
If the fixture still does not work after troubleshooting, please contact your local Ethan Allen Design Center.
SAVE THESE INSTRUCTIONS
©2016 Ethan Allen Global, Inc.














