Cole Task Lamp Assembly Instructions
096094 BRS
IMPORTANT SAFETY INSTRUCTIONS
TO REDUCE THE RISK OF FIRE, ELECTRICAL SHOCK, AND PERSONAL INJURY:
This lighting fixture is for indoor use only. This lamp is equipped with a polarized plug. One plug blade is wider than the other. DO NOT MODIFY the plug or power cord in any way. DO NOT EXCEED the recommended bulb wattage. Use only the type of bulb specified. Keep flammable materials away from the bulb. DO NOT OPEN the product or alter the wiring in any manner. If using an extension cord, follow precautions provided with the power cord.
Use care when unpacking. Locate ALL THE PARTS INCLUDED before disposing of packaging materials.
Remove the silica gel packet from the socket before plugging the lamp into an outlet.
ASSEMBLY, CARE, AND TROUBLESHOOTING
- No tools required for assembly
- Light bulb is not included
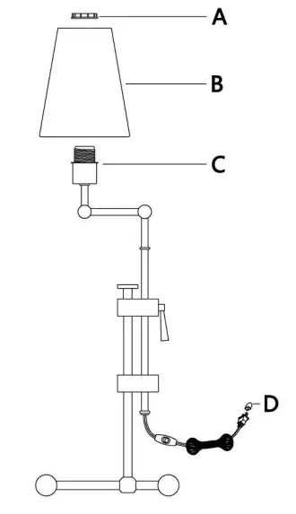
Parts Included: (Refer to the Figure on Right)
A. Socket Ring
B. Shade (may be packed in separate carton)
C. Lamp Socket and Lamp Base (connected, no assembly required)
D. Plug Cap

Assembly Procedure: (Refer to the Figure on Right)
- Install the Shade (B) onto Lamp Socket (C)
- Screw the Socket Ring (A) onto the Shade (B)
- Install the bulb into Socket (C)
- Remove the Cord Plug Cover (D) from plug
Caring For and Cleaning Your Lamp:
- Wipe with a soft, dry cloth.
- Avoid cleaners, scouring pads, etc., as these may cause damage to the lamp finish.
- Before changing the bulb, unplug the lamp and allow the bulb to cool first.
Troubleshooting
| Problem: | Possible cause: | Correction: |
| Bulb does not light | Bulb is burnt or damaged Power to lamp is off Lamp is not plugged in | Replace bulb Confirm power is on Confirm lamp is plugged in |
If the fixture still does not work after troubleshooting, please contact your local Ethan Allen Design Center.
SAVE THESE INSTRUCTIONS
©2018 Ethan Allen Global, Inc.












