
![]()
USER MANUAL
—— MERACH MR-S02 EXERCISE BIKE ——

Questions or Concerns?
IMPORTANT!
Please read all details before use, and keep this user manual for future reference.
PLEASE CONTACT US BEFORE THE RETURN: Mon-Fri,9:00 am-5:00 pm PST/PDT
[email protected] | (213) 672-2298
WHO WE ARE
![]()
Our customers aren’t just important; their health, fitness, and pure enjoyment for live is at the core of everything we do at MERACH. From innovative fitness research and cutting-edge product development, to our exceptional purchasing & after-sales service, we are our customers’ life-long partner in crafting a better fitness future.
Through quality fat-burning & muscle-building fitness equipment such as our quality rowing machines and exercise bikes, plus our innovative MERACH APP, and digital courses, we give the opportunity and support to all to pursue their health and fitness goals and discover a new way of healthy living.
Welcome to MERACH
This device contains a radio transmitter module with type approval code FCC ID ENTIFIER: 2A6QWMR-BLE001.
Please read the entire manual carefully before installing and usingthe bike, and save for further use.
Safety Instructions
Please properly keep this manual in a safe place for future reference.
- It is very important to read the entire manual thoroughly before installing and using the machine. Safe and effective training can only be achieved if the machine is properly assembled, properly maintained and used. Make sure all users are familiar with all warnings and precautions for this machine.
- Please consult your physician to determine if you have any medical or physical conditions that could put your health and safety at risk or prevent you from using the equipment properly. Your physician’s advice is essential if you are taking medication that affects your heart rate, blood pressure, or cholesterol level.
- Please always pay attention to your body signals, improper use of the machine may affect your health. If you experience any symptoms (including headache, chest pain, irregular heartbeat, shortness of breath, dizziness, or any discomfort), stop exercising immediately and consult your physician for permission before retraining.
- Always keep children and pets away from the machine. The machine is for adult use only.
- Please use this machine on stable and horizontal level ground, and put a protective layer on the floor or carpet to prevent floor damage. Make sure the distance between the machine and each obstacle should be at least 1.6 ft (0.5m).
- Please check all screws and nuts are tightened for safety before using the machine.
- The safe use of the machine can only be guaranteed by regular maintenance and repairs of vulnerable, worn and broken parts.
- Please follow the instructions in this manual to use this machine. Please stop using and operating immediately when you find any defective parts or abnormal sound. Make sure all issues are resolved before get back to use again.
- Please wear sports clothes, sports shoes, or other proper clothes. Loose-fitting clothing is not recommended, as loose clothing may get caught somewhere in the machine, hindering operation and possibly causing injury.
- This machine is only for home use. The Maximum user weight is 330lbs.
- This machine is not for professional medical treatment.
- This product is only for family use, and the rating is HC class.
- The overall performance of the machine and all moving parts must be checked regularly as to ensure the safety of the product.
- If the moving parts are damaged, please do not use until the parts are repaired.
- The product is not children’s toys, parents and other guardians should know their responsibilities, because children’s playful and adventurous inwardness might lead to some unexpected accidents.
Care & Maintenance
- Do not store the machine in a place exposed to direct sunlight, wind and rain, or with high humidity. Besides, if needed, please pack the machine to keep children away from touching or playing with the machine.
- Please check if there’s rust or cracks after long-term storage.
- Please understand for the consumable parts, the wear and tear may also occur deterioration even with proper maintenance.
- For long-term use of this machine, please wipe the dust regularly. Do not water it directly, or wipe with gasoline, abrasive powder, etc. Otherwise, it might cause cracks on the parts or main body, electric shock or fire. Please use Dilute neutral detergent for maintenance.
Before starting any training, please consult your physician, especially for those who are over 35 years old or with pre-existing health conditions. Please read all instructions before using the machine.
Product Overview

Parts List
NO | Parts | Name | Spec. | QTY |
| 1 | ![]() | 1 | ||
2 | ![]() | Handlebar Post | 1 | |
| 3 | ![]() | Seat Post | 1 | |
4 | ![]() | Seat | 1 | |
| 5 | Knob | M6*13 | 2 | |
6-L | ![]() | Left Pedal | 1 | |
| 6-R | ![]() | Right Pedal | 1 | |
7 | ![]() | Front Stabilizer | 1 | |
| 8 | ![]() | Rear Stabilizer | 1 | |
9 | Screw | M10*52 | 4 | |
| 10 | ![]() | Handlebar | 1 | |
11 | ![]() | Decorative Cover | 1 | |
| 12 | ![]() | Screw | M8*16 (with washer) | 3 |
13 | Battery | AAA (No.7) | 2 | |
| 14 | ![]() | Handlebar Back Cover | 1 | |
15 | Screw | M4*16 | 6 | |
| A | ![]() | Allen Key | S6 | 1 |
B | Open-end Wrench 14-15 | 14-15 | 1 |

Assembly Instructions

1. Remove the wheel chock bolt locked on the main frame with A: Allen Key.

2. Place the wheel chock, protective paper and bolt aside.
(Please store them in a bag as spare)

3. Prepare #7 Front Stabilizer, two #9 Screws and A: Allen Key.

4. Align the holes on #7 Front Stabilizer and the front bracket on the #1 Main Frame.

5. Insert two #9 Screws into the holes.

6. Tighten and secure the two #9 Screws with A: Allen Key.

7. Complete assembly of #7 Front Stabilizer.

8. Prepare #8 Rear Stabilizer, two #9 Screws and A: Allen Key.

9. Align the holes on #8 Rear Stabilizer and the rear bracket on the #1 Main Frame.

10. Insert two #9 Screws into the holes.

11. Tighten and secure the two #9 Screws with A: Allen Key.

12. Complete the assembly of #8 Rear Stabilizer.

13. Loosen the #5 Knob pre-locked on the #1 Main Frame, then pull it outward.

14. Pull the #5 Knob outward with one hand, then insert the #2 Handlebar Post to #1 Main Frame with the other hand.

15. Align the #5 Knob to an adjustment hole in #2 Handlebar Post and then tighten this knob.

16. Prepare #10 Handlebar, #14 Handlebar Back Cover, six #15 Screws, three # 12 Screws and A: Allen Key.

17. Clamp # 14 Handlebar Back Cover into the # 10 Handlebar.

18. Make sure the two clasps are closed.

19. Lock the six screws with tool A.

20. Align the Handlebar to the #1 Main Frame.

21. Make sure three #12 Screws are all tightened.

22. Prepare #11 Decorative Cover.

23. Click in the #11 Decorative Cover to the #10 Handlebar.

24. Complete the assembly of #10 Handlebar.

25. Loosen the #5 Knob pre-locked on the #1 Main Frame, then pull it outward.

26. Pull the #5 Knob outward with one hand, then insert the #3 Seat Post to #1 Main Frame with the other hand.

27. Align the #5 Knob to an adjustment hole in #3 Seat Post and then tighten this knob.

28. Prepare #4 Seat, and remove the knob and the washer as the photo shown.

29. After removing the knob and the washer.

30. Put the #4 Seat onto #3 Seat Post.

31. Then install the washer on the bolt on the #4 Seat.

32. Tighten the knob onto #4 Seat.

33. Make sure the #4 Seat will not wobble.

34. Prepare #6-R Right Pedal and B: Open-end Wrench 14-15.

35. Make sure to match the #6-R Right Pedal and the right crankarm (both marked R).

36. Screw the #6-R Right Pedal clockwise by hand onto the right crankarm (at least 3 laps)

37. Tighten the #6-R Right Pedal with the 15 end of B: Open-end Wrench 14-15, make sure it’s fully tightened.

38. Complete the assembly of #6-R Right Pedal.

39. Prepare #6-L Left Pedal and B: Open-end Wrench 14-15.

40. Make sure to match the #6-L Left Pedal and the left crankarm (both marked L).

41. Screw the #6-L Left Pedal counterclockwise by hand onto the left crankarm (at least 3 laps)

42. Tighten the #6-L Left Pedal with the 15 end of B: Open-end Wrench 14-15, make sure it’s fully tightened.

43. Complete the assembly of #6-L Left Pedal

44. Prepare two #13 AAA Batteries (No. 7).

45. Remove the battery compartment door.

46. Install two #13 AAA Batteries (No. 7) according to the correct polarity.

47. Install the battery compartment door back and make sure it’s clicked properly.

48. Complete assembly.
Precautions for Use

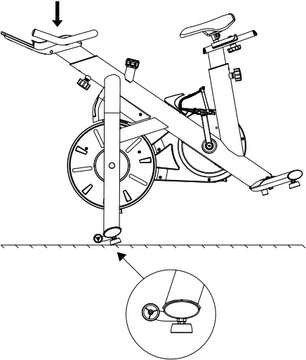
Transport tips:
Press the #10 Handlebar downwards to land the transport wheels of the #7 Front Stabilizer on the ground to move the bike.

WARNING
PLEASE NOTE: This device comes with two MSDS certified AAA trial batteries. The service life of these batteries may be the same as that of standard batteries. To ensure normal operation, please replace them in time.
(1) Battery compartment door is on the flywheel (location as photo shown)
(2) Place the two AAA batteries on the correct battery installation polarity.
(3) When the bike is searching for Bluetooth connection the Bluetooth indicator light will start to flash. The Bluetooth indicator light will turn into a steady light when connected to the App on your phone or tablet. The Bluetooth indicator light will change to sleeping mode after 3 minutes of inactivity.
(4) After using for a period of time, if the Bluetooth indicator light does not light or poor Bluetooth connection, please replace the AAA batteries.

Tablet Holder Adjustment
You cab place your tablet or smart phone on the tablet holder.
Adjustment Instructions
You can adjust your bike as a normal road bike, which you can have the correct postures and make sure your muscles can get proper training. Make small adjustments, then pedal the bike to test the effect.
I-Seat Adjustment
You can adjust your seat to the most comfortable angle. Firstly, you can adjust the seat in back and forth or adjust the height of the seat post to make yourself more comfortable to use the bike.
(1) Adjust the seat in back and forth: Loosen the knob counter-clockwise 1-2 laps, and move the seat to the proper position then tighten the knob clockwise.

(2) Adjust the seat height: Loosen the knob counter-clockwise 2-3 laps, then pull the knob outwards, and use the other hand to move the seat post to the proper height then tighten the knob clockwise.
(CAUTION: Do not exceed the MAX mark printed on the seat post while adjusting the height)

II-Handlebar Adjustment
Loosen the knob counter-clockwise 2-3 laps, then pull the knob outwards, and use the other hand to move the handlebar post to the proper height then tighten the knob clockwise.
(CAUTION: Do not exceed the MAX mark printed on the seat post while adjusting the height)

Brake Resistance Knob
You can increase and decrease the resistance by turning the knob as the arrow shows. You can adjust the resistance based on your needs to achieve the best effect of exercise. If an urgent stop is needed, please press down the knob to brake, it can stop the flywheel from spinning. Unpressed to release the knob.

Leveling Adjustment
If the bike wobbles during use, please adjust the 4 foot-pads on the front and rear stabilizers. Firstly, use the 14 end of the B: Open-end Wrench 14-15 to loosen the nut clockwise, adjust the foot-pads until the bike is stable, and then use the 14 end of the B: Open-end Wrench 14-15 to tighten the nut.


MERACH APP Setup
Download and use of MERACH
* Our customer can get a 180-day MERACH membership. Please contact us through [email protected] after receiving the product to get an exclusive redemption code. Please include your order ID and MERACH app Username.
1. To download the MERACH app, scan the QR code or search “MERACH” in the Apple App Store® or Google Play Store.
MERACH APP Download APP Connection Guide
2. Open the MERACH app. Log In or Sign Up.
3. Follow the in-app instructions to set up your device.
USING YOUR ROWING MACHINE
Note:
- Using the MERACH app allows you to get free workout courses and access additional functions and features.
- Coaching courses are only available in English.
- To download the Kinomap app, scan the QR code or search “Kinomap” in the Apple App Store® or Google Play Store.
- Open the Kinomap app. Log In or Sign Up.
- Select the corresponding fitness equipment
- Turn on Bluetooth, and choose FTMS.
- Select “Exercise bike”, and find your “MRK-S02-XXXX”.
- Start training and explore different workout methods.
Warm-up
Do stretches before exercising. Warm muscles are easier to stretch, so start with a 5-10 minute warm-up, then do the stretch as follows – 5 times, 10 seconds or more per leg. Do it again after the workout.
1. Stretch down
Bend your knees slightly, slowly bend your body forward, relax your back and shoulders, and try to touch your toes with your hands. Hold for 10-15 seconds, then relax.
Repeat 3 times (see Figure 1).

2. Seated hamstring stretch
Sit with one leg straight. Bring the other leg in so that it is snug on the inside of the straightened leg. Try to touch your feet with your hand’s toe. Hold for 10-15 seconds, then relax.
Repeat 3 times for each leg (see Figure 2).

3. Calf and Achilles tendon stretch
Stand with both hands against the wall or tree, one foot behind.
Keeping your back legs upright and your heels on the ground, lean toward a wall or tree. Hold for 10-15 seconds, then relax.
Repeat 3 times for each leg (see Figure 3).

4. Quadriceps stretch
Reach back with your right hand, grab your right foot and slowly pull it toward your hips until you feel the muscles in the front of your thigh tense.Hold for 10-15 seconds, then relax.
Repeat 3 times for each leg (see Figure 4).

5. Sartorius (inner thigh muscle) stretch
Sit with your feet facing each other and your knees facing out.
Grab your feet with both hands and pull toward your groin.
Hold for 10-15 seconds, then relax.
Repeat 3 times(see Figure 5).

Troubleshooting
Problem | Possible Solution |
How to adjust gear? | Turn the knob clockwise to increase resistance and counterclockwise to decrease resistance. The resistance of the bicycle is adjustable with infinitely variable speed and multiple gears. |
What to do when the handle shakes slightly? | Check whether the connecting screws of the handle and the front column tube are firmly fixed. |
| Check if the retaining knob is locked. | |
What to do when the machine shakes during use? | Check whether the front and rear foot tubes are fastened enough. |
What to do when pedals loose? | Following the setup instruction, to check whether the left and right pedals are locked on the first step. |
| Following the setup instruction, to check whether the inner fixing nut of the second stage of setting up the pedal is locked. | |
Why there is abnormal noise when riding with maximum resistance? | When riding with maximum resistance, the contact between the brake block and the wheel will produce abnormal noise. Turn the resistance knob one or two turns counterclockwise will eliminate the abnormal noise. Our engineers would not recommend customers to use the bike at maximum resistance for a long time. |
What to do when the whole machine is slightly tilted? | Check whether the four adjusting foot pads at the bottom of the front and rear foot tubes are on the same plane. |
| Adjust and rotate the raised foot pads parallel to the floor. |
Warranty Information
Product Name | MERACH Exercise Bike |
Model | MR-S02 |
Default Warranty Period | 12 Months |
| For your own reference, we strongly recommend that you record your order number and date of purchase. | |
Date of Purchase | |
Serial Number | |
Terms & Policy
The MERACH products are premium in material, craftsmanship, and service. MERACH fit 1-year limited warranty, they are effective from the date of purchase.
MERACH will replace defective products based on eligibility. Refunds are available to the original purchasers of our products within the first 30 days of purchase. This warranty extends only to personal use instead of commercial, rental, or any other uses for which the product is not intended for. Each product has no other warranties other than the already provided warranties.
This warranty is non-transferable. MERACH is not responsible for any damages, losses or inconveniences caused by equipment’s failure, user’s negligence, user’s abuse, or improper operation that does not follow the included user manual.
This warranty does not apply to the following situations:
- Damage due to abuse, accident, alteration or vandalism.
- Improper or inadequate maintenance.
- Damage in return transit.
- Unsupervised use by children under 18 years old.
MERACH and its subsidiaries are only responsible for damages caused by the intended use or as instructed in the user manual. Some states do not allow this exclusion or limitation of incidental or consequential losses, so the above disclaimer may not apply to you. This warranty gives you specific legal rights and you may also have other rights, which may vary from state to state.
All expressed and implied warranties, including the warranty of merchantability, are limited to the period of the limited warranty.
Memo
![]()
@merachfit
@merachfit
@merachfit
@merachfit
merachfit.com
Customer Service: [email protected]
Official Website: merachfit.com
Toll-Free: (213) 672-2298






































