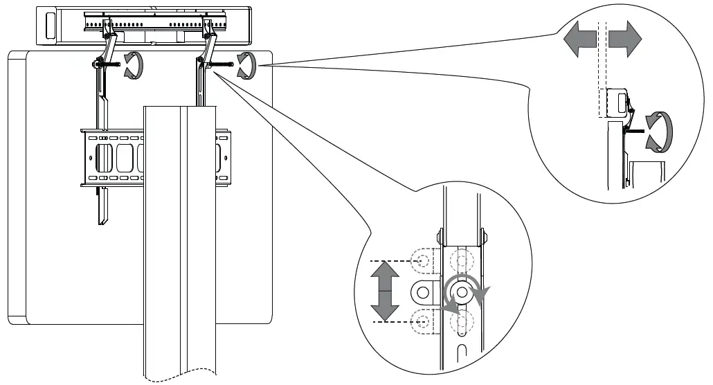
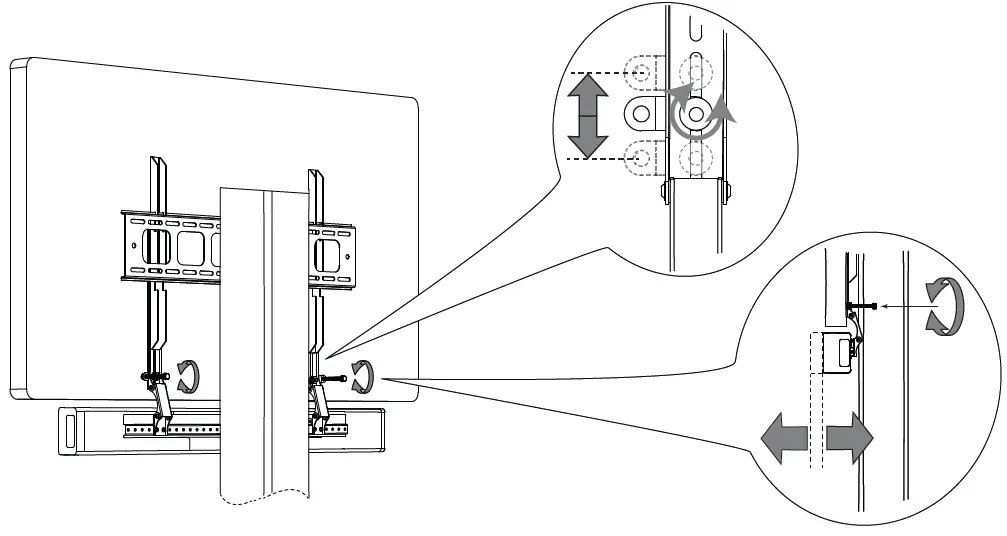
nureva DM-HDL200 Display Mount

The HDL200 Display Mount is designed to fit most 55” to 85” displays that accept VESA mounts (M6 or M8 screws). Visit https://support.nureva.com for more information.




















Please contact your reseller if you have any questions regarding your Nureva product, including support and warranty questions. Please see us at https://support.nureva.com/ for troubleshooting
and technical documentation. For general information on our products, please visit us at www.nureva.com.
NOTE: Any product returned without an RMA number will be refused upon delivery. NUREVA INC. 1301, 401 9th Avenue SW, Calgary, AB Canada T2P 3C5



















