VLM-5400 Full Motion LED LCD TV Wall Mount

Product Information: Full Motion LED/LCD TV Wall Mount (VLM-5400)
The Full Motion LED/LCD TV Wall Mount (VLM-5400) is a sturdy, adjustable wall mount designed for flat screen TVs. It is compatible with VESA patterns 200×200/300×300, 400×200/400×400, and 600×400. The mount can hold up to 65kg (143lbs) and has a maximum extension of 80cm (31.5in). The mount comes with all necessary hardware for installation, including adapter brackets, wall mount, knobs, wrench, wall template, bubble level, screws, washers, spacers, concrete anchors, and D8 washer.
Product Usage:
- Read the manual: Before beginning installation, read the entire instruction manual carefully to understand the installation process and ensure that you have all the necessary parts.
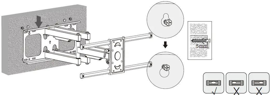
- Assemble the components: Ensure that you have received all parts according to the component checklist prior to installation. Follow the instructions to assemble the adapter brackets, wall mount, and other components using the provided hardware.
- Find the exact location: Using the wall template provided in the package, find and mark the exact location of the mounting holes on the wall where you want to mount your TV.
- Drill pilot holes: Using a drill with a 5mm bit (not included), drill pilot holes at the marked locations. For wood stud walls, use ST8x90 screws (provided in Package W). For solid brick and concrete walls, use concrete anchors (provided in Package W).
- Screw the wall mount onto the wall: Fix the wall mount onto the wall using screws and washers provided in Package M. Ensure that the wall mount is securely attached to the wall.
- Install the adapter brackets: Depending on the type of screen you have, choose the appropriate screws, washers, and spacers (if necessary) provided in Package M to install the adapter brackets onto your TV. Tighten all screws, but do not over tighten.
- Hook the TV onto the wall mount: With the help of another person, carefully lift and hook your TV onto the wall mount. Ensure that it is securely attached.
- Cable management: Run your cables through the cable clip provided and leave some slack for cantilever arm movement.
- Adjustment: Use the handle provided to tilt your TV up and down and nuts for level adjustment to adjust your TV’s position to your desired angle.
- Clean up: Ensure all screws, nuts, bolts, and other components are tightened and secure.
Following these instructions will allow you to safely and securely mount your TV on the Full Motion LED/LCD TV Wall Mount (VLM-5400).
CAUTION: DO NOT EXCEED RATED LISTED WEIGHT. SERIOUS INJURY OR PROPERTY DAMAGE MAY OCCUR!
NOTE: Read the entire instruction manual before you start installation and assembly.
WARNING
- Do not begin the installation until you have read and understood all the instructions and warnings contained in this installation sheet. If you have any questions regarding any of the instructions or warnings, please contact your local distributor.
- This mounting bracket was designed to be installed and utilised ONLY as specified in this manual. Improper installation of this product may cause damage or serious injury.
- This product should only be installed by someone with good mechanical ability who has basic building experience and fully understands this manual.
- Make sure that the supporting surface will safely support the combined weight of the equipment and all attached hardware and components.
- If mounting to wood wall studs, make sure that mounting screws are anchored into the centre of the studs. The use of a stud finder is highly recommended.
- Always use an assistant or mechanical lifting equipment to safely lift and position the equipment.
- Tighten screws firmly, but do not over tighten. Over tightening can cause damage to the items, This greatly reduces their holding power.
- This product is intended for indoor use only. Using this product outdoors could lead to product failure and personal injury.
Component Checklist
IMPORTANT: Ensure that you have received all parts according to the component checklist prior to installation. If any parts are missing or faulty, telephone your local distributor for a replacement.


1a. For Wood Stud Wall Mounting


WARNING
- Make sure that mounting screws are anchored into the centre of the studs. The use of a stud finder is highly recommended.
- Installers are responsible to provide hardware for other types of mounting situations.
- Installers must verify that the supporting surface will safely support the combined weight of the equipment and all attached hardware and components.
For Solid Brick and Concrete Mounting


WARNING
Installers must verify that the supporting surface will safely support the combined weight of the equipment and all attached hardware and components.
Installing the Adapter Brackets
For Flat Back Screens
For Recessed Back Screens or to Access A/V Inputs
Note: Choose the appropriate screws, washers and spacers (if necessary) according to the type of screen.
- Position the adapter brackets as close as possible to the centre of the TV.
- Screw the adapter brackets onto the TV.
- Tighten all screws but do not over tighten.
Hooking the TV onto the Wall Mount

- Lift the TV with brackets attached and hook the brackets over the sliders.
- Close the fasteners and tighten the knobs to secure the TV to the mount.
Cable Management
Run the cables through the cable clip.
Note: Leave slack in the cable for cantilever arm movement.
Adjustment

Adjust to the desired position or tilt.
Maintenance
Check that the bracket is secure and safe to use at regular intervals (at least every three months).
Please contact your dealer if you have any questions.


















