POLYJOHN PH04 Comfort XLT Flushing Unit

SPECIFICATIONS
DIMENSION IMPERIAL METRIC
Exterior Height 91 in 231 cm|
Exterior Width 62 in 157 cm
Exterior Length 62 in 157 cm
Door Frame Height(I.D.) 74 in 188 cm
Door Frame Width(I.D.) 32 in 81 cm
Tank Seat Height 19 in 48 cm
Weight 240 lb 108 kg
Flush Tank Capacity 45 gal 170 L
Side Panel Decal Area 12” x 23” 30cm x 58cm
Door Panel Decal Area 27” x 27” 68cm x 68cm
We recommend reading through the entire Assembly Instructions prior to proceeding with installation, service or maintenance. All ref- erences to left and right throughout this guide are as viewed from the front.
POLYJOHN USA
Poly John Enterprises Corp
2500 Gaspar Ave.
Whiting, IN 46394
Phone: 800-292-1305
Fax: 219-659-0625
Web: www.polyjohn.com Email: [email protected]
POLYJOHN WORLDWIDE
Poly John (UK) Ltd.
Equinox 1 Audby Lane Wetherby, England LS22 7RD Phone: 44 (0) 1937-583333
Fax: 44 (0) 1937-583322
Web: www.polyjohn.co.uk Email: [email protected]
POLYJOHN CANADA
PolyJohn Canada
P.O. Box 2300 199 Forest Plain Rd.
Orillia, Ontario LV3 6S2 Phone: 800-465-9590
Fax: 705-325-8250
Web: www.polyjohncanada.ca Email: [email protected]
Comfort XLT – Flush Tank Parts Diagram

PH03-0003 –
Front Assembly



FS3-0026*FF –
Fleet Sink
Flushing Model

FULL SIZE SCALE FASTENER DRAWINGS
- (113) PC-000100 Rivet Large Flange, Short

- (12) PC-000105 Rivet Small Flange

- (123) PC-000106 Washer 3/16” Back-up

- (4) PC-000102 Rivet Small Flange, Short

- (1) PC-000117 Rivet Hollow Wall 3/4” Grip

- 29) PC-000123 Washer 1/4” x 5/8” Flat

- (3) PC-000104 Rivet Small Flange, Long

- (1) PC-000122 Screw 1/4”-20 x 2-1/4” Truss Head

- (1) PC-000168 Washer 5/16” x 7/16” Flat

- (4) PC-000175 Screw 1/4”-20 x 1-1/2” Phillips

- (2) PC-000174 Bolt 1/4”-20 x 1-1/4” Hex Head

- (30) PC-000140 Nut 1/4”-20 Nylok

- (23) PC-000139 Bolt 1/4”-20 x 1” Hex Head

- (1) PC-000147 Screw #10 x 3/4” Phillips Head

- 27) PC-000121 Washer 1/4” x 1-1/4” Fender

GENERAL OVERVIEW
- Please follow directions in the sequence they are presented. It is suggested you read through the entire assembly instructions prior to proceeding.
- Proper handling is required, especially structures that have flat floors with minimal foundations. Dropping this unit during transport and site set-up may cause structural damage or misalignment of the front assembly and door.
- Position on clear level ground, shims may be used under the floor to aid in leveling, or the door may be out of alignment.
- The PH04 Model restroom assembly will require two people.
- All drilling with 13/64” and 1/4” drill bits. All rivet holes drilled 13/64” dia.
- All references to left, right, front and rear throughout the entire assembly instructions are as viewed from the front of the restroom.
Tools Required for Assembly
- 13/64” Drill Bit
- 1/4” Drill Bit
- Tapered Awls
- Rivet Gun w/ 3/16” nose piece
- Phillips & Slotted Screwdriver • Hammer
- Tape Measure
- (2) 7/16” Wrenches
- Vise-Grips (Locking Pliers
ASSEMBLY INSTRUCTIONS
These assembly instructions are for foot flush and hand flush, recirculating and fresh flush systems. Some steps will not be needed for your particular configuration.
Step 1. Foot Flush Pump Assembly for Recirculating and Fresh Flush (Continue to step 2 for Hand Flush Place a PC-000352 hose clamp on the end of a 60” long 1” diameter hose and push the end of the hose on the intake side of the foot pump. Tighten clamp and repeat for the discharge side of the pump. Slip the other ends of the hoses through the rectangular cutout in the front of the tank riser that is mounted to the floor plate. Feed the ends of the hoses through the cutout towards the rear of the tank riser. Tilt the foot pump housing assembly into the front cutout. Raise the floor plate assembly so that you can drill a 13/64” hole through the underside of the floor (in the counterbore located under the foot pump assembly) and into the foot pump assembly. Fasten in place using a PC-000117 rivet.
PC-000117 Rivet 1 Used in this step

Step 2. Three Wall Panels and Four Corner Molding Sub-Assembly
Locate three wall panels and four corner panels. Choose one of the wall panels to be the rear panel and add a corner molding to each side of the rear panel wall using (9) PC-000100 rivets and (9) PC-000106 back-up washers. Rivet in the center holes first, then to the top, and back down to the bottom. Follow this procedure for both of the side wall panels connecting them to both rear corners. Repeat, as well for both of the front corner moldings.
NOTE: (Make sure to rivet corner moldings from the outside in, this gives a good visual appearance.) Lift the three wall panels and four corner moldings sub-assembly and wrap them around the base, resting the corners on the 1/4” raised areas molded into the top of the base.
PC-000100 Rivet 54 Used in this step
PC-000106 Washer 54 Used in this step

Step 3. Front Sub-Assembly to the Base Surrounds
Lift the front sub-assembly and place the legs of the aluminum door jamb into the “pockets” of the base surround on each side of the door opening. Attach the front assembly to the front corner moldings by riveting into the pre-drilled holes using (18) PC-000100 rivets and (18) PC-000106 back-up washers as in Step 1. NOTE: (Make sure that you rivet from the outside of the front toward the corner.) For shipping purposes, there is a zip tie holding the holding the door closed with the front assembly. Cut this tie off and install a PC-000107 rivet into the hole in the door jamb. Grab one side of the front assembly and pull tightly into the “pocket” of the base surround and place a pair of vise-grips onto the base surround holding the front sub-assembly. Locate the three pre-drilled holes in the bottom of the door jamb, using a 1/4” drill bit, drill into those holes all the way through the base surround. Insert
into the two bottom holes (2) PC-000175 screws with (2) PC-000123 washers with (2) PC-000140 lock-nuts. DO NOT TIGHTEN TO THE END OF THE THREAD, TIGHTEN JUST SO THE LOCK-NUT IS JUST FLUSH AT THE END OF THE SCREW. Insert into the top hole (1) PC-000174 bolt with (1) PC-000123 washer and (1) PC-000140 lock-nut. DO NOT TIGHTEN TO THE END OF THE THREAD, TIGHTEN JUST SO THE LOCK-NUT IS JUST FLUSH AT THE END OF THE SCREW. Repeat this for the other side of the front sub-assembly.
- PC-000100 Rivet 18 Used in this step

- PC-000106 Washer 18 Used in this step

- PC-000123 Washer 6 Used in this step

- PC-000175 Screw 4 Used in this step

- PC-000174 Bolt 2 Used in this step

- PC-000140 Nut 6 Used in this step

Step 4. Attaching the Wall Panels and Corner Moldings to the Base Surround
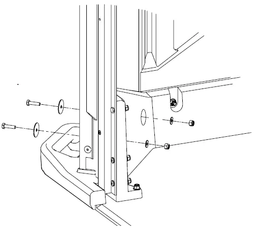
For the side panels: Place a PC-000121 washer on a PC-000139 bolt and insert the bolt though the center hole in the left side panel and into the base surround. Place a PC-000123 washer on the inside along with a PC-000140 nut and tighten. Repeat this step for the other two side panels. Level the left side panel, and using the remaining holes in the side as a guide, drill 1/4” holes all the way through the base surround. Fasten the side to the base using the same method as for the center hole. Repeat this for the rest of the sides. For the corner moldings:
NOTE: (Be sure the corners are pushed tight against the base surround by pushing the corner at the rib in the center.) Start with the front corners first. From the inside of the unit, locate the two recesses in the front inside corners of the base surround. Drill a 1/4” hole through the centers of these recesses and through the corner panel. Fasten in place using the PC-000121 washers and PC-000139 bolts on the ouside with the PC-000123 washers and PC-000140 nuts on the inside. Tighten in place. Repeat these steps for the remaining corner panels.
- PC-000140 Nut 23 Used in this step

- PC-000139 Bolt 23 Used in this step

- PC-000121 Washer 23 Used in this step

- PC-000123 Washer 23 Used in this step

Step 5. Roof Assembly
NOTE: (The front and three wall panels are supplied with predrilled holes at the top center of each panel. The roof is supplied with dimple spots along each of the eight edges.) Use a 13/64” drill bit. Drill holes in the center dimple spots of the roof. IMPORTANT – BE SURE TO ALIGN THE HOLE FOR THE VENT STACK IN THE ROOF WITH THE HOLE IN THE TANK. Start with the front of the unit: The roof needs to be aligned with the center hole in the jamb. When aligning the roof to the front assembly, apply pressure to the left corner molding, this will cause the door to move up and down within the aluminum door jamb. Before installing the rivets in this area square up the door to the jamb. Someone on the outside will rivet PC-000100 rivets through each of the four center holes of the roof to the wall panels, while another person places PC-000106 back-up washers on the rivet stems from inside the unit. Proceed with the corner moldings: Using a 13/64” drill bit, drill holes in the center on both sides of the rib and then rivet into place as above. For the wall panels: Hold the roof firmly against the wall panels. Using a 13/64” bit, drill through the remaining dimple spots of the roof into the wall panels. The person on the outside will again rivet the PC-000100 rivets through the drilled holes, while from inside, someone will place PC-000106 back-up washers on the rivet stems

- PC-000100 Rivet 28 Used in this step

- PC-000106 Washer 28 Used in this step

Step 6a. Foot Flush Waste Tank Installation
Place the waste tank into position and insert the two hoses coming from the foot pump into the two holes in the back rib of the tank. Locate the discharge hose (the hose coming from the right side hole) and place a PC000352 clamp on the end. Connect the hose to the nozzle mounted on the back of the flush bowl and tighten the clamp in place. For Recirculating Flush: Locate the intake hose (coming from the left side hole) and place a PC-000352 clamp on the end. Insert the plastic filter assembly into the end of the hose and tighten the clamp in place. For Fresh Flush: Take the intake hose (coming from the left side hole) and push it through the hole on the right side of the tank, leaving no slack inside the tank.
Step 6b. Waste Tank Installation (all flushing styles)
On the outside of the unit measure and mark drill spots. All holes will be 17-3/4” up from the top of the base surround. For the rear wall panel make a mark above each ‘corner’ in the bottom rib. Make another mark half way between those two. For the corner molding, make a mark on each side of the center rib, centered in the flat area. On the left wall panel, make a mark above the ‘corner’ of the bottom rib and another 13-1/2” towards the front. Position the waste tank in the left rear corner on the tank supports of the base surround. While inside one person holds the tank in the proper position, using a 13/64” bit, someone on the outside will drill through the 7 spots just marked. CAUTION: WHEN DRILLING HOLES, ESPECIALLY THE REAR PANEL, BE SURE TO DRILL ONLY THROUGH THE FIRST WALL OF THE TANK. Place a PC-000106 back-up washer on the body of the PC-000105 rivet and rivet in place. Repeat this for the remaining 6 holes.

- PC-000105 Rivet 7 Used in this step

- PC-000106 Washer 7 Used in this step

Step 7. Fly Screen Installation
Each of the three sidewall panels has two vent screens. On the surface of each screen there is a date stamp symbol. The symbol goes toward the center of the sidewall panel, facing the inside. For each of the sidewalls, insert into the vent slot one screen from each side and overlap the center holes of the screens (at the date stamp symbol). IMPORTANT – MAKE SURE BOTH SCREENS ARE CENTERED IN THE VENT SLOT. From inside the unit using a 13/64” drill bit, drill a hole through the center hole of the screen and into each of the side walls. From the outside rivet a PC-000100 rivet into the center hole with a PC-000106 back-up washer on the inside. From inside the unit using the holes at the ends of the screens as guides, drill holes through to the wall panels. From the outside rivet the screens in place with PC-000100 rivets and PC-000106 back-up washers on the inside.
- PC-000100 Rivet 9 Used in this step

- PC-000106 Washer 9 Used in this step

Step 8. Vent Stack Installation
Slide the vent stack up through the 4” hole of the roof and down into the corresponding hole in the tank. Using a 13/64” drill bit, drill a hole through the boss on the tank and through the vent stack. Rivet into place with (1) PC-000117 rivet.
- PC-000117 Rivet 1 Used in this step

Step 9. Door Handle and Rotary Latch
Mark the hole locations on the front of the door for the door handle by measuring up from the bottom of the door by 31-1/2” and measuring in from the side of the door by 1/2”. This is the location for the bottom mounting hole. Using a drill with a 13/64” drill bit, drill a hole through the plastic of the door and the first wall of the steel door pillar. Rivet the door handle to the door using a PC-000104 rivet through the bottom hole of the handle. Making sure the handle is straight on the door, use the very top hole of the handle as a drill guide and drill a 13/64” hole through only the outside wall of the steel door pillar. Rivet in place using a PC-000104 rivet. To mount the rotary latch, insert the PC-000122 Screw through a PC000121 washer and into the front of the door. Place the rotary latch, another PC-000121 washer on the end of the screw and fasten in place using a PC-000140 lock nut. Adjust the tightness of the screw to adjust the ease of the latch movement.

- PC-000104 Rivet 2 Used in this step

- PC-000122 Screw 1 Used in this step

- PC-000121 Washer 2 Used in this step

- PC-000140 Nut 1 Used in this step

Step 10 . Door Check Cable
Align the three holes of the metal bracket on the door check cable to the holes in the top inside center of the door so that the bracket angles toward the unit and the three holes line up with the holes in the bracket (as shown). Rivet into place using (3) PC-000105 rivets. From the outside of the unit, insert a PC-000104 rivet into the pre-drilled hole at the top of the door opening of the door jamb. Place the looped end of the door check cable on the end of the rivet followed by (1) PC-000168 washer and (1) PC 000106 back-up washer. Rivet in place.
- PC-000106 Washer 1 Used in this step

- PC-000105 Rivet 3 Used in this step
PH04 Comfort XLT Flushing – June 2019 Page 12 of 15
- PC-000168 Washer 1 Used in this step

- PC-000104 Rivet 1 Used in this step

Step 11. Sink Installation
For Fresh Flush Sink: Place the sink assembly into the corner and tilt the sink out so that the intake hose coming from the tank can be connected to the back of the sink. Place a PC-000352 clamp over the end of the hose, install the hose on the fitting, and tighten the clamp in place.
For All Sink Installation: Place the sink assembly into the corner, inserting the sink drain hose into the corresponding hole in the tank. With someone holding the sink tight in the corner, have another person drill 5 – 13/64” holes in the locations shown in the figure to the left. Be sure to drill only through the side wall and only one wall of the sink surround. Fasten in place using a PC-000106 washer on the end of a PC-000105 rivet and rivet in place. Place a PC-000147 screw through the hole in the sink foot pump mounting plate and screw into the floor plate.
- PC-000105 Rivet 5 Used in this step

- PC-000106 Washer 5 Used in this step

- PC-000147 Screw 1 Used in this step

Step 12. Soap Dispenser Installation
Remove the mounting plate from the soap dispenser: To do this, start by turning the lid of the dispenser counterclockwise and remove. Then, push in the locking tab at the rear of the dispenser and push up on the soap container, separating the container from the mounting plate. Using the mounting plate as a drill guide, drill 3 – 13/64” holes into the sink surround in the location shown to the right. Rivet in place using 3 – PC-000105 rivets. Reassemble the dispenser.
PC-000105 Rivet 3 Used in this step
Step13. Paper Towel Dispenser Installation
Open the Paper Towel dispenser by lifting out on the sides of the lid and lifting up. Place the dispenser in the location shown and using the holes as a drill guide, drill 4 – 13/64” holes through the side. Rivet in place using PC-000100 rivets from the outside with PC-000106 washers on the inside.
- PC-000100 Rivet 4 Used in this step

- PC-000106 Washer 4 Used in this step

Step 14. Toilet Paper Dispenser
The double roll dispenser can be mounted in a location of your preference based upon the accessories you have in the unit. Level the dispenser on the wall and use the four holes in the back of the dispenser as a guide to mark the location for drill holes. Drill four 13/64” holes into the drill spots just marked. Use awls to hold the T.P. Dispenser in place. From outside of the unit rivet in place using (4) PC-000100 rivets and (4) PC-000106 back-up washers on the inside.
- PC-000100 Rivet 4 Used in this step

- PC-000106 Washer 4 Used in this step

Step 15. Door Closure Installation
Push the spring tube assembly into the hole in the center molded pocket of the door with the cable end towards the hinged side of the door. Insert the tabs of the door closure retainer clip into the 2 pre-drilled holes as shown below. Pivot the retainer clip into place while feeding the spring cable through the hole in the retainer clip. Rivet into place with (2) PC-000105 rivets. Line up the cable clip in the center of the door jamb to the door closure retainer clip. From inside the unit using a 13/64” bit, drill two holes into one side of the door jamb only. Rivet the cable clip to the door jamb using (2) PC-000108 rivets. On the inside of the unit, place the top of a hammer against the cable clip. Place the ball end of the spring cable in the claw of the hammer. Open the door while holding the hammer in position. Hold the door open with your foot and clamp a vice-grip pliers on the cable where it comes out of the door. BE SURE TO CLAMP DOWN TIGHT. Remove the cable from the claw of the hammer, close the door and place the end of the cable into the slot of the cable clip. Open the door and remove the vice-grips.
PC-000105 Rivet 2 Used in this step
PC-000108 Rivet 2 Used in this step
Step 16. Toilet Seat Installation
Place the toilet seat on the top of the tank. Line up the holes in the hinge of the seat with the holes in the top of the tank. Insert the seat bolts through the seat hinge and through the tank. Lift open the seat, thread the plastic seat nuts on the ends of the bolts and tighten.
Step 17. Optional Urinal Installation
Insert the drain spigot of the urinal into the hole on the left top surface of the holding tank. Position the urinal so that it is level. There are two holes at the top of the urinal. Drill 13/64” holes through those holes and through the side wall panel. From inside of the restroom one person will rivet through the drilled holes with PC-000102 rivets, while another person outside the restroom places PC000106 back-up washers on the rivet stems.
CLEANING AND MAINTENANCE
- Use a mild soap to clean all surfaces and component parts.
- Minor scratches and abrasions can be lightly sanded or scrubbed with a mild abrasive cleaner (such as “Soft Scrub”) that contains calcium carbonate, hypochlorate bleach, and detergents. Be sure to follow the cleaning product directions since these ingredients may cause hazardous gases when mixed with other chemicals. Rinse the cleaned areas and buff with a conventional wax.
- Some light scratches may also be hidden by using an industrial hot air gun.
- To keep the interior smelling fresh, spray with deodorant spray
POLYJOHN 2500 GASPAR AVE. WHITING, IN 46394-2175 800-292-1305
We highly recommend membership in the Portable Sanitation Association International (PSAI); the worldwide authority on portable sanitation services. The PSAI, “Portable Sanitation Industry Certification Program” manual contains a wealth of information of standards and service procedures. For more information contact the PSAI
PORTABLE SANITATION ASSOCIATION INTERNATIONAL
7800 METRO PARKWAY, SUITE 104
BLOOMINGTON, MINNESOTA 55425 USA
800-822-3020 / 612-854-8300 (FAX: 612-854-7560)
www.psai.org
PolyJohn Enterprises Corporation publishes a series of technical manuals of guides for the Portable Sanitation Association International. Contact your area sales representative for further details.
OUR MISSION STATEMENT
“PolyJohn is a family owned, state of the art, plastics manufacturing company dedicated to providing its employees with a work environment committed to excellence, and its customers with innovative products, services and technology that meet or exceed their requirements.
THANK YOU FOR PURCHASING POLYJOHN PRODUCTS!
Look for us on the Web @ www.PolyJohn.com
PH04 Comfort XLT Flushing – June 2019
Page 15 of 15






























