BRISTAN CRZ2 SHXDIVCTFF C Craze Safetouch Rigid Riser Bar Mixer Shower 
Specifications
Working Pressures
Inlet Water Temperature
Cold Water Supply
Hot Water Supply

IMPORTANT
The inlet hot water must be at least 10°C above the required blend temperature.
Inlet Dimensions
Tools You’ll need


Prior to Installation
All products manufactured and supplied by Bristan are safe to use provided that they are installed, operated and receive regular maintenance in accordance with these instructions. This product needs to be installed in accordance with, and meet the requirements of the Water Supply (Water Fittings) Regulations 1999 and current by-laws. For full Installation Requirements & Notes (IRN) please visit wras.co.uk/directory. Isolation valves must be fitted to the inlet water supplies to ensure ease of future maintenance. Before installing this product the water supply must be thoroughly flushed in order to remove any swarf, solder etc. This product must not be modified in any way as this will invalidate the guarantee. Full access must be made available for future maintenance/servicing purposes. Before drilling into walls, check that there are no hidden electrical wires, cables or water supply pipes. This can be checked with the aid of an electronic detector.
If power tools are used do not forget to:
- Wear eye protection
- Unplug equipment after use
If in doubt, contact a registered plumber or your Local Water Authority or the Secretary of the Institute of Plumbing, address as follows:- The Institute of Plumbing, 64 Station Lane, Hornchurch, Essex, RM12 6NB, Tel: 01708 472791
Pack Contents

Installation
Identify the required position of the valve and prepare the water supply pipes. Supply pipes should be 150mm apart. Using the rubber fixing plate supplied with the wall mount, mark and drill holes.
Remember hot on the left, cold on the right SecSecurure the rubber backplate and backplane backplate into place.
SecSecurure the isolate the A ntonio the backplane the ensuring the oil ensuring the olive ise is positioned over theer the pipework cork correctly.
push crush shrouds tours to the back of the wall outlet,wall outlet, them again surging them against the rubber fixing plate rubber fixing platter.
SecSecurure the shoe from the shower to the wall mount. all mount.
Isolation
Remoemovve the ce the concealing cap frap from the shrom the shroud. oud.
push shrouds to the back of the wall outlet,wall outlet, securing them again surging them against the rubber fixing plate rubber fixing platter.
Secure the shoe from the shower to the wall mount. all mount.
Operation
Temperature Setting
Turn flow handles to ‘on’ position, letting the temperature stabilize.
Remove temperature handle.
Turn cartridge spindle clockwise to decrease the temperature. Turn cartridge spindle anti-clockwise to increase the temperature.
Reverse steps 1-2 to reinstall the cartridge and handle.
Maintenance – Cartridge Cleaning
Remove temperature and flow handle.
Remove nut, spline adaptor and flow valve.
Remove spline adaptor, temperature stop, nut, and cartridge.
Remove O-rings and soak all components in de-scaler and wash off in clean water. Examine all seals and replace if needed. Use WRAS approved silicon based grease on all seals.
Replaceplacee and cartridge and turn the spindle anti-clock anti-clockwise wise to maximum temperature.
Replace nut and temperature stop, ensure the raised side is facing towards the back of the valve.
Turn cartridge spindle clockwise to decrease the temperature. Turn cartridge spindle anti-clockwise to increase the temperature.
Slide handle onto adaptor and turn clockwise until you meet resistance.
Reverse steps 1-2 to reinstall the valve and secure handles.
Servicing Intervals
To reduce the build-up of limescale and to ensure this shower works to its maximum performance we recommend this shower is serviced every 6-12 months depending on the hardness of your water.
Spare Parts
To replace any spare parts for your shower why not scan the below QR Code and search for your product.
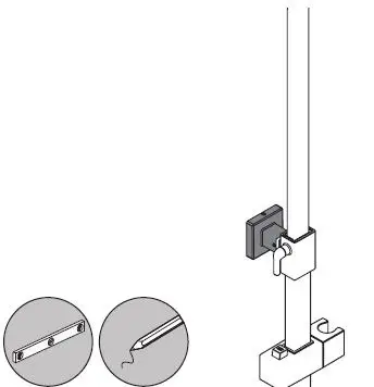
Riser Installation
Slide the bracket onto the riser rail, then push the riser extension onto the riser rail. Press & hold knob on the bracket to slide up or down.
Tighten grub screws at the back. To adjust the height untighten and move the arm to the desired height then tighten again to secure in place.
Using a spirit level to ensure the riser is positioned correctly, use the assembled riser to mark the desired position of the bracket.
Drill holes. Secure the bracket to the wall.
Secure the riser bracket and riser rail.
Attach the fixed head. To adjust height of head twist the knob and slide the riser to desired height.
Troubleshooting
| Troubleshooting | |||
| Symptom | Cause | Remedy | |
| No flow or low flow rate | Partially closed isolation valve. | Open isolation valve. | |
| Instantaneous water heater cycles on and off as flow rate or pressure is too low. | Increase water flow rate or pressure through system. | ||
| Head of water is below the minimum distance required. | 2 meters minimum required. | ||
| Hot or cold water being drawn off elsewhere causing pressure changes or instantaneous boiler temperature changes. | Do not use other water outlets when using the shower. | ||
| Airlock or partial blockage in the supply pipe work. | Flush through pipe work to ensure removal of debris and any airlocks. | ||
| Water dripping from shower | This is normal for a short time after using the shower. | This is caused by residual water tension, the build up of water in the shower. | |
| If water continues to drip, possibly due to the cartridge | Remove cartridge and clean, refer to ‘Maintenance’ section before starting any maintenance. | ||
| Shower does not turn on | Closed isolation valve. | Open isolation valve. | |
| Mains water supply turned off. | Turn on mains water supply. | ||
At Bristan, we want to make things as easy as possible for our customers. That’s why we offer solid guarantees on all our products, effective from the date of purchase, to give you peace of mind. To start your free guarantee simply scan the QR code and register your product. Alternatively, visit www.bristan.com/register. For any other queries, please call our Customer Service on 0330 026 6273 where our expert team of advisors will be able to offer you any help and advice. For full guarantee terms and conditions visit www.bristan.com/guarantees






















