DEUBLIN 1103-WLSB Wireless Sensor Box

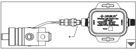
Install Detection Unit

From rotating union male M12 connector,4 position A coded
Locate cable from installed rotating union. Insert the connector into the Detection Unit end labeled “union”, taking note of locating feature on connector for proper alignment. Twist until locked. Rotating union for reference only, NOT shown to scale and NOT shown in installed position.

Female M12 connector for power terminal not included. Insert connector into De-tection Unit end labeled “power”, taking note of locating feature on connector for proper alignment. Twist until locked. Connect end of cable to machine/system power.
Recommended
- HARTING 21348500491020
- HARTING 21348500491050
- HARTING 21348500491100
Refer to power connector pin chart and verify that the correct wires are being used.
| Operating Data: Detection Unit | |||
| Min | Normal | Max | |
| Voltage | 12 VDC | 24 VDC | 28 VDC |
| Current | – | 21 mA | 53 mA |
Verify that terminal power supply is within operating condition range shown in table.
Install Alarm Unit

Clean surface of CNC machine where Alarm Unit will be mounted. Use the velcro locks on the backside of the Alarm Unit to attach box to the machine’s sur-face. Recommended area is near machine’s control-ler screen for high visibility.

Flip open hatch on backside of Alarm Unit, insert 4x AA batteries (not included) into Alarm Unit, side of battery facing away from springs. Close hatch.
| LED color | Status |
| Blinking blue | Not connected |
| Blinking green | All Ok |
| Blinking red | Check battery |
| Solid red | Union leaked |
| (Buzzing sound) | Union leaked |
Table above is LED status indicators for Alarm Unit and it is also displayed in front of the unit itself. The only way to reset Alarm unit after Union leaked is by pulling all the batteries. Alarm Unit maximum operating temperature is 55° C.
For your own safety

1103-WLSB
contains the following transmitter modules
FCC ID :
SH6MDBT50Q IC ID : 8017A-MDBT50QU
FCC
Note
Under Industry Canada regulations, this radio transmitter may only operate using an antenna of a type and maximum (or lesser) gain approved for the transmit-ter by Industry Canada. To reduce potential radio interference to other user, the antenna type and its gain should be so chosen that the equivalent isotropically radiated power (e.i.r.p) is not more than that necessary for successful communi-cation. This device complies with Part 15 of the FCC Rules. Operation is subject to the following two conditions:
- this device may not cause harmful interference, and
- this device must accept any interference received, including interference that may cause undesired operation.
FCC CAUTION
- Changes or modifications not expressly approved by the party responsible for compliance could void the user’s authority to operate the equipment. This transmitter must not be co-located or operated in conjunction with any other antenna or transmitter.
- When installing it in a mobile equipment. (It is used within a distance of 20 cm from the antenna and the output power is required SAR test.)
- This equipment complies with FCC/IC radiation exposure limits set forth for an uncontrolled environment and meets the FCC radio frequency (RF) Exposure Guidelines and RSS-102 of the IC radio frequency (RF) Exposure rules. This equipment should be installed and operated keeping the radiator at least 20 cm or more away from person’s body.

Refer to power connector pin chart and verify that the correct wires are being used.

















