MODENA Hand Shower

INSTALLATION INSTRUCTION
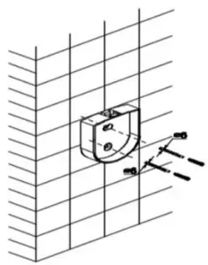
Static Holder Type (HS 6532, HS 4532)
- After specifying the installation place, mark the place for drilling hole. Drill the hole and then insert the plastic wall anchor (Fischer) into it.

- Place the rear holder cover; tighten the screws; and install the shower holder.

- Connect the shower head with the flexible hose; and put the rubber washer onto the both ends of the flexible hose to avoid the possible leakage. Then, place the shower head onto the shower holder.

Sliding Holder Type (HS 6552, HS 6552F)
- After specifying the installation place, mark the place for drilling hole according to the picture beside. Drill the hole and then insert the plastic wall anchor into it.

- Place the sliding bar set into its position. Then, tighten the screws and close the bracket cover

- Connect the shower head with the flexible hose. Put the rubber washer onto both ends of the flexible hose to avoid the possible leakage. Then, place the shower head onto the shower holder.


























