ULINE H-102 Label Protection Tape Dispenser Instructions
INSTRUCTIONS
LOADING DISPENSER
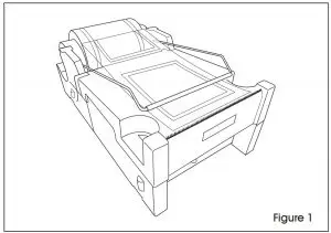
- Load pouch tape or label protection tape on the core. (See Figure 1)
NOTE: Load tape adhesive side up.
- Put the documents on the tape and pull tape to cut. (See Figure 2)

- Place the tape on the carton or envelope. (See Figures 3 and 4)


Contact Us
1-800-295-5510
uline.com























