Medical Gas Outlet British Standard Compatible
Installation Guide
Product Description
The Amico Medical Gas British Outlet is composed of two separate modules: the “Rough-in Assembly” and the “Latch Valve Assembly”.
The “Rough-in Assembly” consists of a brass machined body that incorporates a spring loaded check assembly except for Vacuum and AGSS. A 12.7 mm OD, 9.52 mm ID copper pipe is SILVER brazed into the body for external pipeline connections. The brass body and pipe assembly are inserted into a gas specific plate. The “Rough-in Assembly” has a color coded label on the front plate and copper pipe, so that the installer can easily identify the gas that the copper pipe should be connected to. The “Rough-in Assembly” incorporates a check valve that allows the “Latch Valve Assembly” to be removed for service, without requiring the pipeline to be shut down. Vacuum and AGSS rough-ins include a pressure plug for testing and servicing purposes. The “Rough-in Assembly” has a DUAL pin gas specific indexing arrangement to prevent the wrong “Latch Valve assembly” from being plugged into the “Rough-in Assembly” (see page 18).
The “Latch Valve Assembly” is manufactured with a gas specific housing which accepts, retains and releases the probe, indexed on the back side to match gas specific indexing of the “Rough-in Assembly”.
CAUTION: DO NOT over tighten the Latch Valve mounting screws! Distortion of the Latch Valve can occur.
Outlets are available for Oxygen, medical air, surgical air, nitrous oxide, medical vacuum, and anesthetic gas scavenging system. These are designed in accordance with HTM 02-01 and ISO 9170.
This device has been manufactured to conform to the standards, specifications, and operating procedures stated in this manual when installed, inspected, operated, maintained, and serviced in accordance with these instructions.
The user of the device shall have the sole responsibility for any malfunction which results from improper installation, use, maintenance, alteration, or modification.
WARNING: Keep all components dry and clean during installation. DO NOT alter or modify this device or any of its components in any way. Store in normal working and environmental conditions. Adverse environmental conditions, harsh abrasives or chemicals will cause damage to the unit.
Cleaning and Lubricating
The Amico British Outlets are factory cleaned for Oxygen service. Exposed surfaces of the Outlet may be cleaned with a mild detergent solution or wiped with a disinfectant commonly used in patient rooms, which is compatible with plastic. Lubricate elastomer seals sparingly with a lubricant that is Oxygen compatible. DO NOT USE OIL.
Inspection and Testing
Pressure drops across the Amico British Outlet shall comply with ISO 9170 Standards.
| Terminal Unit Nominal Distribution Pressure (kPa) | Test Pressure (kPa) | Test Flow (1/min) | Maximum Pressure Drop Across a Terminal Unit (kPa) |
| 400 to 500 | 320 | 40 | 15 |
| 400 to 500 | 320 | 200 | 70 |
| 700 to 1,000 | 560 | 350 | 70 |
| Vacuum | *40 | 25 | 15 |
* Absolute pressure
AGSS requirements for flow and pressure drop across terminal unites with probe inserted, complies with ISO 9170 Standards.
| Terminal Type | Test Pressure | Test Flow (1/min) | Maximum Pressure Drop Across a Terminal Unit (kPa) |
| 1 | Atmospheric Pressure | 90 | 15 |
NOTE
The Amico British Outlets meet and exceed the requirements at the time of manufacture. However, piping source capacity, sizing, and restrictions may prevent outlets form attaining these values.
CAUTION: DO NOT braze rough-ins with front latch installed. Must use wet rag when brazing since the heat could damage the secondary check valve, seal, and other installed components. Use only mild soap-based solution for leak testing.
Installation and Dimensions
The Amico British Outlet should be mounted at a height of between 900 mm and 1,400 mm above finished floor level and not less than 200 mm from any obstruction.
Where more than one Outlet unit is to be mounted in one location, these should be mounted at the following spacing: Two outlet units – 150 mm centres
Three or more outlets units – 135 mm centres
Outlet units mounted in a horizontal array shall be installed in the following sequence when viewed from the front, left to right:
O₂; N2O; 50% O₂ / 50% N2O; Medical Air, Surgical Air, Vacuum; AGSS
Please refer to HTM 02-01
| Flush Mounted Terminal Unit | Console Mounted Terminal Unit |
![]() | ![]() |
| Surface Mounted Terminal Unit | Pendant Mounted Terminal Unit |
![]() | ![]() |
Preventative Maintenance
Regular inspection and maintenance of the outlets will prolong its life and reduce the possibility of sudden, inconvenient component failures. The use of damaged probes or faulty equipment may require further maintenance. Outlets should be subjected to regular inspection and testing as follows:
Monthly
a. Visually inspect the Outlet for signs of damage.
b. Check to see if the Front Latch Assembly (2nd Fix) operates smoothly with the gas specific probe.
c. If there is any disagreement with the operation of the Front Latch Assembly (2nd Fix), remove the unit for closer inspection/repair/replacement if necessary.
Annually
d. Remove Trim Plate and clean debris from the mounting box.
e. Remove Front Latch Assembly (2nd Fix) and inspect the barrel for any damage.
f. Inspect the Rough-in Assembly (1stFix) for any damage. If damaged or leaking, replace components.
g. Test Front Latch Assembly (2nd Fix) for correct operation (connection and disconnection of the probe) using a blank probe.
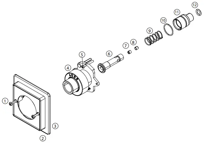
Latch Valve Assembly

- Unscrew the two Trim Plate screws (1), and remove Trim Box Plate (2) and the Trim plate (3).
- Unscrew the two Retaining screws (5) until the Latch Valve Assembly (4) can be removed from the Outlet.
- Remove the two Retaining washer screws (11), and remove the Retaining washer (10).
- Remove the gas connector (9).
- Remove the Body Seal (6) and Poppet (7) from the front of the Gas Connector (9). Inspect the items for wear or damage and replace the Body Seal (6).
- Remove the Gas or Vacuum Spring (8) to inspect for wear and damage. Re-install the Gas or Vacuum Spring.
- Re-install all internal components into the Gas Connector (9). Check that the Gas or Vacuum Spring (8), Body Seal (6) and Poppet (7) are in place. Re-install the round Retaining washer (10) and secure with two Retaining washer screws (11), do not over tighten.
- Re-install the Latch Valve Assembly into the outlet. Coat the connector (9) with a thin coat of Oxygen compatible lubricant to aid insertion. Tighten down the Retaining screws (5), DO NOT over tighten, as this could damage the Latch Valve Assembly.
- Re-install Trim Plate (3) and Trim Box Plate (2) and tighten down Trim Plate screws (1).
- Connect gas specific adapter into the outlet. The connection should be smooth and the adapter should lock and remain in place allowing gas to flow. If not, replace the entire Latch Valve Assembly (4).

- Unscrew the two Trim Plate screws (1), and remove Trim Box Plate (2) and the Trim plate (3).
- Unscrew the two Retaining screws (5) until the Latch Valve Assembly (4) can be removed from the Outlet.
- After removing the Latch Valve Assembly (4) from the Outlet, you can then pull the Check Valve Body Assembly from the back side of the Latch Valve Assembly (4). Remove the Check Valve Body Seal (10) and check for any abnormal wear or damage and replace if required. Coat the O-Ring with a thin coat of Oxygen compatible lubricant.
- Disassembly of the Check Valve Body Assembly
Hold the Check Valve Body Assembly in one hand, and push down the Check Valve (6) with your thumb of the same hand, compressing the Check Valve Spring (9). Remove the Check Valve O-Ring (12). Release the Check Valve (6) slowly; the Check Valve Body Assembly will fall apart. - Reassembly of the Check Valve Body Assembly
Re-install the Check Valve Spring (9) onto the Check Valve (6), and then insert them into the Check Valve Body (11). Again, hold the Check Valve Body Assembly in one hand, and push down the Check Valve (6) with your thumb of the same hand, compressing the Check Valve Spring (9). Before re-installing the Check Valve O-Ring (12), coat the O-Ring with a thin coat of Oxygen compatible lubricant. - Insert the Check Valve Body Assembly into the back of the Latch Valve Assembly.
- Re-install the Latch Valve Assembly into the outlet. Coat the outer portion of the Check Valve Body Assembly with a thin coat of Oxygen compatible lubricant, to aid insertion. Tighten down Retaining Screws (5), DO NOT over tighten, as this could damage the Latch Valve.
- Re-install Trim Plate (3) and Trim Box Plate (2) and tighten down Trim Plate Screws (1).
- Connect gas specific adapter into the outlet. The connection should thread in smoothly and the adapter should remain in place allowing gas to flow. If not, replace the entire Latch Valve Assembly (4).
AGSS Flow Control Adjustment
Reference Part Numbers
- O-BSQ-REC-AGS
- O-BSQ-CON-AGS
- O-BSQ-SUR-AGS

- Insert a 3 mm Allen Key into the front of the Check Valve.
- Adjust the Flow Control Screw to desired setting.
Rough-in Assembly

CAUTION: Ensure that the supply pressure is shut off before performing service.
Inside the “Rough-in Assembly” is a secondary check valve whose function is to shut off gas flow when the “Latch Valve Assembly“ is removed. This seat/seal also prevents leakage around the Latch Valve connector. As the secondary seal is only a static seal, it will rarely need replacement. However, if the seat/seal does need replacement, follow the following procedure:
NOTE
Suction inlets (Vacuum and AGSS) are not supplied with Secondary Check Valves. The Secondary Check Valve (4) and Secondary Check Valve Spring (5) are not required.
- Ensure that no pressure exists in the line by depressing the secondary check (4).
- Remove the retaining ring (1) from the inside of the outlet body. Use a small screwdriver to pull the end of the ring toward the center and then pull the ring up and out.
- Remove the washer (2), seat/seal (3), secondary check valve (4) and the secondary check valve spring (5). Inspect items for wear or damage and replace the seat/seal (3).
- Re-install the spring (5), secondary check valve (4), seat/seal (3), and the washer (2). Insert the retaining ring (1) into the slot and ensure that the whole ring is seated properly.
- Turn on the pressure and check for leaks. Re-install the “Latch Valve Assembly” and perform inspection and test.
Model Numbers
| Flush Mounted | |||
| Latch Valve Assembly | Rough-in Assembly | Complete Assembly | |
| Oxygen | O-FASC-BSQ-OXY | O-BAKBSQ-OXY | O-BSQ-REC-OXY |
| Medical Air | O-FASC-BSQ-AIR | O-BAKBSQ-AIR | O-BSQ-REC-AIR |
| Surgical Air | O-FASC-BSQ-SAI | O-BAKBSQ-SAI | O-BSQ-REC-SAI |
| Vacuum | O-FASC-BSQ-VAC | O-BAKBSQ-VAC | O-BSQ-REC-VAC |
| Nitrous Oxide | O-FASC-BSQ-N2O | O-BAKBSQ-N2O | O-BSQ-REC-N2O |
| Anesthetic Gas Scavenging System | O-FASC-BSQ-AGS | O-BAKBSQ-AGS | O-BSQ-REC-AGS |
| Console Mounted | |||
| Latch Valve Assembly | Rough-in Assembly | Complete Assembly | |
| Oxygen | O-FASC-BSQ-OXY | O-BAKCON-BSQ-OXY | O-BSQ-CON-OXY |
| Medical Air | O-FASC-BSQ-AIR | O-BAKCON-BSQ-AIR | O-BSQ-CON-AIR |
| Surgical Air | O-FASC-BSQ-SAI | O-BAKCON-BSQ-SAI | O-BSQ-CON-SAI |
| Vacuum | O-FASC-BSQ-VAC | O-BAKCON-BSQ-VAC | O-BSQ-CON-VAC |
| Nitrous Oxide | O-FASC-BSQ-N2O | O-BAKCON-BSQ-N2O | O-BSQ-CON-N2O |
| Anesthetic Gas Scavenging System | O-FASC-BSQ-AGS | O-BAKCON-BSQ-AGS | O-BSQ-CON-AGS |
| Surface Mounted | |||
| Latch Valve Assembly | Rough-in Assembly | Complete Assembly | |
| Oxygen | O-FASC-BSQ-OXY | O-BAKBSQ-OXY | O-BSQ-SUR-OXY |
| Medical Air | O-FASC-BSQ-AIR | O-BAKBSQ-AIR | O-BSQ-SUR-AIR |
| Surgical Air | O-FASC-BSQ-SAI | O-BAKBSQ-SAI | O-BSQ-SUR-SAI |
| Vacuum | O-FASC-BSQ-VAC | O-BAKBSQ-VAC | O-BSQ-SUR-VAC |
| Nitrous Oxide | O-FASC-BSQ-N2O | O-BAKBSQ-N2O | O-BSQ-SUR-N2O |
| Anesthetic Gas Scavenging System | O-FASC-BSQ-AGS | O-BAKBSQ-AGS | O-BSQ-SUR-AGS |
| Pendant Mounted | |||
| Latch Valve Assembly | Rough-in Assembly | Complete Assembly | |
| Oxygen | O-FASC-BSQ-OXY | O-BAKCOND-BSQ-OXY | O-BSQ-COND-OXY |
| Medical Air | O-FASC-BSQ-AIR | O-BAKCOND-BSQ-AIR | O-BSQ-COND-AIR |
| Surgical Air | O-FASC-BSQ-SAI | O-BAKCOND-BSQ-SAI | O-BSQ-COND-SAI |
| Vacuum | O-FASC-BSQ-VAC | O-BAKCOND-BSQ-VAC | O-BSQ-COND-VAC |
| Nitrous Oxide | O-FASC-BSQ-N2O | O-BAKCOND-BSQ-N2O | O-BSQ-COND-N2O |
| Anesthetic Gas Scavenging System | O-FASC-BSQ-AGS | O-BAKCOND-BSQ-AGS | O-BSQ-COND-AGS |
Gas Indexing
As seen from the front of the “Rough-in Assemblies”

Replacement Components
Latch Valve Assembly

| Item | Description |
| 1 | Trim Plate Screws (2 required) |
| 2 | Trim Box Plate |
| 3 | Trim Plate |
| 4 | British Standard Latch Valve |
| 5 | Outlet Mounting Screws (2 required) |
| 6 | Body Seal* |
| 7 | Poppet for Body* |
| 8a | Spring for All Gases (except vac)* |
| 8b | Spring for Vacuum* |
| 9 | Gas Connector |
| 10 | Retaining Washer |
| 11 | Retaining Washer Screws (2 required) |
Above parts with an * are found in repair kit: O-RK-LVA-BSQ, not sold individually.
AGSS Replacement Components

| Item | Description |
| 1 | Trim Plate Screws (2 required) |
| 2 | Trim Box Plate |
| 3 | Trim Plate |
| 4 | British Standard Latch Valve |
| 5 | Outlet Mounting Screws (2 required) |
| 6 | AGSS Check Valve |
| 7 | Flow Adjustment Screw |
| 8 | Locking Screw |
| 9 | AGSS Check Valve Spring* |
| 10 | Check Valve Body Seal* |
| 11 | Check Valve Body |
| 12 | Check Valve O-ring* |
Above parts with an * are found in repair kit: O-RK-LVA-BSQ-AGS, not sold individually.
Rough-in Assembly

| Item | Description |
| 1 | Retaining Ring* |
| 2 | Washer* |
| 3 | Seat/Seal* |
| 4 | Secondary Check Valve* |
| 5 | Secondary Check Valve Spring* |
| 6 | Console Rough-in Assembly |
| 7 | Flush and Surface Mount Rough-in Assembly |
| 8 | Pendant Rough-in Assembly |
Above parts with an * are found in repair kit: O-RK-BAK, not sold individually.
NOTE
Suction inlets (Vacuum and AGSS) are not supplied with Secondary Check Valves. The Secondary Check Valve (4) and Secondary Check Valve Spring (5) are not required.
Notes: —————
ACP-IM-MEDICAL-GAS-OUTLETS-BRITISH-STANDARD 11.28.2022
Amico Corporation
85 Fulton Way, Richmond Hill, ON L4B 2N4, Canada
600 Prime Place, Hauppauge, NY 11788, USA
Toll Free Tel: 1.877.462.6426
Tel: 905.764.0800
Fax: 905.764.0862
Email: [email protected]
www.amico.com
Authorized Representative:
AJW Technology Consulting GmbH
Königsallee 106
40215 Düsseldorf
Tel: +49 (0) 211 3013 2232
www.ajwtech.com
www.amico.com
ACP-IM-MEDICAL-GAS-OUTLETS-BRITISH-STANDARD 11.28.2022























