Dual Medical Gas Outlets
Instruction Manual
Installation and Maintenance Manual
Dual Medical Gas Outlets
Product Description
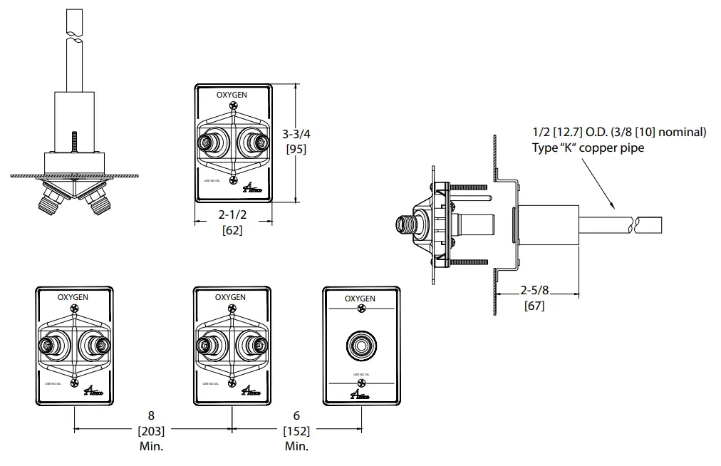
The Amico Dual Medical Gas Outlet combines two “Latch Valve Assemblies” into a single compact design. The Amico Dual Medical Gas Latch Valve works with standard Amico “Rough-in Assembly” (which are to be ordered separately). The “Rough-in Assembly” consists of a brass machined body that incorporates a spring loaded check assembly. A 1/2″ [12.7 mm] OD copper pipe is silver brazed into the body for external pipeline connections. The brass body and pipe assembly are inserted into a gas specific plate. The “Rough-in Assembly” has a color coded label on the copper pipe, so that the installer can easily identify the gas that the copper pipe should be connected to. The rough-in has a check valve that allows the “Latch Valve Assembly” to be removed for service, without requiring the pipeline to be shut down. The “Rough-in Assembly” has a gas specific indexing arrangement to prevent the wrong “Latch Valve Assembly” from being plugged into the “Rough-in Assembly”.
The Dual “Latch Valve Assembly” is manufactured in 3 different connection combinations using DISS, Ohmeda and Chemetron. The Dual “Latch Valve Assembly” consists of 2 connectors with an integral check valves, a color coded plate complete with indexing pins and an optional trim plate.
CAUTION: DO NOT overtighten the Latch Valve Mounting screws! Distortion of the Latch Valve can occur. The quick connect connectors are compatible with the Ohmeda Diamond and Chemetron adaptors and only corresponding type of adaptors can be used. The DISS connector conforms to the CGA Pamphlet V-5 standards. Since
the “Rough-in Assembly” is the same, the Dual outlets can easily be converted from one connection combination to another by simply replacing the “Latch Valve Assembly”.
NOTE:
The Amico Dual Outlet is recommended to be used with 3/8″ (10 mm) ID (nominal) rough-ins. For ceiling applications, only DISS connections are recommended. Dual outlet fronts are not serviceable. If found to be inoperable, Latch Valve needs to be replaced.
This device has been manufactured to conform to the standards, specifications and operating procedures stated in this manual when installed, inspected, operated, maintained, and serviced in accordance with these instructions.
The user of the device shall have the sole responsibility for any malfunction which results from improper installation, use, maintenance, alteration or modification.
WARNING: Keep all components dry and clean during installation. DO NOT alter or modify this device or any of its components in any way. Store in normal working and environmental conditions. Adverse environmental conditions, harsh abrasives or chemicals will cause damage to the unit.
Cleaning and Lubricating
The Amico Outlets are factory cleaned for oxygen service. Exposed surfaces of the outlet may be cleaned with a mild detergent solution or wiped with a disinfectant commonly used in patient rooms, that is compatible with plastics. Lubricate elastomer seals sparingly with a silicone lubricant that is oxygen compatible. DO NOT USE OIL.
Inspection and Testing
Medical Gas Outlets should be inspected periodically or at least once a year. The tests should be in accordance with NFPA 99 “Gas and Vacuum systems” and/or ISO 9170 “Terminal Units for Medical Gas Pipeline Systems“.
Test for Leaks
Ensure that no leaks exists, with or without the adapter inserted.
Test for Indexing
Only a mating gas specific adapter should insert smoothly into the outlet, latch and be retained.
Test for Flow
Refer to appropriate standards for the proper way of performing the flow test.
NOTE:
The Amico Medical Gas Outlets meet and exceed the requirements at the time of manufacture. However, piping source capacity, sizing and restrictions may prevent outlets from attaining these values.
CAUTION: DO NOT braze rough-ins with front latch installed. Must use wet rag when brazing since the heat could damage the secondary check valve, seal, and other installed components. Use only mild soap-based solution for leak testing.
Installation and Dimensions
Dual Wall Outlets
DISS, Ohmeda, and Chemetron compatible.
Inch [mm]
Dual Ceiling Outlets
DISS, Ohmeda, and Chemetron compatible.
Dual Console Outlets
DISS, Ohmeda, and Chemetron compatible.
Dual Ceiling Column Outlets
DISS, Ohmeda, and Chemetron compatible.
Model Numbers
Dual Outlets
O-TRIM-M500C-G2
(Wall Trim Plate – Chrome)
O-TRIM-P275C-G2
(Console Trim Plate)
NOTES:
Dual outlets are available for Oxygen and medical air only. Rough-ins and trims are to be ordered separately.
NFPA rough-ins come with English and Spanish pipe labels.
CSA/ISO rough-ins come with English, Spanish and French pipe labels.
Service
NOTE: Dual outlet fronts are not serviceable. If found to be inoperable, Latch Valve needs to be replaced.
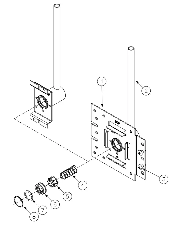
Rough-in Assembly

CAUTION: Ensure that the supply pressure is shut off before performing service. Inside the “Rough-in Assembly” is a secondary check valve whose function is to shut off gas flow when the “Latch Valve Assembly” is removed. This seat/seal also prevents leakage around the Latch Valve connector. As the secondary seal is only a static seal, it will rarely need replacement. However, if the seat/seal does need replacement, follow the following procedure:
- Ensure that no pressure exists in the line by depressing the secondary check valve (5).
- Remove the retaining ring (8) from the inside of the outlet body. Use a small screwdriver to pull the end of the ring towards the center and then pull the ring up and out.
- Remove the washer (7), seat/seal (6), secondary check valve (5) and secondary check valve spring (4). Inspect items for wear or damage and replace the seat/seal (6).
- Re-install the spring (4), secondary check valve (5), seat/seal (6) and the washer (7). Insert the retaining ring (8) into the slot and ensure that the whole ring is seated properly.
- Turn on the pressure and check for leaks. Re-install the “Latch Valve Assembly” and perform the inspection and test on page 1.
Replacement Components
Rough-in Assembly Replacement Components
| Item | Description |
| 1 | Rough-in Assembly |
| 2 | Rough-in Pipe |
| 3 | Ganging Screws (2 required) |
| 4 | Secondary Check Valve Spring* |
| 5 | Secondary Check Valve * |
| 6 | Seat/Seal* |
| 7 | Washer* |
| 8 | Retaining Ring* |
Above parts with * are found in repair kit O-RK-BAK, not sold separately.
www.amico.com
ACP-IM-DUAL-MEDICAL-GAS-OUTLETS 07.28.2022
Amico Corporation | 85 Fulton Way, Richmond Hill, ON L4B 2N4, Canada
600 Prime Place, Hauppauge, NY 11788, USA
Toll Free Tel: 1.877.462.6426
Tel: 905.764.0800 | Fax: 905.764.0862
Email: [email protected] | www.amico.com![]()



















