INSTALLATION INSTRUCTIONS
30” FULL GAS RANGE
Instruction Manual
ECFG3068AS 30 Inch Full Gas Range
INSTALLATION AND SERVICE MUST BE PERFORMED BY A QUALIFIED INSTALLER.
IMPORTANT: SAVE FOR THE LOCAL ELECTRICAL INSPECTOR’S USE.
READ AND SAVE THESE INSTRUCTIONS FOR FUTURE REFERENCE.
WARNING FOR YOUR SAFETY: Do not store or use gasoline or other flammable vapors or liquids near this or any other appliance.
Important Notes to the Installer
- Read all instructions contained in these installation instructions before installing the range.
- Remove all packing material from the oven and the drawer compartments before connecting the electrical and gas supplies to the range.
- Observe all governing codes and ordinances. Be sure to leave these instructions with the consumer.
Important Note to the Customer
Keep these instructions with your owner’s guide for future reference.
WARNING If the instructions contained in this manual are not followed precisely, a fire or explosion may result causing property damage, personal injury or loss of life.
FOR YOUR SAFETY:
- Do not store or use gasoline or other flammable vapors or liquids near this or any other appliance.
WHAT TO DO IF YOU SMELL GAS:
- Do not try to light any appliance.
- Do not touch electrical switches; do not use any phone in the building.
- Immediately call your gas supplier from a neighbor’s phone. Follow the gas supplier’s instructions.
- If you cannot reach your gas supplier, call the fire department.
INSTALLATION AND SERVICE MUST BE PERFORMED BY A QUALIFIED INSTALLER, SERVICE COMPANY OR GAS SUPPLIER.
Note: For appliances installed in the State of Massachusetts, go to page 10.
Note: When operating at elevations higher than 2000 ft. above sea level, the appliance rating should be reduced by 4 percent for each additional 1000 ft.
IMPORTANT SAFETY INSTRUCTIONS
This manual contains important safety symbols and instructions. Please pay attention to these symbols and follow all instructions given.
WARNING This symbol will help alert you to situations that may cause serious injury death or property damage.
CAUTION This symbol will help alert you to situations that may cause injury or property damage.
Installation of this range must conform with local codes or, in the absence of local codes, with the National Fuel Gas Code ANSI Z223.1/NFPA .54-latest edition or CAN/CGAB149.1 and CAN/CGAB149.2 standards.
When installed in a manufactured (mobile) home, installation must conform with the Manufactured Home Construction and Safety Standard, Title 24 CFRR, Part 3280 [formerly the Federal Standard for Mobile Home Construction and Safety, Title 24, HUD (Part 280)] or, when such standard is not applicable, the Standard for Manufactured Home Installations, ANSI/NCSBCS A.225.1, or with local codes in the United States or with ANSI Z225.1/NFPA 501A-latest edition, or CAN/CSAZ240MH in Canada. T
his range has been designing certified by CSA International. As with any appliance using gas and generating heat, there are certain safety precautions you should follow. You will find them in the Use and Care Guide, please read it carefully.
- Make sure your range is installed and grounded properly by a qualified installer or service technician.
- This range must be electrically grounded in accordance with local codes or, in their absence, with the National Electrical Code ANSI/NFPA No. 70—latest edition in the United States or with CSA Standard C22.1, Canadian Electrical Code, Part 1 in Canada. See Grounding Instructions in the Electrical Requirements section of these Installation Instructions.
- Before installing the range in an area covered with linoleum or any other synthetic floor covering, make sure the floor covering can withstand heat at least 90°F above room temperature without shrinking, warping or discoloring. Do not install the range over carpeting unless you place an insulating pad or sheet of ¼” (10,16cm) thick plywood between the range and carpeting.
- Make sure the wall coverings around the range can withstand the heat generated by the range.
- Do not obstruct the flow of combustion air at the oven vent nor around the base or beneath the lower front panel of the range. Avoid touching the vent openings or nearby surfaces as they may become hot while the oven is in operation. This range requires fresh air for proper burner combustion.
- Air curtains or other overhead range hoods, which operate by blowing air downwards onto a range, shall not be used in conjunction with gas ranges other than when the hood and range have been designed, tested, and listed by an independent test laboratory for use in combination with each other.
WARNING Never leave children alone or unattended in the area where an appliance is in use. As children grow, teach them the proper, safe use of all appliances. Never leave the oven door open when the range is unattended.
CAUTION Stepping, leaning or sitting on the doors or drawers of this range can result in serious injuries and can also cause damage to the range. - Do not store items of interest to children in the cabinets above the range. Children could be seriously burned if they climb on the range to reach items.
- To eliminate the need to reach over the surface burners, cabinet storage space above the burners should be avoided.
- Adjust the size of the surface burner flame so that it does not extend beyond the edge of the cooking utensil. Excessive flame size is hazardous.
- Do not use the oven as a storage space. This creates a potentially hazardous situation.
- Never use your range for warming or heating the room. Prolonged use of the range without adequate ventilation can be dangerous.
- Do not store or use gasoline or other flammable vapors and liquids near this or any other appliance. Explosions or fires could result.
- In the event of an electrical power outage, the surface burners can be lit manually. To light a surface burner, hold a lit match to the burner head and slowly turn the Surface Control knob to LITE. Be careful when lighting surface burners manually.
- Unlike the standard gas range, THIS COOKTOP IS NOT REMOVABLE. Do not attempt to remove the cooktop.
WARNING Do not repair, replace or remove any part of the appliance unless specifically recommended in the manuals. Improper installation, service or maintenance can cause injury or property damage. Refer to this manual for guidance. All other servicing should be done by an authorized service provider. - The appliance should only be used if installed by a qualified technician in accordance with these installation instructions and all applicable regulations and codes. The manufacturer is not responsible for damages resulting from incorrect installation.
- Never modify or alter the appliance. For example, do not remove leveling legs, panels, wire covers or anti-tip brackets/screws.
- To eliminate the risk of burns or fire by reaching over hot surface units, cabinet storage space located above the surface units should be avoided. If cabinet storage is to be provided, the risk can be reduced by installing a hood that projects horizontally a minimum of 5 inches (127 mm) beyond the bottom of the cabinet. Make sure that cabinets above the cooktop are a maximum of 13″ (330 mm) deep.
WARNING
Tip Over Hazard
- A child or adult could tip the range over and be killed.
- Install the anti-tip device on the floor or wall as per the installation instructions.
- Engage the range with the anti-tip device as per the installation instructions.
- Ensure the anti-tip device is re-engaged when the range is moved.
- Do not operate the range without the anti-tip device in place and engaged.
- Failure to follow these instructions can result in death or serious burns to children and adults.
To check if the anti-tip bracket is installed properly, use both arms and grasp the back edge of the range. Carefully attempt to tilt the range forward. When properly installed, the range should not tilt forward. Refer to the anti-tip bracket installation instructions supplied with your range for proper installation.
Safety codes and Standards
This appliance complies with one or more of the following standards:
- ANSI Z21.1/CSA 1.1 Household Cooking Gas Appliances.
It is the responsibility of the owner and the installer to determine whether additional requirements and/or standards apply to specific installations. Installation must conform with local codes or, in the absence of local codes, with the National Fuel Gas Code, ANSI Z223.1/NFPA 54 or, in Canada, the Natural Gas and Propane Installation Code, CSA B149.1. The appliance must be electrically grounded in accordance with local codes or, in the absence of local codes, with the National Electrical Code, NFPA 70 latest edition or, in Canada, the Canadian Electric Code, CSA C22.1-02.
Product Dimensions

| A 760 mm B1 min: 654 mm max: 658 mm C2 1186 mm D min: 898 mm max: 930 mm | 29” 15/16” min: 25 3/4″ max: 25 14/16” 46 11/16″ min: 35 6/16″ max: 36 5/8″ |
- Measurement B varies according to the type of installation: the minimum is obtained without the rear spacers (see “Island installation”) and the maximum is obtained for traditional installation (slide-in installation – with the rear spacers).
- Measurement C refers to the open door.
Cabinet clearances

| E F G H I J K | min. 762 mm 628 mm min. 508 mm min. 762 mm min. 457 mm max. 330 mm | min. 30” 24” 5/8 min. 20” min. 30” min. 18” see notes below max. 13” |
Clearance J can have the following values:
- J = 36” / 914 mm minimum clearance between the top of the cooking surface and the bottom of an unprotected wood or metal cabinet.
- J = 30” / 762 mm minimum when the bottom of wood or metal cabinet is protected by not less than 1/4-inch-thick flame-retardant millboard covered with not less than No. 28 MSG sheet steel, 0.015-inch-thick stainless steel, 0.024-inch-thick aluminum, or 0.020-inch-thick copper. Clearances from non-combustible materials are not part of the ANSI Z21.1 scope and are not certified by CSA. Clearances of less than 30” should be approved by the local codes and/or by the local authority having jurisdiction.
The side cabinet depth (clearance F) must match the front edge of the range side panel:

Location of the gas and electric outlets

| D | Min: 5” 7/8 | Min: 150 mm |
| Ground ded outlet (X) L M | Min: 5” 13/16 Max: 12” 3/16 Min: 2” Max: 9” 7/8 | Min: 148 mm Max: 310 mm Min: 51 mm Max: 250 mm |
| Gas supply line(Y) N P | Min: 2” Max: 11” 13/16 Min: 2” Max: 10” 7/8 | Min: 51 mm Max: 300 mm Min: 51 mm Max: 275 mm |
Installing the backguard
The backyard provided is an integral part of the appliance; it must always be positioned and secured correctly on the cooktop.
You can find the assembly instruction for the backguard in the instructions sheet provided.
Once you have fixed the backyard to the appliance, you must insert the screws and spacers provided that are necessary for the slot-in installation.

Installing the front/side skirting
The front skirting must always be correctly positioned and secured to the appliance.
- Use a screwdriver to remove the front screws.

- Position the front skirting at the bottom of the appliance and line up the holes on the side of the skirting with the holes on the base of the appliance.
- Fasten the front skirting to the appliance using the screws that were previously removed.

- After the front skirting has been installed, the side skirting can be fastened correctly to the appliance. Use a screwdriver to remove the side screws.

- Insert the tabs on the side skirting into the slots on the back of the front skirting.

- Line up the hole on the side skirting with the rear hole on the base of the appliance.
- Fasten the side skirting to the appliance using the screw that was previously removed.

- Repeat the procedure for the other side skirting section.
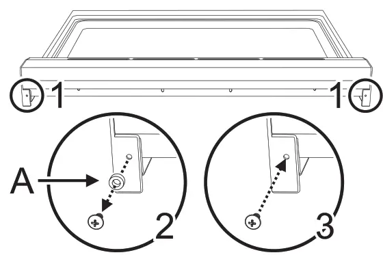
Island installation
If the appliance is installed as an island:
- Unscrew the screws indicated.
- Remove the spacers (A).
- Insert the screws that were previously removed into their seats.

Keep a minimum clearance of 5 7/8″ (150 mm) between the appliance and the other furnishings or decorative elements according to the diagram below. Keep a minimum clearance of 20” (508 mm) between the appliance and any flammable furniture elements.

The side cabinet depth (clearance A) must match the front edge of the range side panel:

Unpacking, moving, and positioning the range
CAUTION This unit is designed as a cooking appliance. For safety reasons, never use it for warming the room or as a space heater.
- It is recommended that the front kick panel, the backyard, and oven racks be removed to facilitate handling. This will reduce the weight for moving.
- When positioning the appliance during installation, do not use the door handle to lift or move the appliance.
- Wear gloves to avoid cutting fingers on sharp edges during installation.
- Remove the outer carton and packing material from the shipping base.
- The appliance can be moved with a hand dolly or with a clamp lift truck (not with a forklift truck) only if it is still packaged.
- Remove all tape and packaging before using the appliance. Dispose of the packaging after unpacking the appliance. Never allow children to play with packaging material.
- Due to its weight, after removing the packing material, move it with the help of a second person.
- Before moving range ensure legs are installed completely. Adjust the level only when the appliance is in its final location.
- Before moving range ensure legs are installed completely.
- The floor under the legs should be protected (wood, strips, carpet, paneling, etc.) before pushing the unit into position.
- The anti-tip device must be installed, and the gas / electrical connections should be made before the range is placed in its final position.
- Legs should be installed near where the appliance will be used as they are not secure for long transit. Keep the unit raised so that the legs can be screwed into their couplings, then lower the range gently to prevent the legs and mounting hardware from being subject to any undue strain.

NOTE: First insert the front feet and then the rear ones.
The following is the correct order of installation and positioning:
- Install and adjust the legs.
- Install the front/side skirting.
- Assemble and fix the anti-tip bracket to the floor or wall.
- Make the gas and electrical connections.
- Move the range to its final position.
The appliance must sit level on the floor to ensure stability
- Screw or unscrew the bottom part of the foot until the appliance is stable and level on the floor. The adjustment range of the screw is 1.37 inches (35 mm).

NOTE: this appliance must only use the specific leveling legs provided by the manufacturer.
Ventilation recommendations:
- We strongly recommend the installation of a ventilation hood above this appliance. The hood must be installed according to the instructions provided with the hood.
CAUTION The appliance should not be installed with a ventilation system that blows air downward toward the burners. This type of ventilation system may cause ignition and combustion problems with the gas cooking appliance and may result in personal injury or unintended operation.
Electrical connection
WARNING
Electrical shock hazard
- This appliance is equipped with a four-prong grounding plug for your protection against electric shock and should be plugged directly into a properly grounded receptacle. Do not cut or remove the grounding prong from this plug.
- The grounding prong must be plugged into a matching grounding type receptacle and connected to a correctly polarized 240-Volt circuit. If there is any doubt as to whether the wall receptacle is properly grounded, have it checked by a qualified electrician.
Failure to do any of the above could result in a fire, personal injury or electrical shock.
WARNING
Electrical shock hazard
- For personal safety, this appliance must be properly grounded. For maximum safety, the power cord must be securely connected to an electrical outlet or junction box that is the correct voltage, is correctly polarized and properly grounded, and is protected by a circuit breaker in accordance with local codes.
- It is the personal responsibility of the consumer to have the appropriate outlet or junction box with the correct, properly grounded wall receptacle installed by a qualified electrician. It is the responsibility and obligation of the consumer to contact a qualified installer to ensure that the electrical installation is suitable and in conformance with all local codes and ordinances.
This range is equipped with a factory-connected power cord. The cord must be connected to a grounded 120-volt – 60 Hz outlet. If no outlet is available, have one installed by a qualified electrician.

CAUTION Do not use multiple outlets, extension cords or adapters.
See the rating plate for technical specifications. The rating plate is visibly located on the right side of the oven door frame.
This ID plate must never be removed.

Gas safety
WARNING Burning gas cooking fuel generates some by-products which are on the list of substances which are known by the State of California to cause cancer or reproductive harm. To minimize exposure to these substances, always operate this unit according to the instructions contained in this booklet and provide good ventilation. Install a gas shutoff valve near the appliance. It must be easily accessible in an emergency.
Leak testing must be conducted by the installer according to the instructions in this manual. The appliance and its individual shutoff valve must be disconnected from the gas supply piping system during any pressure testing at pressures in excess of ½ psi (3.5 kPa).
The appliance must be isolated from the gas supply piping system by turning off its individual manual shutoff valve during any pressure testing of the gas supply piping system at test pressures equal to or less than ½ psi (3.5 kPa). The minimum supply pressure must be 1″ water column above the manifold pressure printed on the rating label. The maximum supply pressure of 14.0 inches of water column (34.9 Millibars) must not exceed.
IMPORTANT SAFETY NOTICE: Burning gas cooking fuel generates some by-products which are on the list of substances which are known by the State of California to cause cancer or reproductive harm. To minimize exposure to these substances, always operate this unit according to the instructions contained in this booklet and provide good ventilation.
WARNING State of California Proposition 65 Warning:
This product may contain a chemical known to the State of California, which can cause cancer or reproductive harm. Therefore, the packaging of your product may bear the following label as required by California. For more information go to www.P65Warnings.ca.gov
Propane gas installation
The propane gas tank must be equipped with its own high-pressure regulator. In addition, the regulator supplied with this unit must also be used. The appliance is shipped from the factory for use with natural gas. It must be converted for use with propane. The conversion must be done by a qualified technician or installer. This appliance has been certified for safe operation up to a height of 10,000 ft. Exception: To use it with propane gas, the appliance must be converted in accordance with the propane conversion instructions.
For Massachusetts installations:
- Installation must be performed by a qualified or licensed contractor, plumber or gas fitter qualified or licensed by the state, province or region where this appliance is being installed.
- The shut-off valve must be a “T” handle gas cock.
- The flexible gas connector must not be longer than 36 inches.
Installer – show the owner where the gas shut-off valve is located.
Gas connection
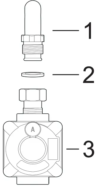
The appliance is shipped from the factory for use with natural gas at a pressure of 5″ of the water column. When checking if the regulator is working properly, the inlet pressure must be at least 1″ greater than the operating (manifold) pressure above. When used with natural gas, the pressure supplied to the regulator must be between 6″ and 10.5″ of the water column.
To convert the appliance to propane gas see “Conversion to Propane gas (LPG)”. The conversion must be done by a qualified technician or installer. Use a flexible gas pipe with a length of at least 5 ft (1.5 m). The gas inlet to the unit is located at the back right of the appliance. Install the pressure regulator (supplied with the unit) on the gas inlet. Install the gasket (supplied with the unit) between the inlet and the regulator. Position the regulator so that cap D is easily accessible. Tighten the nut on the gas inlet so that it is hand-tight plus 1/3 turn. Connect the gas pipe to the regulator using Teflon tape or pipe-joint compound (resistant to propane gas and natural gas). Turn so that it is hand-tight plus 1/3 turn. Do not exceed 1 turn for alignment, to prevent possible damage to the gas pressure regulator.

- Gas inlet (attached to the appliance).
- Gasket.
- Pressure regulator.
CAUTION Do not allow the regulator to rotate on the pipe when tightening fittings.
WARNING Do not attempt to adjust the pressure regulator, except when converting to propane. Adjustments could lead to leaks or cause the incorrect gas pressure to be supplied to the appliance.
Burners and nozzles technical tables Cooktop burners:

1 – Circular Dual Flame burners.
2 – Circular Single Flame burners.
3 – Fish burner.
Burner power and bypass table
| Burner No. Max. Power (BTU) Min. Power (BTU) Bypass (mm) | 1 18000 750 75 + 26 | 2 12000 3500 58 | 3 5500 + 5500 2400 + 2400 45 + 45 |
Natural gas nozzles table (Pressure in W.C.P.: 5”)
| Burner No. Ext. nozzle number Int. nozzle number | 1 180 75 | 2 155 | 3 108 + 108 |
LPG nozzles table (Pressure in W.C.P.: 10”)
| Burner No. Ext. nozzle number Int. nozzle number | 1 115 48 | 2 102 | 3 67 + 67 |
Oven cavity burners:

4: Broiler burner
5: Oven burner
Broiler and oven burners power table
| Burner No. Power (BTU) | 4 17000 | 5 11500 |
Natural gas nozzles table (Pressure in W.C.P.: 5”)
| Burner No. Nozzle number | 4 180 | 5 150 |
LPG nozzles table (Pressure in W.C.P.: 10”)
| Burner No. Nozzle number | 4 117 | 5 98 |
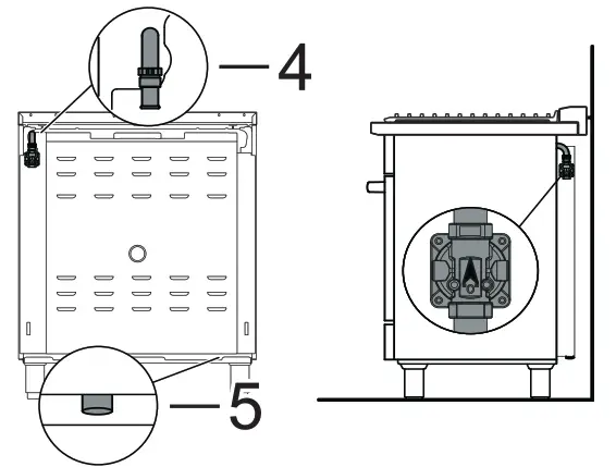
Location of the appliance’s Gas and Electric connections

4 Gas connection
5 Electrical connection
Connect the gas supply line to the unit pressure regulator using a 1/2” flex gas line connector between the manual shut-off valve and the pressure regulator. A metal flex line or fixed metal pipe must be used to connect the gas to the appliance. If a metal gas line cannot be used, consult your local certified electrician or local electric codes for proper grounding.
Check the supply line connections for leaks using a soap solution or non-corrosive leak detection fluid. Do not use a flame of any sort.
WARNING Install a gas shutoff valve near the appliance. After installation, it must be easily accessible in an emergency.
- Turn on the gas.
- Apply a soap solution or non-corrosive leak detection fluid to all joints and fittings in the gas connection between the shut-off valve and the cooktop. Include gas fittings and joints in the cooktop if connections may have been disturbed during installation. Bubbles appearing around fittings and connections indicate a leak.
- If you detect a leak, turn off the supply line gas shutoff valve and tighten connections.
- Retest for leaks by turning the gas supply line shutoff valve on. When the leak check has been completed (no bubbles appear), the test is complete.
- Wipe off all residues of the soap solution or detection fluid.
Important Notes for Gas Connection:
- The appliance and its individual gas shutoff valve must be disconnected from the gas supply piping system during pressure testing of the system at test pressures in excess of 1/2 psi (3.5kPa).
- The appliance must be isolated from the gas supply piping system by turning off its individual manual shut-off valve during pressure testing of the gas supply piping system at test pressures equal to or less than 1/2 psi (3.5kPa).
Testing for gas leaks
WARNING NEVER use a flame to check for gas leaks.
Gas leak tests should be performed before testing the electric ignition of the burners:
- Turn on the gas supply.
- Apply a non-corrosive leak detection fluid (e.g. soapy water) to all joints and conduits.
- If bubbles appear, it means there is a leak. Turn off the gas supply and tighten the connections.
- Retest for leaks. If no bubbles appear, the test is passed. Wipe off all residues of detection fluid.
Testing the electric ignition of the burner
This test should be performed after the range and supply line connectors have been carefully checked for leaks and the range connected to the electric power supply:
- Push in and turn a surface burner knob to the low flame position. You will hear the igniter sparking.
- The surface burner should light when gas is supplied to the cooktop burners. Each burner should light within four (4) seconds after air has been purged from supply lines. Visually check that burner has lit.
- Once the burner lights, the control knob should be rotated out of the low flame position.
- There are separate ignition devices for each burner. Try each knob separately and together until all burner valves have been checked.
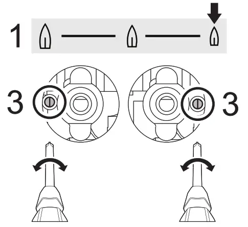
Adjusting the minimum gas setting Circular Dual Flame burners
NOTE: The Circular Dual-flame burners are fitted with two minimum adjustment screws. They are slotted head and brass coated located at both sides of the knob insertion rod.
- Push in the burner control knob and light it at the minimum position
. - Remove the burner control knob, along with the conical spring and knob ring.
- Tighten or loosen the highlighted screws to adjust the minimum flame height.

Circular Single Flame burners and Fish burner
NOTE: The Circular Single Flame burners and Fish burners are fitted with one minimum adjustment screw. It is slotted head brass coated and is located to the right or left of the knob insertion rod.
- Push in the burner control knob and light it at the minimum position
. - Remove the burner control knob, along with the conical spring and knob ring.
- Tighten or loosen the highlighted screws to adjust the minimum flame height.

Conversion to Propane gas (LPG)
WARNING
- Before proceeding with the gas conversion, the gas supply must be turned off before disconnecting the electrical power.
- A gas leak test should be performed after the gas conversion has been carried out.
Always provide an adequate gas supply.
This appliance is shipped from the factory for use with natural gas. Use this kit to convert the appliance for use with propane gas, if necessary. Comply with the following: Ensure that the range is converted for use with the appropriate gas before using it.
This appliance is designed to operate at a pressure of 10″ of the water column when used with propane gas. When checking if the regulator is working properly, the inlet pressure must be at least 1″ greater than the operating (manifold) pressure above.
When converting for propane gas use, the pressure supplied to the regulator must be between 11″ and 13″ of the water column. The pressure regulator located in the inlet of the range manifold must remain in the supply line. Use a flexible metal appliance connector or rigid pipe to connect the range to the gas supply. The connector should have an inside diameter of 1/2” and be 5 ft (1.5 m) or less in length. (Exception: Maximum connector length in Massachusetts installations is 3 ft (0.9 m). In Canada, the connector must be single-wall metal and not longer than 6 ft (1.8 m).
Save the nozzles removed from the appliance for future use.
CAUTION Before proceeding with the gas conversion, the gas supply must be turned off before disconnecting the electrical power.
Parts included with the propane gas nozzle kit:
2 x nozzle number 48
2 x nozzle number 67
1 x nozzle number 98
2 x nozzle number 102
2 x nozzle number 115
1 x nozzle number 117
1 x adhesive label for LPG nozzles
1 x nozzles change the warning label
1 x sealing gasket
Setting the pressure regulator for Propane Gas
- Unscrew the regulator cap.

- Unscrew the plastic regulator stem from the regulator cap. Configuration “A” is for Natural Gas.
- Invert the plastic regulator stem to achieve the configuration “B” for Propane Gas and screw it in tightly.

- Screw the regulator stem and cap into place.
NOTE: When converting for Propane Gas use, the pressure supplied to the regulator must be between 11″ and 13″ of the water column.
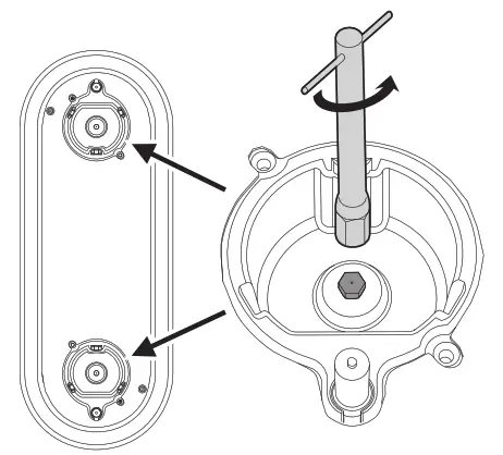
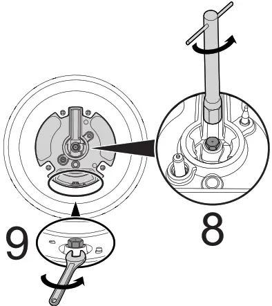
Replacing the Circular Dual lame burners nozzles
- Remove the cooktop grates.
- Remove the burner cover (1), the flame-spreader crown (2), and the burner skirt (3) from the burner base (4).

- Remove the tightening screws (5), the cover plate (6), and the gasket (7).
4. Remove the internal (8) and external (9) nozzles and replace them with the LPG nozzles (see “LPG nozzles table (Pressure in W.C.P.: 10”)”).
CAUTION This procedure must be performed for every burner. - Refit the burner components following the above instructions in reverse
Replacing the Circular Single Flame burners nozzles
- Follow the instruction steps from 1 to 3 as written for the Dual Flame burners.
- Remove the external (9) nozzle and replace it with the LPG nozzle (see “LPG nozzles table (Pressure in W.C.P.: 10”)”).

Replacing the Fish burner nozzles
- Remove the cooktop grates.
- Remove the burner covers (1), and the flame spreader crowns (2) from the burner base (3).

- Remove the nozzles and replace them with the LPG nozzles (see “LPG nozzles table (Pressure in W.C.P.: 10”)”).

Replacing the oven burner nozzle
CAUTION Take care not to damage the thermocouple or the igniter when doing the following operations.
- Open the door and remove all the accessories from inside the oven.
- Remove the screws on the bake chamber cover.

- Lift up the oven’s bottom surface and pull it outwards.

- Loosen the screws A and remove the burner fixing plate.

- Loosen the screws B.
- Move away the lock that secures the thermocouple and igniter to the burner.
- Slide the burner outwards until the nozzle is accessible.
- Replace the nozzle using a 7mm socket wrench.
- Refit the oven bottom surface back in place.
NOTE: The tightening torque of the nozzle must be 4 Nm.
Replacing the broil burner nozzle
CAUTION Take care not to damage the thermocouple or the igniter when doing the following operations.
- Open the door and remove all the accessories from inside the oven.
- Loosen the screw C.

- Slide the burner outwards until the nozzle is accessible.
- Replace the nozzle using a 7mm socket wrench.
NOTE: The tightening torque of the nozzle must be 4 Nm. - After having replaced the nozzle, put the burner back in its seat and tighten the C screw.
Correct cooktop burners placement
Pay attention to placing the burners in their correct zones prior to remounting them.

- 18000 BTU circular brass coated burners – to be placed in the front left and front right zones.
- 12000 BTU circular black coated burners – to be placed in the rear left and rear right zones.
- 5500+5500 BTU black-coated fish burner – to be placed in the central zones.
Refitting the burners
Circular burners:
In order to be installed correctly, the shape of the burner skirt openings must match the shape of the openings in the burner base.

The flame-spreader crown must be centered on the burner skirt.

The burner cover must be leveled and centered with respect to the burner skirt.

Fish burner:
Take care to align the flame-spreader crown recesses (A) to the igniters (B).

Place the burner covers onto the flame-spreader crowns.

CAUTION
- Each burner component must be positioned horizontally and must correctly interlock with each other.
- Check that they are fitted correctly by moving each component gently. If the components do not fit correctly or are inclined, adjust the position of each component until it remains fixed in position.
Wall and floor attachment
WARNING
Electrical shock hazard
- Use extreme caution when drilling holes in the wall or floor. There may be concealed electrical wiring behind the wall or under the floor.
- Identify the location of the electrical circuits that could be affected by the installation of the anti-tip device, then turn off power to these circuits.
- Failure to follow these instructions may result in electrical shock or another personal injury.
CAUTION Contact a qualified installer or contractor to determine the proper method for drilling holes through the wall or floor material (such as ceramic tile, hardwood, etc.)- Failure to follow these instructions may result in damage to the wall or floor coverings.
WARNING Visually check from the inside of the drawer that the wall/ floor-mounted bracket is inserted into the appropriate lateral hook (left side).
Positioning the bracket using the template:
- Choose the correct side of the template, based on the model.

- Fold the template following the horizontal dashed line.

- Place the template so that the thick vertical line drawn on it is aligned with the edge of the left side of the appliance.

- Mark the location of the screw holes, to the wall or to the floor depending on how you want to fix the bracket.
- Fix the anti-tip bracket.
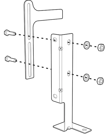
Installing the anti-tip bracket:
- Ensure that the electrical connection is in the correct position.
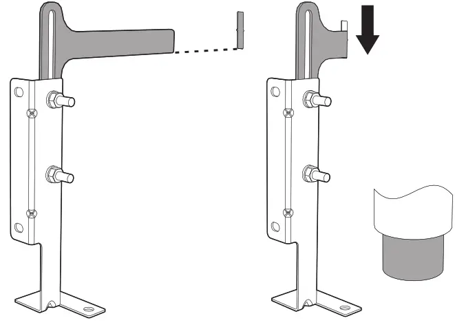
- Assemble the bracket.

- Align the base of the hook of the bracket with the base on the slot of the rear wall fastening bracket. Align the base of the fastening bracket with the floor and tighten the screws to fix the measurements.

- For wall mounting, go to steps 5, 6, 9, and 10. For floor mounting, to steps 7, 8, 9, and 10.
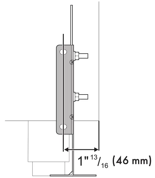
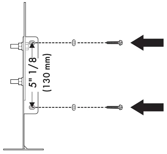
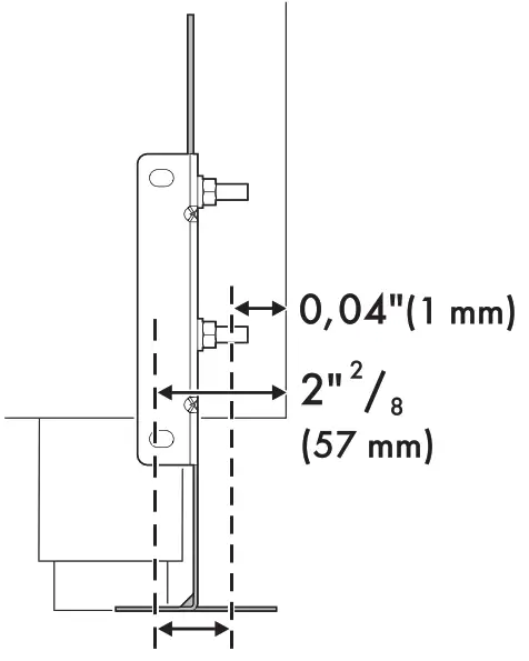
NOTE: The wall attachment is recommended if the appliance is placed against a wall. Floor attachment is recommended in case of island installation. - Use the specified distance from the side of the appliance to the bracket holes.

- Move the bracket to the wall and fix it with the two washers and screws. A qualified technician must verify the suitability of the materials in accordance with the type
and condition of the wall.
- Use the following distances for the distance from the side of the appliance to the bracket holes.

- After having positioned and leveled the appliance, move the bracket close to the rear of the appliance and anchor it to the floor using the two washers and screws. A qualified technician must verify the suitability of the materials in accordance with the type and condition of the floor.

- Push the cooker towards the wall, and at the same time, insert the bracket in the plate that is fastened to the rear of the appliance.

WARNING The rear vent trim has 3/16” (5 mm) standoffs to keep the appliance slightly away from the back wall. Do not remove or tamper with standoffs due to potential temperature issues. - Check for proper installation and use of the anti-tip bracket. Carefully tip the range forward by pulling it from the back to ensure that the anti-tip bracket engages the range leg and prevents tip-over. The range should not move more than 1” (2.5cm).
Door removal
It is not necessary to remove the door in order to install the range but is an added convenience. Refer to the Use and Care Guide for oven door removal instructions.

All rights reserved. Printed in Italy
914780107-A-432021








4. Remove the internal (8) and external (9) nozzles and replace them with the LPG nozzles (see “LPG nozzles table (Pressure in W.C.P.: 10”)”).



































