UPLIFT DESK
Enfield Dual Monitor Arm
SKU: MON042
Package Contents

Base

Lower Arm( qty 2)

Upper Arm(qty 2)

VESA Plate (qty 2)

Upper Clamp

Lower Clamp

Wire Cover
Allen Wrenches (set of two: 4mm, 6mm)
Flat Wrench
M6x12 Flathead Screw (qty 3)
M4x12 Screw (M-A) (qty 8)
M5x12 Screw (M-B) (qty 8)
M5 Washer (M-C) (qty 8)
Parts for Bolt-through assembly
Upper Base Plate
Lower Base Plate
Long Bolt
M8 Washer
M8 Nut
- Acceptable monitor weight range: 4.4 lb to 19.8 lb (per monitor)
- Recommended monitor size: up to 32” (measured diagonally)
- Desktop thickness compatibility:
- Clamp Method: 0.4”-3.3” thick.
- Bolt-through Method: 0.4”-3.1” thick
There are two ways to attach the Enfield Dual Monitor Arm to your desktop. If you would like to attach it along the back edge of your desktop, follow the Clamp Method instructions starting on this page. If you prefer to attach it through your desktop, follow the Bolt-Through Method instructions starting on page 2.

Step 1
Determine your mounting method. There are two ways to attach the Enfield Dual Monitor Arm to your desktop:
Clamp Method: If you would like to attach the monitor arm along the back edge of your desktop, follow the Clamp Method instructions (Steps 2 – 4).
Bolt-Through Method: If you prefer to attach the monitor arm through your desktop, skip Steps 2 – 4 and follow the Bolt-Through Method instructions (Steps 5 – 7).
Clamp Method
Step 2 (Clamp Method)

Align the Upper Clamp with the Base in the orientation shown and attach it using the three M6x12 Flathead Screws and the 4mm Allen Wrench.
Step 3 (Clamp Method)


- There are two sets of holes in the Upper Clamp to use for different desktop thicknesses.
• There are two screws pre-installed in the top two holes of the Upper Clamp. Leave the screws in those holes if your desktop is between 0.4’’ and 2.1’’ thick (fig. 1)
• If your desktop is between 2’’ and 3.3’’ thick, use the 4mm Allen Wrench to remove the screws from the top two holes and insert them into the bottom two holes (fig. 2) - Use the 4mm Allen Wrench to adjust the two screws in the Upper Clamp so that there is about 0.25” of thread between the plate and screw heads.
- Position the Lower Clamp assembly in the orientation shown and press it against the Upper Clamp so the two screws go through the two key slot holes in the Lower Clamp.
- Slide the Lower Clamp assembly down so that the screws are at the top of the key slot holes and tighten the screws with 4mm Allen Wrench.
Step 4 (Clamp Method)

- Using the knob screw, adjust the bolt on the bottom of the Lower Clamp so that the opening is wide enough to accommodate the thickness of the desktop.
- Slide the assembly onto the back of the desktop, then tighten the knob screw to secure the Base to the desktop.
Bolt-Through Method
Step 5 (Bolt-Through Method)

Ensure the desktop has a hole between 0.4’’ and 3.1’’ in diameter to use this option.
Using a grommet hole that is already in your desktop is acceptable, or you can drill a 0.5” diameter hole anywhere on your desktop.
Step 6 (Bolt-Through Method)

- From the top of the Upper Base Plate (the side opposite from the countersunk holes), insert the Long Bolt through the square hole until the square shank of the Bolt fits into the Plate’s square hole.
- Align the Upper Base Plate with the bottom of the base in the orientation shown and attach it using the three M6x12 Flathead Screws and the 4mm Allen Wrench.
Step 7 (Bolt-Through Method)

- Lower the Base assembly to the desktop guiding the Long Bolt through the hole in the desktop.
- Slide the Lower Base Plate onto the Long Bolt and secure it against the desktop with the M8 Washer and Nut.
- Tighten the Nut with the Flat Wrench while ensuring the Lower Base Plate straddles the hole.
- Proceed with the Arm Assembly & Monitor Mounting, Step 8.
Arm Assembly & Monitor Mounting
Step 8
- The Base comes with a pre-installed limiting screw in each of the posts which limit the rotation of each arm to 180 degrees. If you want to limit the rotation of the arms to 180 degrees, leave these screws installed and use the 4mm Allen Wrench to ensure
they are tight (be careful not to over tighten). - If you want the arms to rotate a full 360 degrees, remove the screws with the 4mm Allen Wrench.
• We recommend saving these screws in case you decide to limit the rotation of the arms in the future.
Step 9
Slide each of the Lower Arms onto the posts of the Base until they are fully seated and tighten the set screws at the back of each Lower Arm with the flathead end of the 4mm Allen Wrench (or a small flat head screwdriver). This will secure the Lower Arms to the Base and keep them from becoming separated during adjustment.
Step 10
Warning, Pinch Point: Pay attention! When handling the Upper Arms, keep hands and fingers clear of the Upper Arm’s pivot location when moving, installing, and making adjustments to the Enfield Monitor Arm.
- Slide the post of each of the Upper Arms into the hole at the top end of each of the Lower Arms un-till they are fully seated.
- Tighten the set screws on the front of each of the Lower Arms with the flat-head end of the provided 4mm Allen Wrench (or a small flat head screw driver). This will prevent the Upper Arms from becoming separated from the Lower Arms during adjustment.
Step 11
Reminder: The acceptable monitor weight range for each of the Enfield Dual Monitor Arms is 4.4 lb to 19.8 lb per arm.
- Lay your monitor face down on a clean surface or a towel to prevent damage to your screen.
- Test the M4x12 and M5x12 Screws in your monitor’s screw holes to determine which is the right size for your monitor.
- Line up the holes of the VESA Plate with the holes on your monitor, orienting the VESA Plate as shown, with the VESA Plate’s knob pointing toward the top of the monitor.
- Attach the VESA Plate to the monitor using the selected screws with the M5 Washers.
- Repeat with the second monitor.
Step 12
- Make sure the knob on the VESA Plate is in the “Unlock” position, perpendicular to the monitor.
- Slide the VESA Plate into the slot shown in the Upper Arm.
- Once the VESA Plate is inserted all the way into the Upper Arm, turn the knob on the VESA Plate to the “Lock” position, parallel to the monitor.
- Pull up slightly on your monitor to make sure it is locked securely in place.
- Repeat with the second monitor.
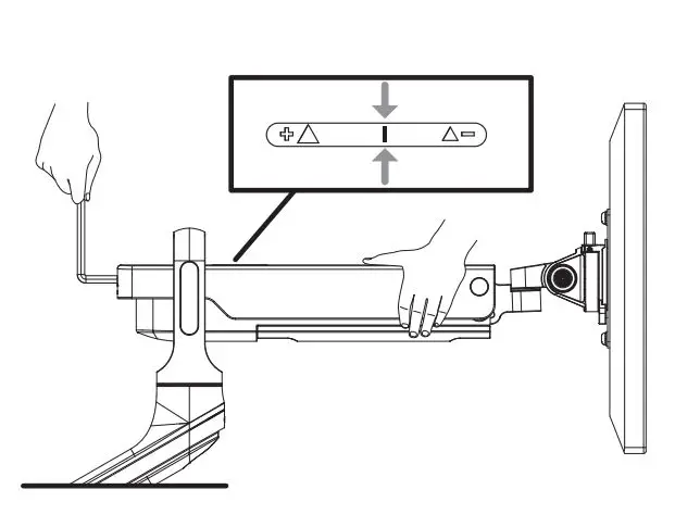
Step 13


- Move a monitor to any position and release it. If the monitor does not drift up or down, the arm is properly counterbalanced.
- If the monitor does not remain where you positioned it, you will need to adjust the tension of the spring to properly support the weight of your monitor using the 6mm Allen Wrench on the tension adjustment screw (located at the back end of the Upper Arm). View how much the spring is tensioned via the tension indicator on top of the
Upper Arm.
Caution: To prevent damage to the tension indicator,
never adjust the counterbalance screw so that the red indicator line moves past the “+” or “-” symbols.
- If the monitor drifted down, hold the Upper Arm in a horizontal position and use the 6mm Allen Wrench to turn the adjustment screw so that the tension indicator moves toward the “+” symbol until the monitor remains in place when you let go.
- If the monitor drifted upward, turn the adjustment screw so that the tension indicator moves towards the “-” symbol until the monitor remains in place when you let go.
- Repeat with the second monitor arm.
Step 14

- You can rotate the monitors to be in either portrait or landscape orientation.
- If the monitor does not hold in place when rotated, tighten the screws shown with a Phillips Head screwdriver to keep the monitor in position.
- Repeat with the second monitor.
Step 15

- To adjust the front and back tilt of your monitor, loosen the socket head screw on the side of the Upper Arm where shown with the 4mm Allen Wrench.
- Once the monitor is at your preferred viewing angle, re-tighten the screw with the Allen Wrench to hold the monitor in place.
- Repeat with the second monitor.
Step 16

- To use the arm’s wire management, first remove the built-in wire covers.
- There are two wire covers on each arm, one located under the Upper Arm and the other under the Lower Arm. They are removed by gripping the sides of the cover and sliding it forward (toward the monitor) to unlock and remove. Be careful not to pull down on the cover, doing so may damage the covers.
- Run your cables up and under each section of the monitor arm and replace the covers the opposite way that they were removed.
Step 17

- If you have selected the Clamp Method, you can now snap the Wire Cover onto the back of the Upper Clamp on the Base as shown and insert your monitor cables through the integrated clips.
- In addition to holding the cables in place, there are convenient holes to store the Allen Wrenches for future adjustment needs.
- The Wire Cover adds 0.75” to the back of the monitor arm. If your desk is close to a wall or cubicle, or has a privacy panel attached to the back of the desktop, there may not be enough space available to attach the Wire Cover.
Adjustment Information
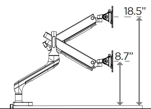
Height Adjustment
The center of the VESA mount can go as high as 18.5” and as low as 8.7’’ from the desktop.

Monitor Tilt
Each Monitor can tilt at the VESA mount forward or backward within a range of 80° (+/-40°).

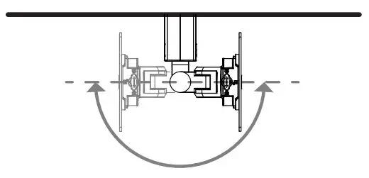
Monitor Swivel
Each Monitor can swivel 180° (+/-90°) at the hinge at the top of the Upper Arm.

Monitor Rotation
Each Monitor can rotate at the VESA mount 360° allowing landscape or portrait viewing.

Upper Arm Swivel
Each Upper Arm can swivel 180° (+/-90°).

Lower Arm Swivel
Each Lower Arm can swivel a full 360°, depending on monitor size, monitor orientation, and the location of the other arm.

Each Lower Arm can also be set to allow only a range of 180° (See Step 8 in the “Arm Assembly & Monitor Mounting” section for adjustment details.) We do not recommend swiveling the Monitors past the back of the desk as this may cause instability.
CAUTIONS & WARNINGS
CAUTION: Read all instructions before assembly. Failure to assemble or operate properly may result in damage or personal injury. Retain manual for future reference.
WARNING: Pinch point: Keep fingers clear of Upper Arm’s hinge when installing and making adjustments.
WARNING: Ensure the desktop is strong enough to support the combined weight of the monitor arms and attached equipment.
WARNING: The arms will be in tension and will spring up quickly when attached equipment is removed. Do not remove equipment unless the arms have first been raised to their highest position.
CAUTION: Do not use on hollow core tables or desktops.
CAUTION: Do not over tighten screws. Over tightening may cause damage to your equipment
CAUTION: Leave enough slack in the cables to allow the monitor arms to move freely.
CAUTION: Max monitor weight is 19.8 lbs per arm. Using a monitor over 19.8 lbs could result in instability causing possible injury.
©Copyright Notice: These instructions are a component of this accessory. These instructions are part of the scope of delivery, even if the item is resold. These instructions are also available on the UPLIFT Desk website: uplift- © desk.com. Excerpts or copies may not be forwarded to third parties or used in any other published form without the prior written consent of UPLIFT Desk. These instructions are subject to United States copyright law.
© UPLIFT Desk
- 800-349-3839
- [email protected]
- upliftdesk.com


























