UPLIFT DESK MON052 Moontower Dual Monitor Arm

Package Contents

- Maximum monitor weight: 17.6 lb (each monitor)
- Recommended monitor size: up to 27”
- Desktop thickness compatibility: 0.4”-3.4” thick
There are two ways to attach the Moontower Dual Monitor Arm to your desktop. If you would like to attach it along theback edge of your desktop, follow the Clamp Method instructions on this page. If you prefer to attach it through your desktop, follow the Bolt-Through Method instructions starting on page 2.
- Step 1
Determine your mounting method. There are two ways to attach the Moontower Dual Monitor Arm to your desktop:- Clamp Method: If you would like to attach the monitor arm along the back edge of your desktop, follow the Clamp Method instructions (Steps 2 – 3).
- Bolt-Through Method: If you prefer to attach the monitor arm through your desktop, skip Steps 2 – 3 and follow the Bolt-Through Method instructions (Steps 4 – 7).

Clamp Method
- Step 2 (Clamp Method)
Note: An Adhesive Pad may already be attached to your Clamp Mount base. If so, proceed to Step 3.Peel the adhesive backing off of the Adhesive Pad and attach it to the bottom of the Clamp Mount as shown. Align the Pad with the front edge of the Clamp Mount base first, then work to the back. - Step 3 (Clamp Method)
- A. Slide the Clamp Mount onto the back of the desk-top, then tighten the bolt of the clamp onto your desktop using the knob.
- B. If you chose the Clamp Method for mounting, please skip the Bolt-Through Method (Steps 4-7) and proceed with Step 8.

Bolt-Through Method
- Step 4 (Bolt-Through Method)
Ensure the desktop has a hole between 0.4’’ and 3.1’’ in diameter to use this option. Using a grommet hole that is already in your desktop is acceptable, or you can drill a 0.5” hole anywhere on your desktop. - Step 5 (Bolt-Through Method)
- A. Use a small Phillips screwdriver to remove the oval clamping plate from the top of the Bolt on the Clamp Mount.
- B. Remove the Bolt from the Clamp Mount.

- Step 6 (Bolt-Through Method)
Peel the adhesive backing off of the Adhesive Pad and attach it to the bottom of the Bolt-Through Mount as shown. Center the Pad within the circular edge of the Bolt-Through Mount and press to adhere it. - Step 7 (Bolt-Through Method)
- A. Slide the Bolt-Through Plate onto the Bolt from Step 5 B.
- B. Insert the Bolt through the hole in the desk from below and align it with the threaded hole in the bottom of the Bolt-Through Mount.
- Make sure the two set screw holes in the cylinder of the Bolt-Through Mount are facing the back of the desk and one of the three holes on the flat part is pointing toward the front of the desk so the Base Cover will be straight when it is at-tached later.
- Hand tighten the Bolt until the Bolt-Through Mount is secure.

Arm Assembly & Monitor Mounting
- Step 8
- A. Using the 3mm Allen Wrench, loosen the set screws around the cylinder on the Clamp Mount or Bolt-Through Mount (Clamp Mount shown) so that they do not obstruct the threads inside the cylinder.
- B. Thread the Pole clockwise into the cylinder and turn until it is tight and stops turning. Then re-tight-en the set screws to secure the Pole in place.
- Step 9
Slide the Base Cover over the Pole and snap it into place on the Mount so that the three pegs inside the Base Cover fit into the three holes in the Mount. - Step 10
Slide the Cable Clip around the top of the Pole.
- Step 11
- A. Slide the Dual Arm onto the Pole to the approxi-mate height you want and tighten using the 5mm Allen wrench.
You can adjust the height as needed after your monitors are attached. May require two people to adjust when monitors are attached.
- A. Slide the Dual Arm onto the Pole to the approxi-mate height you want and tighten using the 5mm Allen wrench.
- Step 12
Reminder: Maximum monitor weight per monitor for the Moontower Dual Monitor Arm is 17.6 lb.- A. Lay your monitor face down on a clean surface or a towel to prevent damage to your screen.
- B. Test the M4x12 and M5x12 Screws in your monitor’s screw holes to determine which is the right size for your monitor.

- Step 13
Determine whether your monitors have a 100 mm VESA pattern, or a 75 mm VESA pattern. Each pat-tern attaches in a different way to the Moontower Dual Monitor Arm.
100 mm VESA pattern: If the holes are 100 mm apart (just under 4”) from each other, proceed to Step 14.
75 mm VESA pattern: If the holes are 75 mm apart from each other (just under 3”), skip Step 14 and pro-ceed to Step 15.
- Step 14 (100 mm VESA pattern)
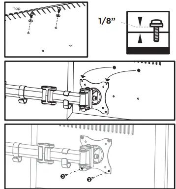
- A. Take two of the Screws from Step 12 and two Washers and thread them into the top two holes of your monitor leaving about a 1/8’’ gap between the Washer and the back of your monitor.
- B. Hold the monitor against the VESA Plate and slide the two screws into the slots at the top of the VESA Plate. Make sure the VESA Plate is between the Washers and the monitor.
- C. Before tightening the top Screws, start two more Screws and Washers through the lower holes of the VESA Plate and into the back of the monitor.
• Be careful to not dislodge the monitor from the top two Screws while inserting the lower Screws! - D. Once all four Screws are started, tighten them all with a Phillips screwdriver to secure the monitor in place.
- E. Repeat this step with the other monitors then skip Step 15 and proceed to Step 16.

- Step 15 (75 mm VESA pattern)
- A. Have a friend hold the monitor up to the VESA Plate and start four Screws from Step 13 and four Washers through the VESA holes and into the back of the monitor.
- B. Then tighten all four Screws with a Phillips screwdriver to secure the monitor in place.
- C. Repeat this step with the other monitors.
- Step 16
- A. Plug in your monitors and run the cables through the Arm Wire Clips and the Cable Clips on the Pole.
- B. The Cable Clips also have a place to hold the 5mm & 6mm Allen Wrenches to keep them handy for any future adjustments needed.

Adjustment Information
- Height
The Dual Arm can be positioned anywhere along the height of the Pole to accommodate your monitors’ sizes. Adjust the height of the arm (see Step 11) so that the tops of your monitors are roughly at eye level when you are in your seated or standing working position. - Monitor Tilt
Use a 6mm Allen wrench to loosen the screw and nut behind the VESA mount to tilt your monitor forward or backward within a range of 90° (+/-45°). Once in the desired position, re-tighten the screw and nut to secure the monitor in place. - Monitor Swivel
The monitors can swivel right and left 180° (+/-90°) from the hinge closest to the monitor. - Monitor Rotation
The monitors can rotate at the VESA mount a full 360° allowing landscape or portrait viewing. - Middle Hinge Swivel
Each Arm’s middle hinge has two swivel points.
Each swivel point can rotate right and left within a range of 180° (+/-90°). - Post Hinge Swivel
The Arm hinge that is closest to the Pole can each swivel right or left within a range of 180° (+/-90°). - Monitor Height Adjustment
Use a 5mm Allen wrench to turn the screw behind the VESA plate to adjust the monitor height – turn clockwise to raise the monitor and counter-clockwise to lower it.

- CAUTIONS & WARNINGS
CAUTION: Read all instructions before assembly. Failure to assemble or operate properly may result in damage or personal injury. Retain manual for future reference.
Work Better. Live Healthier
512-614-3152
800-349-3839
[email protected] upliftdesk.com
SAVE THESE INSTRUCTIONS
Study this manual carefully. If this product is sold, please provide this
manual to the buyer, installers, or support personnel operating the product.
Copyright Notice: This guide is a component of this UPLIFT Desk product. This guide is a part of the scope of delivery, even if the item is resold. This guide is also available on the UPLIFT Desk website: upliftdesk.com. Excerpts or copies may not be forwarded to third parties or used in any other published form without the prior written consent of UPLIFT Desk. These instructions are subject to United States copyright law.





























