UPLIFT DESK mon041 Enfield Single Monitor Arm User Manual
Package Contents

- Acceptable monitor weight range: 4.4 lb to 19.8 lb
- Desktop thickness compatibility:
- Clamp Method: 0.4”-3.3” thick.
- Bolt-through Method: 0.4”-3.1” thick
There are two ways to attach the Enfield Single Monitor Arm to your desktop. If you would like to attach it along the back edge of your desktop, follow the Clamp Method instructions starting on this page. If you prefer to attach it through your desktop, follow the Bolt-Through Method instructions starting.
Step 1
Determine your mounting method. There are two ways to attach the Enfield Single Monitor Arm to your desktop:
Clamp Method: If you would like to attach the monitor arm along the back edge of your desktop, follow the Clamp Method instructions (Steps 2 – 4).
Bolt-Through Method: If you prefer to attach the monitor arm through your desktop, skip Steps 2 – 4 and follow the Bolt-Through Method instructions (Steps 5 – 7).

Clamp Method
Step 2 (Clamp Method)
Align the Upper Clamp with the Base in the orientation shown and attach it using the three M6x12 Flathead Screws and the 4mm Allen Wrench.

Step 3 (Clamp Method)
A. There are two sets of holes in the Upper Clamp to use for different desktop thicknesses.
There are two screws pre-installed in the top two holes of the Upper Clamp. Leave the screws in those holes if your desktop is between 0.4’’ and 2.1’’ thick (fig. 1)
If your desktop is between 2’’ and 3.3’’ thick, use the 4mm Allen Wrench to remove the screws from the top two holes and insert them into the bottom two holes (fig. 2)
B. Use the 4mm Allen Wrench to adjust the two screws in the Upper Clamp so that there is about 0.25” of thread between the plate and screw heads.
C. Position the Lower Clamp assembly in the orientation shown and press it against the Upper Clamp so the two screws go through the two key slot holes in the Lower Clamp.
D. Slide the Lower Clamp assembly down so that the screws are at the top of the key slot holes and tighten the screws with 4mm Allen Wrench.

Step 4 (Clamp Method)
A. Using the knob screw, adjust the bolt on the bottom of the Lower Clamp so that the opening is wide enough to accommodate the thickness of the desktop.
B. Slide the assembly onto the back of the desktop, then tighten the knob screw to secure the Base to the desktop.

Bolt-Through Method
Step 5 (Bolt-Through Method)
Ensure the desktop has a hole between 0.4’’ and 3.1’’ in diameter to use this option.
Using a grommet hole that is already in your desktop is acceptable, or you can drill a 0.5” diameter hole anywhere on your desktop.

Step 6 (Bolt-Through Method)
A. From the top of the Upper Base Plate (the side opposite from the countersunk holes), insert the Long Bolt through the square hole until the square shank of the Bolt fits into the Plate’s square hole.
B. Align the Upper Base Plate with the bottom of the base in the orientation shown and attach it using the three M6x12 Flathead Screws and the 4mm Allen Wrench.

Step 7 (Bolt-Through Method)
A. Lower the Base assembly to the desktop guiding the Long Bolt through the hole in the desktop.
B. Slide the Lower Base Plate onto the Long Bolt and secure it against the desktop with the M8 Washer and Nut.
C. Tighten the Nut with the Flat Wrench while ensuring the Lower Base Plate straddles the hole.
D. Proceed with the Arm Assembly & Monitor Mounting, Step 8.

Arm Assembly & Monitor Mounting
Step 8
A. The Base comes with a pre-installed limiting screw in the post which limits the rotation of the arm to 180 degrees. If you want to limit the rotation of the arm to 180 degrees, leave this screw installed and use the 4mm Allen Wrench to ensure it is tight (be careful not to overtighten).
B. If you want the arm to rotate a full 360 degrees, remove this screw with the 4mm Allen Wrench.
We recommend saving the screw in case you decide to limit the rotation of the arm in the future.

Step 9
Slide the Lower Arm onto the post of the Base until it is fully seated and tighten the set screw at the back of the Lower Arm with the flathead end of the 4mm Allen Wrench (or a small flat head screwdriver). This will secure the Lower Arm to the Base and keep it from becoming separated during adjustment.

Step 10
Warning, Pinch Point: Pay attention! When handling the Upper Arm, keep hands and fingers clear of the Upper Arm’s pivot location when moving, installing, and making adjustments to the Enfield Monitor Arm.

A. Slide the post of the Upper Arm into the hole at the top of the Lower Arm until it is fully seated.
B. Tighten the set screw on the front of the Lower Arm with the flat-head end of the provided 4mm Allen Wrench (or a small flat head screwdriver).
This will prevent the Upper Arm from becoming separated from the Lower Arm during adjustment.
Step 11
Reminder: The acceptable monitor weight range for the Enfield Single Monitor Arm is 4.4 lb to 19.8 lb.
A. Lay your monitor face down on a clean surface or a towel to prevent damage to your screen.
B. Test the M4x12 and M5x12 Screws in your monitor’s screw holes to determine which is the right size for your monitor.
C. Line up the holes of the VESA Plate with the holes= on your monitor, orienting the VESA Plate as shown, with the VESA Plate’s knob pointing toward the top of the monitor.
D. Attach the VESA Plate to the monitor using the selected screws with the M5 Washers.

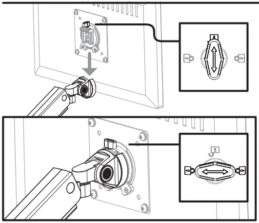
Step 12
A. Make sure the knob on the VESA Plate is in the “Unlock” position, perpendicular to the monitor.
B. Slide the VESA Plate into the slot shown in the Upper Arm.
C. Once the VESA Plate is inserted all the way into the Upper Arm, turn the knob on the VESA Plate to the “Lock” position, parallel to the monitor.
D. Pull up slightly on your monitor to make sure it is locked securely in place.

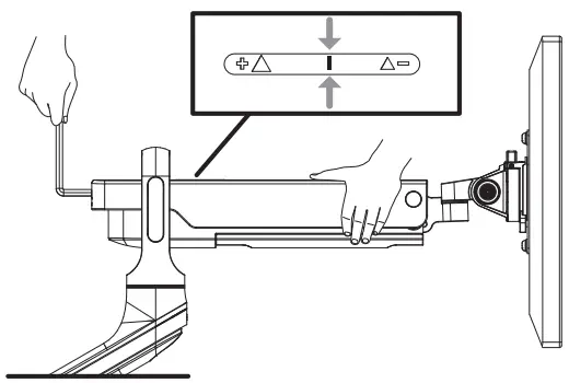
Step 13
A. Move the monitor to any position and release it. If the monitor does not drift up or down, the arm is properly counterbalanced.
B. If the monitor does not remain where you positioned it, you will need to adjust the tension of the spring to properly support the weight of your monitor using the 6mm Allen Wrench on the tension adjustment screw (located at the back end of the Upper Arm). View how much the spring is tensioned via the tension indicator on top of the Upper Arm.

Caution: To prevent damage to the tension indicator, never adjust the counterbalance screw so that the red indicator line moves past the “+” or “-” symbols.
- If the monitor drifted down, hold the Upper Arm in a horizontal position and use the 6mm Allen Wrench to turn the adjustment screw so that the tension indicator moves toward the “+” symbol until the monitor remains in place when you let go.
- If the monitor drifted upward, turn the adjustment screw so that the tension indicator moves towards the “-” symbol until the monitor remains in place when you let go.

Step 14
A. You can rotate the monitor to be in either portrait or landscape orientation.
B. If the monitor does not hold in place when rotated, tighten the screws shown with a Phillips Head screwdriver to keep the monitor in position.

Step 15
A. To adjust the front and back tilt of your monitor, loosen the socket head screw on the side of the Upper Arm where shown with the 4mm Allen Wrench.
B. Once the monitor is at your preferred viewing angle, re-tighten the screw with the Allen Wrench to hold the monitor in place.

Step 16
A. To use the arm’s wire management, first remove the built-in wire covers.
B. There are two wire covers the arm, one located under the Upper Arm and the other under the Lower Arm. They are removed by gripping the sides of the cover and sliding it forward (toward the monitor) to unlock and remove. Be careful not to pull down on the cover, doing so may damage the covers.
C. Run your cables up and under each section of the monitor arm and replace the covers the opposite way that they were removed.

Step 17
A. If you have selected the Clamp Method, you can now snap the Wire Cover onto the back of the Upper Clamp on the Base as shown and insert your monitor cables through the integrated clip.
B. In addition to holding the cables in place, there are convenient holes to store the Allen Wrenches for future adjustment needs.
C. The Wire Cover adds 0.75” to the back of the monitor arm. If your desk is close to a wall or cubicle, or has a privacy panel attached to the back of the desktop, there may not be enough space available to attach the Wire Cover.

Adjustment Information
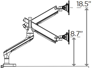
Height Adjustment
The center of the VESA mount can go as high as 18.5” and as low as 8.7’’ from the desktop.

Monitor Tilt
The Monitor can tilt at the VESA mount forward or backward within a range of 80° (+/-40°).

Monitor Swivel
The Monitor can swivel 180° (+/-90°) at the hinge at the top of the Upper Arm.

Monitor Rotation
The Monitor can rotate at the VESA mount 360° allowing landscape or portrait viewing.

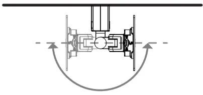
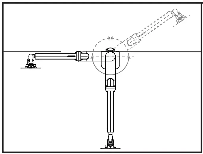
Upper Arm Swivel
The Upper Arm can swivel 180° (+/-90°).

Lower Arm Swivel
The Lower Arm can swivel a full 360°. It can also be set to allow only a range of 180° (See Step 8 in the “Arm Assembly & Monitor Mounting” section for adjustment details.)
We do not recommend swiveling the Monitor past the back of the desk as this may cause instability.

CAUTIONS & WARNINGS
CAUTION: Read all instructions before assembly. Failure to assemble or operate properly may result in damage or personal injury. Retain manual for future reference.
WARNING: Pinch point: Keep fingers clear of Upper Arm’s hinge when installing and making adjustments.
WARNING: Ensure the desktop is strong enough to support the combined weight of the monitor arm and attached equipment.
WARNING: The arm will be in tension and will spring up quickly when attached equipment is removed. Do not remove equipment unless the arm has first been raised to its highest position.
CAUTION: Do not use on hollow core tables or desktops.
CAUTION: Do not overtighten screws. Overtightening may cause damage to your equipment.
CAUTION: Leave enough slack in the cables to allow the monitor arm to move freely.
CAUTION: Max monitor weight is 19.8 lb. Using a monitor over 19.8 lb could result in instability causing possible injury.
©
Copyright Notice: These instructions are a component of this accessory. These instructions are part of the scope of delivery, even if the item is resold. These instructions are also available on the UPLIFT Desk website: uplift- © desk.com. Excerpts or copies may not be forwarded to third parties or used in any other published form without the prior written consent of UPLIFT Desk. These instructions are subject to United States copyright law.
© UPLIFT Desk • 800-349-3839 • [email protected] • upliftdesk.com



















