Tube & Pipe Notcher
Model: RA-1, RA-2, RA-3

OPERATION MANUAL
Features of the pipe cutter RA1, RA2, RA3
- For tubes with up to 3mm wall thickness steel
- For jointing and welding together of tubes in a 90 angle.
- Several tube diameters combined in one device
- Horizontal and vertical operation
- Also suitable for double connection
Save this manual
You will need the manual for the safety warnings and precautions, assembly instructions, operating and maintenance procedures, parts list, and diagram. Keep your invoice with this manual. Write the invoice number on the inside of the front cover. Keep the manual and invoice in a safe and dry place for future reference.
Safety Warnings and Precautions
WARNING: when using tools, basic safety precautions should always be followed to reduce the risk of personal injury and damage to equipment. Read all instructions before using this tool!
- Keep work area clean. Cluttered areas invite injuries.
- Observe work area conditions. Do not use machines or power tools in damp or wet locations. Don’t expose yourself to rain. Keep work area well lighted. Do not use electrically powered tools in the presence of flammable gases or liquids.
- Keep children away. Children must never be allowed in the work area. Do not let them handle machines, tools, or extension cords.
- Store idle equipment. When not in use, tools must be stored in a dry location to inhibit rust. Always lock up tools and keep them out of reach of children.
- Do not force tool. It will do the job better and more safety at the rate for which it was intended. Do not use inappropriate attachments in an attempt to exceed the tool capacity.
- Use the right tool for the job. Do not attempt to force a small tool or attachment to do the work of a large industrial tool. Do not use a tool for a purpose for which it was not intended.
- Dress properly. Do not wear loose clothing or jewelry as they can be caught in moving parts. Protective, electrically non-conductive clothes, and non-skid footwear are recommended when working. Wear restrictive hair covering to contain long hair.
- Use eye and ear protection. Always wear ISO-approved impact safety goggles. Wear a full-face shield if you are producing metal filings or wood chips. Wear an ISO-approved dust mask or respirator when working around metal, and chemical dust and mists.
- Do not overreach. Keep proper footing and balance at all times. Do not reach over or across the running machine.
- Maintain tools with care. Keep tools sharp and clean for better and safer performance. Follow instructions for lubricating and changing accessories. The handles must be kept clean, dry, and free from oil and grease at all times.
- Stay alert. Watch what you are doing; use common sense. Do not operate any tool when you are tried.
- Check for damaged parts. Before using any tool, any part that appears damaged should be carefully checked to determine that it will operate properly and perform its intended function. Check for alignment and binding of moving parts; any broken parts or mounting fixtures; and any other condition that may affect proper operation. Any part that is damaged should be properly repaired or replaced by a qualified technician.
- Guard against electric shock. Prevent body contact with grounded surfaces such as pipes, radiators, ranges, and refrigerator enclosures.
- Replacement parts and accessories. When servicing, use only identical replacement parts. Use of any other parts will void the warranty. Only use accessories intended for use with this tool. Approved accessories are available from the distributor.
- Do not operate tools if under the influence of alcohol or drugs. Read warning labels on prescriptions to determine if your judgment or reflexes are impaired while taking drugs. If there is any doubt, do not operate the tool.
Note: The warning and instructions contained in this instruction manual cannot cover al possible conditions and situations that may occur when using this product. It must be understood that common sense and caution are factors, which cannot be built into this product. These factors must be supplied by the person whom operating this piece of equipment.
Operation
This machine is a special tool used to cut tubes into an R arc at the end, with up to 3mm wall thickness steel.
Before using, clean all the spare parts and install the machine according to the Assembly diagram. Fix the machine horizontally or vertically on the table when you can ensure the cutting block could move easily inside.
There are several diameters holes in the machine:
RA1 for 1/4’’, 3/8’’, 1/2’’
RA2 for 3/4’’, 1’’, 1-1/4’’
RA3 for 1-1/2’’, 2’’
When using, put the end of the pipe into the relevant hole, and finish the cutting by turning the handle.
Attention
Only one size pipe could be cut at one time
There should be no scraps in the holes during operation.
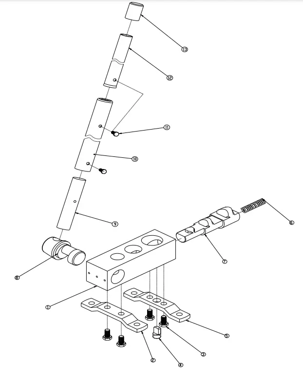
Parts List
| No. | Description | Q’ty |
| 1 | Body | 1 |
| 2 | Front support | 1 |
| 3 | Bolt M10x20 | 4 |
| 4 | Pin | 1 |
| 5 | Back support | 1 |
| 6 | Spring | 1 |
| 7 | Cutting block | 1 |
| 8 | Eccentric shaft | 1 |
| 9 | Joint bar | 1 |
| 10 | Lower handle | 1 |
| 11 | Bolt M6x16 | 2 |
| 12 | Upper handle | 1 |
| 13 | Handle cover | 1 |



















