ARISTON SUPR055C2X055N Suprema Residential Electric Water Heaters

General Safety Information
This water heater is approved for indoor installations only and is not intended for use as a pool heater. Clearance to combustible materials: 0” top, bottom, sides, and back. Heater must have room for service: 24” front, 6” top, and 6” sides are minimum recommended service clearances. (A combustible door or removable panel is acceptable front clearance.) This water heater has been approved for closet installation and installation on combustible flooring. Do not install directly on carpeting. Install the water heater in a location where temperature and pressure relief valve discharge or a leak will not result in damage to the surrounding area. If such a location is not available, install an auxiliary catch pan
Warning
Installer – Read all instructions in this manual before installing.
Perform steps in the given order.
User – This manual is for use only by a qualified heating installer/ service technician. Have this water heater serviced / inspected annually by a qualified service technician. FAILURE TO ADHERE TO THE GUIDELINES ON THIS PAGECAN RESULT IN SUBSTANTIAL PROPERTY DAMAGE, SEVEREPERSONAL INJURY, OR DEATH.
DO NOT USE THIS WATER HEATER IF ANY PART HAS BEENSUBMERGED IN WATER. Immediately call a qualified service
technician. The water heater MUST BE replaced if it has been submerged. Operating a previously submerged water heater could result in property damage, severe personal injury, or death.
NOTE: Water heater damage due to flood or submersion is considered an Act of God, and IS NOT covered under product warranty.
NOTE: Install all system components and piping in such a manner NOTE: Obey all local codes. Obtain all applicable permits before
installing the water heater.
NOTE: Install all system components and piping in such a manner that does not reduce the performance of any fire rated assembly
CAUTION
High heat sources (sources generating heat 100oF / 37oC or greater, such as stove pipes, space heaters, etc.) may damage plastic components of the water heater as well as plastic vent pipe materials .Such damages ARE NOT covered by warranty. It is recommended tokeep a minimum clearance of 8” from high heat sources. Observe heat source manufacturer instructions, as well as local, state, provincial, and national codes, laws, regulations and ordinances when installing this water heater and related components near high heat sources. Do not use this water heater for anything other than its intendedpurpose (as described in this manual). Doing so could result in property damage and WILL VOID product warranty.
NOTICE
UNCRATING THE WATER HEATER – Any claims for damage orshortage in shipment must be filed immediately against the transportation company by the consignee.
transportation company by the consignee.
When Servicing the Water Heating System
Warning
Be sure to disconnect electrical power before performing service. Failure to do so could result in electrical shock, property damage, serious personal injury, or death.
NOTE:
When inquiring about service or troubleshooting, reference the model and serial numbers from the water heater rating label. To avoid severe burns, allow water heater and associated equipment to cool before servicing.
Heater Water
Do not use petroleum-based cleaning or sealing compounds in a water heating system. Gaskets and seals in the system may be damaged. This can result in substantial property damage. Do not use “homemade cures” or “patent medicines”. Damage to the water heater, substantial property damage, and/or serious personal injury may result.
Freeze Protection
NOTE:
Consider piping and installation when determining heater location. Failure of the water heater due to freeze related damage IS
Warning
NEVER use any toxic chemical, including automotive, standard glycolanti freeze, or ethylene glycol made for hydronic (non-potable)systems. These chemicals can attack gaskets and seals in water systems, are poisonous if consumed, and can cause personal injury
Water Temperature Adjustment
The water heater features an installed ASSE 1017 thermostatic mixing valve. See Table 1 if water temperature adjustment is needed.
Warning
Households with small children, disabled, or elderly persons may require a 120oF or lower temperature setting to prevent severe personal injury or death due to scalding.
| Approximate Time / Temperature Relationships in Scalds | |
| 120oF | More than 5 minutes |
| 125oF | 1 1/2 to 2 minutes |
| 130oF | About 30 seconds |
| 135oF | About 10 seconds |
| 140oF | Less than 5 seconds |
| 145oF | Less than 3 seconds |
| 150oF | About 1 1/2 seconds |
| 155oF | About 1 second |
Prepare the Water Heater
Remove all sides of the shipping crate to allow the heater to be moved into its installation location.
CAUTION
COLD WEATHER HANDLING – If the water heater has been stored in a very cold location (BELOW 0oF) before installation, handle withcare until the components come to room temperature. Failure to do so could result in damage to the water heater.
What’s in the Box
- Components included with the water heater: Drain Valve
- Temperature and Pressure Relief Valve
- Insulation
- Hot Water Outlet
- Dip Tube
- Tank Booster Assembly with Mixing Valve
- Use and Care Manual and Warranty
NOTE: Some components may ship factory installed.
Locating the Water Heater
CAUTION
All water heaters eventually leak. Locate the water heater where any leakage from the relief valve, related piping, tank, or connections will not result in damage to surrounding areas or lower floors of the building. Any water heater should be installed in such a manner thatif it should leak the resulting flow of water will not cause damage to the area in which it is installed. National Plumbing codes require a drain pan for any water heater installation. This drain pan should be sized with a maximum depth of 2”, and a minimum diameter2” greater than the diameter of the water heater. The drain pan should empty into an open drain line. This drain line should be3/4” ID minimum, piped to an open drain. Leakage damages ARENOT covered by warranty. Failure to install a drain pan is the sole responsibility of the owner and/or installer. Reference UPC 2000(Uniform Plumbing Code) Section 510 – Protection from Damage or IPC 200 (International Plumbing code) Section 504 – Safety Devices. Leakage damages ARE NOT covered by warranty. In addition, water leak detection devices and automatic water shut off valves are readily available at plumbing supply houses. IT IS HIGHLYRECOMMENDED BY THE MANUFACTURER TO INSTALL WATER LEAKDETECTION DEVICES AND AUTOMATIC SHUTOFF VALVES IN ANYWATER HEATER INSTALLATION WHERE A LEAKAGE OF WATER COULD RESULT IN PROPERTY DAMAGES.
Warning
This water heater is certified for indoor use only. DO NOT INSTALLOUTDOORS. Outdoor installations ARE NOT covered by warranty. Failure to install the water heater indoors could result in property damage, severe personal injury, or death.
Installation Area (Mechanical Room) Operating Conditions
- Ensure ambient temperatures are higher than 32oF / 0oC and lower than 104oF / 40oC
- Avoid continuously high levels of humidity
- Never close existing ventilation openings
NOTE:
When installing in a zero clearance location, it may not be possible to read or view some product labeling. It is recommended to make note of the water heater model and serial number
NOTE:
A combustible door or removable panel is acceptable front clearance.
CAUTION
The service life of the water heater’s exposed metallic surfaces, such as the junction box, is directly influenced by proximity to damp and salty marine environments. In such areas higher concentration levels of chlorides from sea spray coupled with relative humidity can lead to degradation of water heater components.
Warning
Incorrect operating conditions can lead to damage to the heating system and put safe operation at risk. Ensure that the installation location adheres to the information included in this manual. Failure to do so could result in property damage, serious personal injury, or death. Failure of the water heater or components by product warranty .This water heater must be installed upright in the vertical position as described in this manual. DO NOT attempt to install this water heater in any other orientation. Doing so will result in improper water heater operation and property damage, and could result in Choose a location for the water heater as centralized to the piping and electrical system as possible. Also, locate the water heater and domestic water piping where it will not be exposed to freezing temperatures. All piping should be insulated. Additionally, place the water heater so that the drain, controls, and inlets/outlets are easily accessible.
NOTE:
To save on heating costs and improve energy efficiency keep the distance between the water heater and fixtures to a minimum to reduce heat loss from excess piping and keep friction loss at a minimum. Ensure all water heater piping is properly insulated to minimize heat loss.
NOTE:
If you do not provide the minimum clearances shown in Figure 1, it might not be possible to service the water heater with out removing it from the space.
NOTE:
In the State of California, the water heater must be braced, anchored, or strapped to avoid moving during an earthquake. Contact local utilities for code requirements in your area. Visit http://www.dsa.dgs.ca.gov or call 1-916-445-8100 and request instructions. However, applicable local codes shall govern installation. For residential water heaters of a capacity of greater than 52 gallons, consult the local building jurisdiction for acceptable bracing procedures. Check area around water heater. Remove any combustible materials, gasoline, and other flammable liquids. This water heater must be installed upright in the vertical position as described in this manual. DO NOT attempt to install this water heater in any other orientation. Doing so will result in improper water heater operation and property damage, and could result in o incorrect operating conditions IS NOT covered by product

- This water heater must not be located near flammable liquids such as gasoline, butane, liquefied propane, adhesives, solvents,
paint thinners, etc., as the controls of this water heater could ignite these vapors and cause an explosion resulting in property damage, severe personal injury, or death.
If the water heater is to replace an existing water heater, check for and correct any existing system problems such as: - System leaks
- Location that could cause the system and water heater to
freeze and leak - Incorrectly-sized expansion tank
- This water heater must be installed vertical on a level surface
Water Chemistry Requirements
Chemical imbalance of the water supply may affect efficiency and cause severe damage to the appliance and associated equipment. Water quality must be professionally analyzed to determine whether it is necessary to treat the water. Various solutions are available to adjust water quality. Adverse water quality will affect the reliability of the system. In addition, operating temperatures above 135oF will accelerate the build-up of lime scale and possibly shorten appliance service life. Failure of an appliance due to lime scale build-up, low pH, or other chemical imbalance IS NOT covered by the warranty. The water must be potable, free of corrosive chemicals, sand, dirt, and other contaminates. It is up to the installer to ensure the water does not contain corrosive chemicals or elements that can damage the heat exchanger. Potable water is defined as drink able water supplied fromutility or well water in compliance with maximum contaminant levels (40 CFR Part 143.3). If the water contains contaminants higher than outlined by the EPA, water treatment is recommended and additional, more frequent maintenance may be required. If you suspect that your water is contaminated in any way, discontinue use of the appliance and contact an authorized technician or licensed professional.
Water pH between 6.5 and 8.5
- pH levels below 6.5 can cause an increase in the rate of corrosion. pH of 8.5 or higher can potentially cause lime scale build-up
- Maintain water pH between 6.5 and 8.5. Check with litmus paper or have it chemically analyzed by a local water treatment company.
- If the pH is not between 6.5 and 8.5, consult a local water treatment company for solutions.
Hardness less than 12 grains (200 mg/L)
- Hardness levels above the required amounts can lead to limescale build-up throughout the system. Water below 5 grains/gallon (85 mg/L) may be over softened.
- Consult local water treatment companies for unusually hard water areas (above the required amounts) or for other treatment solutions if water is being over softened (below 5grains/gallon [85 mg/L]).
Chloride concentration less than 100 ppm (mg/L)
- Do not fill appliance or operate with water containing chlorides in excess of 100 ppm (mg/L).
- Using chlorinated fresh water should be acceptable as levels are typically less than 5 ppm (mg/L).
- Do not connect the appliance to directly heat swimming pool or spa water.
Total Dissolved Solids (TDS) less than 500 ppm (mg/L) - Total dissolved solids are minerals, salts, metals, and charged particles that are dissolved in water.
- The greater the amounts of TDS present, the higher the corrosion potential due to increased conductivity in the water.
- If using softened water to fill the appliance, it is still possible to have high TDS. This water can be corrosive. Consult local water treatment companies for other treatment solutions to reduce this affect.
NOTE: To promote appliance service life, it is strongly recommended to follow the maintenance procedures in this manual
CAUTION
Failure of electric elements due to lime scale build-up on the heating surface, low pH, or other imbalance IS NOT covered by the warranty.

| Specifications and Dimensions | Water Temperature Ratings | |||||||||||||
| Residential Models | Storage Capacity | A | B | C | D | E | F | Hot / Cold Inlets | Shipping Weight (Lbs. Est.) | From Mixing Valve | Thermostat | |||
| Min. Delivered Temp. | Max. Del. Temp. | Min. Del. Temp. | Max. Del. Temp. | High Temp. Limit | ||||||||||
| SUPR055C2X055N | 55 | 6 3/4” | 41 1/2” | 51” | 58” | 23 1/4” | 8” | 3/4” NPT | 150 | 90oF (32 C) | 130oF (54 C) | 125oF (51.7 C) | 170oF (76.7 C) | 190oF (87.8 C) |
Specifications and Dimensions
Model # | Safety Listing | # Elements and Thermostats | Available Wattage | Voltage | Full Load Current in Amps (Single Phase) |
SUPR055C2X055N | UL 174 | 2 | 5,500 | 240 | 23 |

Anode Rod
This water heater is equipped with an anode rod. Anode rods are sacrificial components that counteract water chemistry to minimize
or eliminate tank corrosion. The anode rod should be inspected at least annually and replaced as necessary to prolong tank life. Have the supply water quality professionally analyzed, as local water conditions will influence the duration for inspection and replacement of the anode rod. The use of a water softener may increase the speed of anode
consumption. More frequent inspection of the anode is needed when using softened or treated water. Water with high sulfate and/or mineral content can produce a rotten
egg odor in heated water. Consult a water treatment specialist for potential remedies.
NOTE:
Do not remove the anode rod from an operating water heater. Operating the water heater without the anode rod will shorten the life of the tank and VOID the warranty.
NOTE:
If anode rods are rapidly consumed water chemistry should be tested by a qualified technician. Corrective action should betaken to prevent the premature failure of the water heating system. Operating the water heater with fully consumed anode rods will shorten the life of the tank and VOID the warranty.
CAUTION
Hydrogen gas is produced in a hot water system served by this heater that has not been used for a long period of time (two [2]weeks or more). Hydrogen gas is extremely flammable. To reduce the risk of injury under these conditions, it is recommended that the hot water faucet be opened for several minutes at the kitchen sink before using any electrical appliance connected to the hot water system. When hydrogen is present, there will probably be an unusual sound such as air escaping through the pipe as the water begins to flow. There should be no smoking or open flame near the faucet at the time it is open.
Piping
Plumbing
It is mandatory that all plumbing be done in accordance with federal, local, and state plumbing codes and practices. Failure to properly
install the water heater WILL VOID the warranty. It is also necessary to use both thread tape and pipe sealing compound on all mechanical plumbing connections. It is recommended to use unions on the hot and cold water connections to easily disconnect the water heater for servicing.
CAUTION
Dielectric unions or galvanized steel fittings must not be used in a system with this water heater. Doing so WILL VOID the warranty. It is recommended to use only copper, brass, or stainless steel fittings. Teflon thread sealant must be used on all connections.
- Install a shut-off or check valve or both on the inlet connection on the top of the heater. Connect the cold water supply line to the shut off valve or check valve. Refer to piping Applications, this manual Do not apply heat to the Hot or Cold water heater connections. If sweat connections are used, sweat tubing to the adapter before fitting adapter to the water connections on the heater. Any heat applied to the water heater connections will permanently damage the dip tube and/or heat traps. Damages due to improper installation practices ARE NOT covered by warranty.
- Connect the hot water line to the connection marked “HOT” on the top of the water heater.
- Ensure the T&P Valve is installed in the opening provided near the top of the heater.
- Ensure the drain valve is installed in the opening provided near the
Thermal Expansion
A check valve may be installed in the cold water inlet line as a separate backflow preventer, or may be part of a pressure reducing valve, water meter, or water softener. An “open water system” refers to a system without a check valve. A “closed water system” refers to a system with a check valve installed in the cold water inlet line. As water is heated, it expands in volume and increases pressure with in the water system. This action is referred to as “thermal expansion”. In an open water system, expanding water which exceeds the capacity of the system flows back into the city main where pressure is easily dissipated. A closed water system prevents expanding water from flowing back to the city main. The resulting thermal expansion can rapidly increase pressure in the water heater and system piping. This rapid pressure increase can exceed the setting of the pressure relief valve, causing it to operate during each heating cycle, resulting in discharge from the T&P. This rapid and repeated expansion and contraction of components in the system can cause premature failure of system components, including the relief valve and possibly the water heater. Replacing there lief valve will not correct thermal expansion. A potable hot water expansion tank is required to offset thermal expansion. Expansion tanks are designed with an air cushion built in that compresses as system pressure increases, thereby relieving the overpressure condition and eliminating repeated operation of the relief valve. This expansion tank should be installed in the cold water line between the water heater and check valve, and must be sized for the entire water volume of the hot water system. See piping Other methods of controlling thermal expansion are available. Check with the local water utility to determine if a check valve exists in the cold water inlet line. Contact your installing contractor, water supplier, or plumbing inspector for additional information regarding thermal expansion
Condensation
Condensation can form on the water heater when it is first filled with water, and may also occur with a heavy water draw and very cold inl et water temperature. This condition is not unusual and will disappear as the water becomes heated. However, if the condensation should continue, examine the piping and fittings for possible leaks.
Insulation Blankets
Warning
If local codes require external application of insulation blanket kits, the manufacturer’s instructions included with the kit must be carefully followed. In addition, pay careful attention to the following so as not to restrict the proper function and operation of the water heater:
- Do not cover the operating or warning labels attached to the water heater or attempt to locate them on the exterior of the insulation blanket.
- Do not apply insulation to the top of the water heater. This could interfere with the safe operation of the electrical junction box.
- Do not cover the jacket access panel(s) to the thermostat(s)and heating element(s) or T&P valve.
- Inspect the insulation blanket frequently. Failure to follow these instructions could result in property damage severe personal injury, or death.
Temperature and Pressure Relief Valve
For protection against excessive pressures and temperatures in this water heater, ensure temperature and pressure protective equipment is installed as required by local codes, but not less than a combination T&P valve meeting the requirements for Relief Valves and Automatic Gas Shutoff Devices for Hot Water Supply Systems, ANSI Z21.22B / CSA4.4-M99 by a nationally recognized testing laboratory that maintains periodic inspection of production listed equipment and materials. This valve must be marked with a maximum set pressure not to exceed the marked maximum working pressure of the water heater. The water heater ships with an installed T&P valve. DO NOT OPERATETHE WATER HEATER WITH THE T&P VALVE BLOCKED OR REMOVED! The T&P valve must be plumbed down so discharge can exit at least 6”above the structural floor. The relief line cannot be in contact with any live electrical parts.
To avoid water damage or scalding due to relief valve operation:
- Discharge line must be connected to relief valve outlet and run to a safe place of disposal. Terminate the discharge line in a manner that will prevent possibility of severe burns or property damage should the relief valve discharge.
- Discharge line must be as short as possible and the same size as the valve discharge connection throughout its entire length.
- Discharge line must pitch downward from the valve and terminate at least 6” above the floor drain, making discharge clearly visible.
- The discharge line shall terminate plain, not threaded, with a material serviceable for temperatures of 375oF or greater.
- Do not pipe discharge to any location where freezing could occur.
- No valve may be installed between the relief valve and heater or in the discharge line. Do not plug or place any obstruction in the discharge line.
- Test the operation of the relief valve after filling and pressurizing the system by lifting the lever. Make sure the valve discharges freely. If the valve fails to operate correctly, immediately replace with a new properly rated relief valve.
- Test T&P valve at least once annually to ensure the water way is clear. If valve does not operate, turn the heater “off” and call a plumber immediately.
- Take care whenever operating relief valve to avoid scalding injury or property damage. FAILURE TO COMPLY WITH THESE GUIDELINES COULD RESULT IN
FAILURE OF RELIEF VALVE OPERATION, RESULTING IN POSSIBILITYOF SUBSTANTIAL PROPERTY DAMAGE, SEVERE PERSONAL INJURY,OR DEATH.RE-INSPECTION OF T&P RELIEF VALVES: T&P valves should be inspected AT LEAST ONCE EVERY THREE YEARS, and replaced if necessary, by a licensed plumbing contractor or qualified service technician to ensure that the product has not been affected by corrosive water conditions and to ensure that the valve and discharge line have not been altered or tampered with illegally. Certain naturally occurring conditions may corrode the valve and its components over time, rendering the valve inoperative. Such conditions can only be detected if the valve and its components are physically removed and inspected. Do not attempt to conduct an inspection on your own. Contact your plumbing contract or for a re-inspection to assure continued safety. FAILURE TO RE-INSPECT THE T&P VALVE AS DIRECTED COULD RESULT IN UNSAFE TEMPERATURE AND/OR PRESSURE BUILDUPWHICH CAN RESULT IN PROPERTY DAMAGE, SERIOUSPERSONAL INJURY, OR Deerpath. Do not thread a cap or plug into the relief live or block relief valve outlet line under any circumstances! Explosion and property damage, serious injury, or death may result.
Scalding
Mixing valves can reduce but do not eliminate the risk of scalding. To avoid scalding:
- Set the water heater set point temperature as low as possible to meet installation requirements.
- Feel water before bathing or showering.
- Use the mixing valve in accordance with the instruction provided by the manufacturer .Failure to follow these instructions could result in property damage, severe personal injury, or death due to scalds.
This water heater can deliver scalding water .Be careful when ever using hot water to avoid scalding injury. Certain appliances such as dish washer sand automatic clothes washers may require increased water temperatures. By setting the thermostat onto his heater to obtain he increased water temperature required by these appliances you may create the potential for scald injury. To protect against injury, a mixing valve has been installed in the water heater. This valve will reduce point of used is charge temperatures by mixing cold and Hopwater in branch supplylines.1 details the relationship of water temperature and time with regard to scald injury and may be used as a guide in determining the safest water temperature for your applications.
Warning
After install at Table ion, water heater outlet temperature MUST BE checked with a thermometer at a hot water outlet fixture.
- Finish installing the water heater. Ensure it is proper lypiped, powered, and full of water (purged of air).
- Power the water heater. Wait for the water heater to satisfy the thermostat set point and has finished heating.
- Choose the hot water outlet fixture nearest to the water heater.
- Open the outlet. Check the outlet temperature with a
thermometer. NOTE: DO NOT check the outlet temperature with your hand. - Make a note of the temperature measured by the thermometer when it stops rising.
NOTE: It may take some time for cooler water to clear the system. - Follow the instructions in this manual if thermostat or mixing valve need adjustment. Failure follow these instructions could result in property damage
Filling the Heater
• Make certain that the drain valve is completely closed.
• Open the shut-off valve in the cold water supply line.
• Open the hot water faucets to allow air to vent from the heater and piping.
• Allow sufficient time for the heater to completely fill with water.
• Verify elements are installed correctly. Check for leaks.
CAUTION:
When filling the water heater, open a hot water tap to release air in the tank and piping. The tank must be full of water before the heater is turned on. Failure to ensure the water heater is full before turning it on could result in damage to the water heater and other property damages. Such damages ARE NOT covered by water heater warranty.
Applications
PIPING NOTES:
- Minimum pipe size should match connection size. Upsize pipe accordingly if greater flow is required.
- A thermal expansion tank suitable for potable water must be sized and installed within this piping system between the backflow preventer and the cold water inlet.
- All circulators should have an integral flow check.
- Drains and check valve between unit and storage tank will assist in purging air from system.
- These drawings are meant to demonstrate system piping only. The installer is responsible for all equipment and detailing required by local codes. In Massachusetts, you must install a vacuum relief valve per 248 CMR.
- Mixing valve application is optional, but recommended to help prevent scalding.
Wiring
CAUTION:
Tank must be full of water before the power is turned on. Heating elements will be damaged if energized for even a short time while tank is dry. Failures due to “dry-firing” ARE NOT covered by warranty.
This unit is factory wired to a junction box on top of the water heater for field wiring connection. These heaters are equipped and wired for the maximum possible input allowable (see Table 3 for listing of inputs and amperage requirements). The voltage requirement and dedicated wattage load for the heater is specified on the rating label of the water heater. Consult your local power company to determine if your electrical service is adequate for the additional load of the heater. Refer to the wiring diagrams for field connections. All wiring must conform to local code and the National Electric Code, and should be done by a qualified licensed electrician or the local electric utility. Grounding can be accomplished by using approved conduit and fittings or other approved conductive material. A grounding wire is provided on the junction bracket. This grounding wire must be used in the installation.
WARNING:
Be sure to ground the water heater. The preferred way to ground is with rigid metal conduit between the main panel and the water heater junction box with approved end fittings (check codes on the use of flexible conduit). If making a separate ground, a green ground wire is provided in the water heater junction box. Replace the junction box cover and insulation after you have made the wiring connections. Failure to follow these instructions could result in property damage, severe personal injury, or death.
Total Water Heater Wattage | Recommended Over- Current Protection (Fuse or Circuit Breaker Amperage Rating) | Copper Wire Size AWG Based On NEC Table 310-16 (167oF/75oC) |
@240V | 208-240V | 208-240V |
3,000 | 20 | 12 |
4,000 | 25 | 10 |
4,500 | 25 | 10 |
5,000 | 30 | 10 |
5,500 | 30 | 10 |
6,000 | 35 | 8 |
8,000 | 45 | 8 |
9,000 | 50 | 8 |
10,000 | – | – |
11,000 | – | – |
12,000 | – | – |

Installation Checklist
Water Heater Location | Yes | No |
| Close to area of heated water demand | ||
| Indoors and protected from freezing temperatures | ||
| Area free of flammable vapors | ||
| Provisions made to protect area from water damage and control thermal expansion | ||
| Sufficient room to service heater | ||
Relief Valve | Yes | No |
| Temperature and Pressure Relief Valve properly installed and discharge line run to open drain | ||
| Discharge line protected from freezing | ||
Wiring | Yes | No |
| Power supply voltage agrees with water heater rating plate | ||
| Branch circuit wire and fusing or circuit breaker of proper size | ||
| Electrical connections tight and unit properly grounded | ||
Water Supply | Yes | No |
| Water heater completely filled with water BEFORE operating the unit | ||
| Air purged from water heater and piping | ||
| Water connections tight and free of leaks |
Operation
CAUTION:
Tank must be full of water before the power is turned on. Heating elements will be damaged if energized for even a short time while tank is dry. Failures due to “dry-firing” ARE NOT covered by warranty.
After water and electrical connections have been made and tank is filled with water, turn on power to the heater. The heater is now in operation.
Combination Thermostat and High Limit Control (ECO)
Each water heater is equipped with a combination Thermostat -High Limit Control (ECO). Thermostats are located above the heating elements. If for any reason the water temperature becomes excessively high, the ECO breaks the circuit to the heating element. Once the switch opens it must be reset manually. However, THE CAUSE OF THE OVER TEMPERATURE CONDITION MUST BE CORRECTED FIRST
WARNING:
The cause of the high temperature condition must be investigated by a qualified service technician and corrective action must be taken BEFORE placing the water heater back in service. Failure to do so could result in property damage, severe personal injury, or death
Thermostat Adjustment and ECO Reset
There are two thermostats on dual element heaters. If temperature adjustment is necessary, TURN OFF POWER TO HEATER, remove black access cover and insulation. The thermostat protective cover SHOULD NOT be removed. Use a flat head screwdriver to set temperature indicator to desired temperature. Replace insulation and the black access cover. Turn on power to the heater.
DANGER:
Failure to disconnect the power from the water heater before attempting to adjust or reset the thermostat(s) will result in property damage, severe personal injury, or death.
IF YOU NEED TO ADJUST THERMOSTAT(S) OR RESET THE ECO (RED RESET BUTTON)
- STEP #1 – Turn off power to the water heater by removing fuse or shutting off at circuit breaker.
- STEP #2 – Remove the two screws that hold the access cover in place. Remove the cover.
- STEP #3 – Remove the insulation to expose the thermostat.
- STEP #4 – See Figure 6
- Reset the ECO by pushing in the red button marked “RESET”.
- Adjust the water temperature by turning the white adjustment knob. Turning the knob to the right (clockwise) makes the water hotter. Turning the knob to the left (counterclockwise) makes the water cooler.

Adjust the thermostat as described below to increase water heater output and meet your comfort needs.
Thermostat Setting | Replacement Electric Water Heater Size | Usable Water @ 105oF | Single Shower Length @ 3 GPM | Consecutive 8 min Showers @ 3 GPM |
| 125oF Factory Default | 55 gal | 69 gal | 23 mins | 3 |
| 140oF | 65 gal | 85 gal | 28 mins | 3.5 |
| 150oF | 80 gal | 100 gal | 33 mins | 4 |
| 170oF | 100 gal | 115 gal | 38 mins | 5 |
- STEP #5 – Replace the insulation.
- STEP #6 – Reattach the access cover with the two screws.
- STEP #7 – Restore power by replacing the fuse or turning on the circuit breaker.
- STEP #8 –
- After resetting the ECO, ensure the water heater is operating properly before leaving the installation.
- After adjusting the water temperature, allow the water heater enough time to heat the water to temperature. After the water heater has stopped heating, use a thermometer to measure the water temperature at a hot water outlet in the structure.
- STEP #9 – If the water heater is operating properly and the water temperature is satisfactory, adjustment is complete.
WARNING:
- Risk of scald injury increases as you increase water temperature.
- Failure to replace insulation or access cover could result in property damage, severe personal injury, or death
Adjusting the Tank Booster
Prior to setting the valve, fill and purge the water heater and system. Ensure the system water valves are open. Power the water heater ON. Wait for the water heater to heat to the design temperature (set at the water heater thermostat). Only then proceed to adjusting the tank booster.
- STEP #1 – Open a hot water faucet in the system. Use a thermometer to measure the water temperature at the faucet. If the outlet water temperature needs to be adjusted, use a 3/16” Allen key to hold the mixing valve adjustment dial in place. Then use a 7/16” wrench to loosen the locking nut.

NOTE: Water must be flowing from a hot water faucet while adjusting the outlet temperature.
- STEP #2 – Use the wrench to support the locking nut and prevent it from rotating. Then turn the 3/16” Allen key clockwise to reduce the temperature, or counter-clockwise to increase the temperature. Measure the outlet water temperature at the hot water faucet. Adjust the valve as described until the desired temperature is reached.

- STEP #3 – After reaching the desired outlet temperature, use the 3/16” Allen key to hold the mixing valve adjustment dial in place. Then use a 7/16” wrench to tighten the locking nut. Make note of the set outlet temperature for future reference.

WARNING:
Risk of scald injury increases as you increase water temperature. Households with small children, disabled, or elderly persons may require a 120oF or lower temperature setting to prevent severe personal injury or death due to scalding.
Heating Element Replacement Procedure
WARNING:
If heating elements need replacement, it is very important to use the same voltage, wattage, and construction. DO NOT replace heating element with a generic heating element. Only Ariston heating elements are approved for use with this water heater. Failure to follow this warning will result in premature product failure and VOID the warranty, and could result in severe personal injury or death.
- STEP #1 – Turn off power to the water heater. Use a Phillips Head screwdriver to remove the wires from the element.
DANGER: Failure to disconnect the power from the water heater before attempting heating element replacement will result in property damage, severe personal injury, or death due to electric shock.
- STEP #2 -Run hot water at a faucet in the system. When it runs cold, shut off the faucet. Then shut off water at the main cold water inlet or, if possible, valve off the water heater from the system. Drain the water from the system, or just the water heater if it can be isolated from the system.
WARNING:
Completely drain the water heater before removing and replacing a heating element or elements. Failure to do so will result in a leakage of water and property damage, and could possibly result in moderate to severe personal injury or death.
Water drained from the water heater may be scalding hot. Take care to avoid scalding. Wear gloves and safety glasses, and direct water to a safe drainage location. Failure to comply with this warning could result in property damage, severe personal injury, or death.
- STEP #3 – Remove the element with a 1 1/2” socket wrench or element tool.
- STEP #4 Inspect the removed element. Determine whether the replacement element will need a square or circular gasket and washer.
- STEP #5 –Ensure thread and opening are completely free of debris. Use a nylon brush to clear away any debris.

- STEP #6 – Put a small amount of NSF approved lubricant and sealant on the appropriate gasket and/or washer for the installation. Put the gasket and/or washer on the element.
- STEP #7 – Screw the element clockwise into the tank, and tighten with the 1 1/2” socket wrench or element tool. Be sure gasket seats properly.
NOTE: Repeat Steps 3 – 6 as Necessary for Multiple Elements - Step #8 – Open the main cold water inlet. If the water heater has been isolated from the system, open the valves. Refill the tank with cold water. Open a hot water faucet high in the system to bleed any air pressure from the system. Water will flow freely when air is completely bled.
WARNING:
When filling the water heater, open a hot water tap to release air in the tank and piping. The tank must be full of water before the heater is turned on. Failure to ensure the water heater is full before turning it on will result in damage to the water heater, and could result in property damage, serious personal injury, or death. Such damages ARE NOT covered by water heater warranty.
- STEP #9 – Pressure check the tank for leaks around element. If no leaks are found, use a Phillips Head screwdriver to connect the wires to the element.
- STEP #10 – Turn power back on to the water heater.
CAUTION:
Failure to refill the tank before restoring power to the water heater will result in damage to the heating elements and property damage. Such damages ARE NOT covered by warranty.
Maintenance
Considerations
- To avoid electric shock, disconnect electrical supply before performing maintenance.
- To avoid severe burns, allow heater to cool before performing maintenance.
NOTE: In addition to the routine maintenance detailed in this manual, this water heater should be inspected annually by a qualified service technician to assure that all the equipment is operating safely and efficiently. The owner should make necessary arrangements with a qualified heating contractor for periodic maintenance of the heater. Installer must also inform the owner that lack of proper care and maintenance may result in a hazardous condition, premature heater failure, and void the warranty. Routine preventative maintenance ensure the water heater operates safely and efficiently over its service life. The Owner / User may perform the maintenance activities described below. Monthly (Every two weeks in hard water locations) It is recommended that a few quarts of water be drained from the heater. This will flush sediment deposits from the bottom of the heater and lengthen the heater’s service life. Turn off power to the heater during flushing operation, so the elements will not be damaged.
CAUTION
Failure to shut off the heater when draining may damage the heating elements. Operating a partially filled / empty water heater could lead to damage from “dry-firing”. Failures due to such damage ARE NOT covered by warranty.
Warning
Water drained from the water heater may be scalding hot. Take care to avoid scalding. Wear gloves and safety glasses, and direct water to a safe drainage location. It is recommended to turn power off to the water heater and run water at a hot water faucet until it cools BEFORE draining water from the heater. Failure to comply with this warning could result in property damage, severe personal injury, or death.
To flush the tank, attach a hose to the field installed drain valve. Close the cold water supply line shut-off valve. Open the drain valve and hot water faucet(s) to vent heater while draining. Direct the flow of water to a drain or bucket where it will not cause damage. Flush until water runs clear to complete this operation. Close drain valve and reopen the supply line shut-off valve. Close the hot water faucet(s) once all air has been bled from the system (when water runs freely). Make certain that the heater is completely full of water before restoring power.
Periodically (At least twice a year)
Check around the water heater and related plumbing for leaks. If the combination temperature and pressure relief valve discharges periodically, or water is leaking from around the heating elements, there may be a problem with your water system. DO NOT ATTEMPT TO REPAIR LEAKS YOURSELF! Contact a qualified service contractor for assistance .Check the area around the water heater for flammable liquids or combustible materials. If any are found, remove from the area.
Vacation (Extended shut-off periods)
During extended mild or warm weather periods when hot water will not be in use, lower the setpoint temperature on the water heater. When hot water is needed again, raise the setpoint temperature on the water heater. Drain the water heating system (as detailed in this section) if the water heater will be shut off and exposed to freezing temperatures. Fill the water heating system (as detailed in this section) when ahl-790 Revision Date 2.14.22hot water is needed again. Contact a qualified service contractor for assistance if necessary.
Warning
Water drained from the water heater may be scalding hot. Take care to avoid scalding. Wear gloves and safety glasses, and direct water to a safe drainage location. It is recommended to turn power off to the water heater and run water at a hot water faucet until it cools BEFORE draining water from the heater. Failure to comply with this warning could result in property damage, severe personal injury, or death. The maintenance activities described below are only to be performed by the Installer / Qualified Service Provider. These maintenance items should be performed during recommended annual service and any service calls.
- Ask the owner / user if there have been any issues with the water heater. Diagnose any heater issues and repair / replace parts as necessary.
- Check the water heater and related plumbing for leaks. Repair any that are found.
- Check the area around the water heater for flammable liquids or combustible materials. If any are found, remove from the area.
- . Check the heating elements while the heater is in operation. If the elements are hissing / singing excessively, they may need to be cleaned. Inspect the elements and clean if necessary.
- Inspect the Temperature and Pressure (T&P) Relief Valve. See instructions below.
- Check the operation of the mixing valve by measuring the temperature at a hot water faucet. Ensure the outlet temperature is within +5oF of the desired outlet temperature. If the outlet temperature is out of range, adjust the tank booster valve as described in this manual. Replace the tank booster mixing valve if the desired outlet temperature cannot be reached.
- Turn power supply off to the water heater. Open the drain valve and drain a few gallons of water from the tank to clear any hard water deposits. Once complete, close the drain valve and restore power to the water heater.
- Inspect / replace the anode rod.
Warning
T&P Relief Valve Maintenance Instructions:
- Annually: Certain naturally occurring mineral deposits may adhere to the valve, blocking waterways and rendering the valve inoperative. The T&P Relief Valve lever must be operated to ensure the waterways are clear. If waterways are clear, hot water will discharge from the valve. Take precautions to avoid personal injury and property damage from contact with hot water. Before operating lever, check to see that a discharge line is connected to the valve, directing the flow of hot water from the valve to a proper place of disposal.
- Replacement of the valve is required if no water flows when the lever is operated. Turn the water heater off until the valve is replaced.
- If water flows from the valve, drain a few gallons from the tank to ensure the water flows freely.
- At least once every three years: To ensure that the T&P valve has not been affected by corrosive water conditions and that the valve and discharge line have not been altered or tampered with illegally, relief valves should be inspected, and replaced, if necessary, by a licensed plumbing contractor or qualified service technician.
- Failure to comply with these guidelines could result in failure of relief valve operation, and possibly result in substantial property damage, severe personal injury, or death.
Draining the Water Heater
- STEP #1 : Turn off power to the water heating system, preferably at the circuit breaker.
Warning
Failure to cut power off to the water heating system before draining may result in property damage, severe personal injury, or death due to electric shock.
- STEP #2 : Run hot water at a faucet in the system. When it runs cold, shut off the faucet. Then shut off water at the main cold water inlet or, if possible, valve off the water heater from the system.
- STEP #3 : Open the T&P valve or a hot water tap to prevent vacuum buildup in the tank and piping. Then open the drain valve on the water heater to drain the water from the isolated water heater or water heating system.
- STEP #4 : Close the valve(s) and faucet after the water is drained.
To Fill the Water Heater and System:
- STEP #1 : Open a hot water tap high in the system to bleed any air pressure. Water will flow freely when air is completely bled.
Warning
When filling the water heater, open a hot water tap to release air in the tank and piping. The tank must be full of water before the heater is turned on. Failure to ensure the water heater is full before turning it on will result in damage to the water heater, and could result in property damage, serious personal injury, or death. Such damages ARE NOT covered by water heater warranty.
- STEP #2 : Open the main cold water inlet. If the water heater has been isolated from the system, open the isolation valves. Refill the tank with cold water.
- STEP #3 : Close the tap when air is completely bled from the system and water is flowing freely. Check the water heater and system for leaks.
- STEP #4 : Turn power back on to the domestic water heating system and observe operation. Ensure the water heater is operating properly.
To Inspect / Replace the Anode
- STEP #1 : Drain the water heater following the procedure detailed in this section.
Warning
Completely drain the water heater before removing the anode. Failure to do so will result in a leakage of water and property damage, and could possibly result in moderate to severe personal injury or death.
- STEP #2 : After the water heater is drained remove the anode rod. Anode rod location and size is detailed in Replacement Parts, this manual.
- STEP #3 : Observe the anode rod. The anode rod should be replaced when more than 6” of core wire is exposed at either end of the rod. STEP #4 – Use pipe tape or approved sealant on threads to install the anode rod. Fill the water heater and check for leaks.

Troubleshooting
| Problem | Reason | Remedy |
No Hot Water | Manual disconnect switch turned off | Turn switch on |
|
| |
Manual Reset High Limit (ECO) open
| Refer to Part 6, this manual.
| |
| Improper wiring | Check and rewire per Wiring Detail | |
| Improper piping | Check and correct piping | |
Not Enough Hot Water | Thermostat or Mixing Valve setting too high or low | Change setting as required |
| Heater undersized | Reduce rate of heater use | |
| Defective element(s) | Check amperage, replace element if low | |
| Mis-wired or defective thermostat causing only one element to work | Check wiring or replace thermostat | |
| Water Too Hot or Not Hot Enough | Thermostat or Mixing Valve setting too high or low | Change setting as required |
| Thermostat out of calibration | Replace thermostat | |
| Thermostat access panel(s) and/or insulation not in place | Inspect and replace as needed | |
| Thermostat(s) not resting tightly against mounting plate | Ensure that retaining spring(s) or mounting screws hold thermostat(s) tightly to mounting plates | |
| Mixed Water Temperature Does Not Change When Adjusted or Cannot be Obtained | Hot and cold supply lines are reversed | Check and correct piping |
| Strainers are blocked | Clean strainers | |
| Inlet temperatures are not within specific limits | Ensure inlet temperatures are within the specified limits for the valve | |
| Reduced or Fluctuating Flow, or No Flow | Hot and cold supply lines are reversed | Check and correct piping |
| Strainers are blocked | Clean strainers | |
| Fluctuating supply pressure | Install pressure regulating valves | |
T&P Valve Discharges | Improperly seated valve | Open and close the handle to try to reseat valve |
| Thermal expansion in closed water system | Install a thermal expansion tank | |
| Damaged / defective valve | Replace relief valve NOTE: DO NOT plug T&P valve under any circumstances | |
Water Leaks | Loose connection between inlet / outlet piping, mixing valve, relief valve, and/or hex nut union on tank fittings | Tighten fittings |
| Damaged seal ring washer / gaskets | Replace seal ring washer / gaskets as required | |
| Damaged gasket around heating element(s) | Inspect and replace gasket if necessary | |
Hot Water Odor | High sulfate or mineral content in water supply | Drain and flush water heater. Refill. |
| Bacteria in water supply | Check with local water treatment specialist or utility to identify and address this problem. | |
Noisy Operation | Hard water scale built up on element(s) | *Remove and clean |
| Excessive water velocity | Reduce water velocity by installing a pressure reducing valve | |
Warning
The risk of scald injury increases as you increase water temperature. Use extreme caution whenever adjusting the water heater thermostat or mixing valve. Failure to follow the instructions in this warning statement could result in serious personal injury or death from scalds.
Warning
Be sure to disconnect electrical power before performing service. Failure to do so could result in electrical shock, property damage, serious personal injury, or death
CAUTION
If draining of the water heater is necessary, open the T&P valve or a hot water tap to prevent vacuum buildup in the tank and piping.

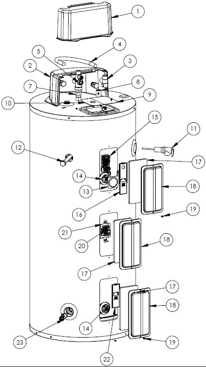
| ITEM # | DESCRIPTION | PART # |
| 1 | FRONT COVER (FOR MIXING ASSY) | 6060P-504 |
| 2 | REAR COVER (FOR MIXING ASSY) | 6060P-503 |
| 3 | TEE FOR MIXING VALVE ASSY | 6060P-506 |
| 4 | FLEX HOSE FOR MIXING VALVE ASSY | 6060P-507 |
| 5 | MIXING VALVE | 6060P-505 |
| 6 | SEAL WASHER WITH FILTER SCREEN FOR MIXING VALVE (NOT SHOWN) | 6060P-509 |
| 7 | UNION FOR MIXING VALVE | 6060P-508 |
| 8 | DIPTUBE-55 GAL | 6060P-502 |
| 9 | JUNCTION BOX COVER (W/SCREWS) | 6060P-983 |
| 10 | JUNCTION BOX COVER W/ KNOCKOUTS (W/ SCREWS) | 6060P-982 |
| 11 | TEMP/PRESSURE RELIEF VALVE | TP1000 |
| 12 | ALUMINUM ANODE .63″ DIA X 12″ LENGTH (1-1/16″ SOCKET) | 6060P-008 |
| 13 | MOUNTING BRACKET | 6060P-955 |
| 14 | ELECTRIC ELEMENT – 5500W | 6060P-937 |
| 15 | UPPER THERMOSTAT | 6060P-085 |
| 16 | UPPER THERMOSTAT PROTECTIVE COVER | 6060P-994 |
| 17 | PROTECTIVE INSULATION | 6060P-965 |
| 18 | ACCESS PANEL | 6060P-520 |
| 19 | SCREWS-ACCESS PANEL | 6075P-006 |
| 20 | LOWER THERMOSTAT | 6060P-086 |
| 21 | THERMOSTAT BRACKET | 6070P-303 |
| 22 | LOWER THERMOSTAT PROTECTIVE COVER | 6060P-934 |
| 23 | DRAIN VALVE | 6070P-009 |
| LP-790-C 10/06/21 |
Ariston Suprema Stainless Steel Electric Water Heater Limited Warranty
For Residential Use
Ariston warrants each electric water heater and its components to be free from defects in materials and workmanship according to the following terms, conditions, and time periods. UNLESS OTHERWISE NOTED THESE WARRANTIES COMMENCE ON THE DATE OF INSTALLATION. This limited warranty is only available to the original consumer purchaser (hereinafter “Owner”) of the water heater, and is non-transferable.
WARRANTY REQUIREMENTS
Residential Use shall mean water heaters used in a single family dwelling, or water heaters used in a multiple family dwelling, apartment, or condo owned by the Owner of the water heater, provided that each water heater services a single dwelling. Lifetime Warranties are only available to Owner occupied dwellings defined as Residential Use above.
Any application not meeting Residential Use requirements, such as water heaters installed in rental properties servicing more than one dwelling, leasing or rental programs, or any uses other than explicitly described above shall be described as “Other than Residential Use” and be covered with a five (5) years tank and one (1) year components warranty regardless of any other warranty period specified.
WARRANTY PERIODS
| Model Number Suffix | Use | Tank | Components |
| “N” | Residential Use | Ten (10) Years | One (1) Year |
| Lifetime | Six (6) Years | ||
| Other than Residential Use | Five (5) Years | One (1) Year |
Water heater must be registered online within ninety (90) days of the installation date. Lifetime Warranties are only available to Owner occupied dwellings defined as Residential Use.
COVERAGE
- Ariston will repair or replace, at its option, any defective or malfunctioning component found to have failed within the above-stated warranty periods, provided such defect or malfunction has been verified by an authorized Ariston representative. Replacement components will be warranted for ninety (90) days.
- Should a defect or malfunction result in a leakage of water from the water heater within the above-stated warranty periods due to defective material or workmanship, malfunction, or failure to comply with the above warranty, with such defect or malfunction having been verified by an authorized Ariston representative, Ariston will repair or replace, at its option, the defective or malfunctioning water heater. Replacements will be of the nearest comparable model available at the time of replacement. The replacement water heater will be warranted for the unexpired portion of the applicable warranty period of the original water heater.
- In the event of a leakage of water of a replacement water heater due to defective material or workmanship, malfunction, or failure to comply with the above warranty, Ariston reserves the right to issue a refund of the published wholesale price available at the date of manufacture of the original water heater through the proper distribution channels.
- If government regulations, industry certification, or similar standards require the replacement water heater or component(s) to have features not found in the defective water heater or component(s), the Owner will be charged the difference in price represented by those required features. If the Owner pays the price difference for those required features and/or to upgrade the size and/or other features available on a new replacement water heater or component(s), the Owner will also receive a complete new limited warranty for that replacement water heater or component(s).
- If at the time of a request for service the Owner cannot provide a copy of the original sales receipt or the warranty registration, the warranty period for the water heater shall then be deemed to have commenced on the date of manufacture of the water heater and NOT the date of installation of the water heater, and be covered by the unexpired portion of the warranty detailed above.
- This warranty extends only to water heaters utilized in water heating applications that have been properly installed by qualified professionals based upon the manufacturer’s installation instructions.
- It is expressly agreed between Ariston and the Owner that repair, replacement, or refund are the exclusive remedies of the Owner.
OWNER RESPONSIBILITIES
The Owner or Qualified Installer / Service Technician must:
- Have a relief valve bearing the listing marks of the American Society of Mechanical Engineers (ASME) installed with the water heater assembly in accordance with federal, state, and local codes.
- Have a vacuum relief valve certified to ANSI Z21.22 – Relief Valves for Hot Water Supply Systems – installed with the water heater assembly in accordance with federal, state, and local codes and in installations prone to vacuum related damages.
- Maintain the water heater in accordance with the maintenance procedure listed in the manufacturer’s provided instructions. Preventive maintenance can help avoid any unnecessary breakdown of the water heater and keep it running at optimum efficiency.
- Maintain all related system components in good operating condition.
- Use the water heater in an open system, or in a closed system with a properly sized and installed thermal expansion tank.
- Use the water heater at water pressures not exceeding the working pressure shown on the rating plate.
- Keep the water heater free of damaging scale deposits.
- Make provisions so if the water heater or any component or connection thereto should leak, the resulting flow of water will not cause damage to the area in which it is installed.
- Have the anode rod inspected and replaced as necessary.
WARRANTY EXCLUSIONS
This limited warranty will not cover:
- Any water heater purchased from an unauthorized dealer.
- Any water heater not installed by a qualified heating installer / service technician, or installations that do not conform to ANSI, CSA, and/or UL standards, as well as any applicable national or local building codes.
- Service trips to teach the Owner how to install, use, maintain, or to bring the water heater installation into compliance with local building codes and regulations.
- The workmanship of any installer. The manufacturer disclaims and does not assume any liability of any nature caused by improper installation, repair, or maintenance.
- Electricity or fuel costs, or increased or unrealized savings for same, for any reason whatsoever.
- Any water damage arising, directly or indirectly, from any defect in the water heater or component part(s) or from its use.
- Any incidental, consequential, special, or contingent damages or expenses arising, directly or indirectly, from any defect in the water heater or the use of the water heater.
- Failure to locate the water heater in an area where leakage of the tank or water line connections and the relief valve will not result in damage to the area adjacent to the water heater or lower floors of the structure, as well as failure to install the water heater in or with a properly sized drain pan routed to an approved drainage location.
- Any failed components of the system not manufactured by Ariston as part of the water heater.
- Water heaters repaired or altered without the prior written approval of Ariston.
- Damages, malfunctions, or failures resulting from improper installation, or failure to install the water heater in accordance with applicable building codes/ordinances or good plumbing and electrical trade practices; or failure to operate and maintain the water heater in accordance with the manufacturer’s provided instructions.
- Damages, malfunctions, or failures resulting from failure to operate the water heater at pressures not exceeding the working pressure shown on the rating label.
- Failure to operate the water heater in an open system, or in a closed system with a properly sized and installed thermal expansion tank.
- Failure or performance problems caused by improper sizing of the water heater, expansion device, piping, electric service voltage, wiring or fusing.
- Damages, malfunctions, or failures caused by improper wiring conversion.
- Damages, malfunctions, or failures resulting from vacuum conditions.
- Damages, malfunctions, or failures caused by operating the water heater with modified, altered, or unapproved components, or any component /attachment not supplied by Ariston.
- Damages, malfunctions, or failures caused by abuse, accident, fire, flood, freeze, lightning, electrochemical reaction, acts of God and the like.
- Tank failures (leaks) caused by operating the water heater in a corrosive or contaminated atmosphere.
- Damages, malfunctions, or failures caused by operating the water heater with an empty or partially empty tank (“dry firing”), or failures caused by operating the water heater when it is not supplied with potable water, free to circulate at all times.
- Failure of the heater due to the accumulation of solid materials or lime deposits.
- Any damage or failure resulting from improper water chemistry, or heating anything other than potable water. WATER CHEMISTRY REQUIREMENTS
Water pH between 6.5 and 8.5. Hardness less than 12 grains (200 mg/L). Chloride concentration less than 100 ppm (mg/L). TDS less than 500 ppm (mg/L) - Any damages, malfunctions, or failures resulting from removal of the anode rods, or failure to inspect and replace the anode rods as necessary.
- Any damages, malfunctions, or failures resulting from the use of dielectric unions.
- Production of noise, taste, odors, discoloration, or rusty water.
- Water heaters replaced for cosmetic reasons.
- Components of the water heater that are not defective, but must be replaced during the warranty period as a result of reasonable wear and tear.
- Components of the water heater that are subject to warranties, if any, given by their manufacturers; Ariston does not adopt these warranties
- Damages, malfunctions, or failures resulting from the use of any attachment(s) not supplied by Ariston
- Water heaters installed outside the fifty states (and the District of Columbia) of the United States of America and Canada
- Water heaters moved from the original installation location
- Water heaters that have had their rating labels removed.
ONLINE EXTENDED LIMITED WARRANTY REGISTRATION
To register for the Extended Limited Warranty, complete the form located on the Ariston website at https://htp.secure.force.com/warrantywizard/within 90 days of installation. The form must be completed in full with owner name, email address, and phone number, the address where the unit is installed and installation date, and unit model and serial numbers. Proof of purchase is required, and may be an invoice for the product, or a bill from an installing contractor that clearly documents the installation of the unit. To be valid, proof of purchase must also include the unit serial number. Proof of purchase may be typed or hand written. Submit the proof of purchase to Ariston via the directions provided on the website.
PROCEDURES FOR WARRANTY SERVICE REQUESTS
Any claim for warranty assistance must be made immediately upon finding the issue. Claims not made within one (1) year of finding the warranty issue will be denied outright.
Next, determine if the water heater is “in-warranty” (that is, within the applicable warranty period) by reviewing a copy of the original sales receipt or warranty registration. The Owner must present a copy of the original sales receipt or warranty registration for a warranty service request.
If the water heater is “in-warranty”, contact the retailer from whom the water heater was purchased (or the installer) for assistance. Be prepared to provide the retailer or installer with a copy of the original receipt, complete model and serial numbers, and the date of installation of the water heater, in addition to explanation of the water heater problem. Warranty coverage is subject to validation of “in-warranty” coverage by Ariston claims department personnel. All alleged defective or malfunctioning components must be returned to Ariston via the local distribution channels where original purchase was made. NOTE: Any components or heaters returned to Ariston for warranty analysis will become the property of Ariston and will not be returned, even if credit is denied. If all warranty conditions are satisfied, Ariston will provide replacement components to the retailer.
For questions about the coverage of this warranty, please contact Ariston at the following phone number: 1-774-417-6000.
SERVICE, LABOR AND SHIPPING COSTS
Except when specifically prohibited by the applicable state law, the Owner, and not the Manufacturer, shall be liable for and shall pay for all charges for labor or other expenses incurred in the removal, repair, or replacement of the appliance or any component part(s) claimed to be defective or any expense incurred to remedy any defect in the product. Such charges include, but are not necessarily limited to:
- All freight, shipping, handling, and delivery costs of forwarding a new appliance or replacement part(s) to the owner.
- All costs necessary or incidental in removing the defective appliance or component part(s) and installing a new appliance or replacement part(s).
- All administrative fees incurred by the Owner, as well as material required to complete, and/or permits required for, installation of a new appliance or replacement part(s),
- All costs necessary or incidental in returning the defective water heater or component part(s) to a location designated by the manufacturer.
LIMITATIONS OF YOUR ARISTON WARRANTY AND REMEDIES
THE FOREGOING WARRANTIES ARE EXCLUSIVE AND ARE GIVEN AND ACCEPTED TO THE FURTHEST EXTENT UNDER APPLICABLE LAW IN LIEU OF ANY AND ALL OTHER WARRANTIES, EXPRESS OR IMPLIED, INCLUDING WITHOUT LIMITATION THE IMPLIED WARRANTIES OF MERCHANTABILITY AND FITNESS FOR A PARTICULAR PURPOSE AND ANY OBLIGATION, LIABILITY, RIGHT, CLAIM OR REMEDY IN CONTRACT OR TORT, WHETHER OR NOT ARISING FROM ARISTON’S NEGLIGENCE, ACTUAL OR IMPUTED. THE REMEDIES OF THE OWNER SHALL BE LIMITED TO THOSE PROVIDED HEREIN TO THE EXCLUSION OF ANY OTHER REMEDIES INCLUDING WITHOUT LIMITATION, INCIDENTAL OR CONSEQUENTIAL DAMAGES, SAID INCIDENTAL AND CONSEQUENTIAL DAMAGES INCLUDING, BUT NOT LIMITED TO, PROPERTY DAMAGE, LOST PROFIT OR DAMAGES ALLEGED TO HAVE BEEN CAUSED BY ANY FAILURE OF ARISTON TO MEET ANY OBLIGATION UNDER THIS AGREEMENT INCLUDING THE OBLIGATION TO REPAIR AND REPLACE SET FORTH ABOVE. NO AGREEMENT VARYING OR EXTENDING THE FOREGOING WARRANTIES, REMEDIES OR THIS LIMITATION WILL BE BINDING UPON ARISTON. UNLESS IN WRITING AND SIGNED BY A DULY AUTHORIZED OFFICER OF ARISTON. THE WARRANTIES STATED HEREIN ARE NOT TRANSFERABLE AND SHALL BE FOR THE BENEFIT OF THE OWNER ONLY.
NO OTHER WARRANTIES
This warranty gives the Owner specific legal rights. The Owner may also have other rights that vary from state to state. Some states do not allow the exclusion or limitation of incidental or consequential damages so this limitation or exclusion may not apply to the Owner. These are the only written warranties applicable to the water heater manufactured and sold by Ariston. Ariston neither assumes nor authorizes anyone to assume for it any other obligation or liability in connection with said water heaters.
Ariston reserves the right to change specifications or discontinue models without notice.
Custاomer Installation Record Form
The following form should be completed by the qualified installer/service technician for you to keep as a record of the installation in case of a warranty claim. After reading the important notes at the bottom of the page, please also sign this document.
IMPORTANT
Customer: Please only sign after the qualified installer/service technician has fully reviewed the installation, safety, proper operation, and maintenance of the system. If the system has any problems please call the qualified installer/service technician. If you are unable to make contact, please call your sales representative.
Distributor / Dealer: Please insert contact details.
ahl-790 Revision Date 2.14.22



























