Clarke CPTN1 Metalworker Pipe Notcher

INTRODUCTION
Thank you for purchasing this CLARKE Pipe Notcher. This Pipe Notcher cuts notches in pipe and tubing to make joints that fit together perfectly. It features a durable steel frame, is cable of 0 – 60o angle cuts and works with any standard drill press or slow speed hand drill. Before attempting to use this product, please read this manual thoroughly and follow the instructions carefully. In doing so you will ensure the safety of yourself and that of others around you, and you can look forward to your purchase giving you long and satisfactory service.
IMPORTANT: Please read all of the safety and operating instructions carefully before using this product. Please pay particular attention to all sections of these instructions that display warning symbols and notices.
WARNING: THIS SYMBOL IS USED THROUGHOUT THE INSTRUCTIONS WHENEVER THERE IS A HAZARD OR RISK OF PERSONAL INJURY. ENSURE THAT THESE WARNINGS ARE READ AND UNDERSTOOD AT ALL TIMES.
GUARANTEE
- This product is guaranteed against faulty manufacture for a period of 12 months from the date of purchase. Please keep your receipt which will be required as proof of purchase.
- This guarantee is invalid if the product is found to have been abused or tampered with in any way, or not used for the purpose for which it was intended.
- Faulty goods should be returned to their place of purchase, no product can be returned to us without prior permission.
- This guarantee does not effect your statutory rights.
GENERAL SAFETY RULES
WARNING: WHEN USING ELECTRIC TOOLS, BASIC SAFETY PRECAUTIONS SHOULD ALWAYS BE FOLLOWED TO REDUCE THE RISK OF FIRE, ELECTRIC SHOCK AND PERSONAL INJURY INCLUDING THE FOLLOWING. READ ALL THESE INSTRUCTIONS BEFORE ATTEMPTING TO OPERATE THIS PRODUCT AND SAVE THESE INSTRUCTIONS FOR FUTURE REFERENCE.
GENERAL SAFETY IN THE WORKPLACE
- Read this manual carefully. Learn the tools applications and limitations, as well as the specific potential hazards associated to it.
- ALWAYS keep work area clean & tidy. Cluttered work areas and benches invite accidents.
- ALWAYS use a clamp or make sure the notcher is bolted to a table/ workbench to hold the work. It should NEVER be held with bare hands.
- NEVER over-reach. Keep proper footing and balance at all times.
- NEVER store equipment in a wet/damp environment or expose to rain.
- Keep other persons away. DO NOT let persons, especially children, not involved in the work, touch the tool and keep them away from the work area.
- NEVER operate a machine/tool when under the influence of alcohol, drugs or medication.
- ALWAYS ensure the workplace is well lit. Ensure that lighting is placed so that you will not be working in your own shadow.
- DO NOT use power tools in the presence of flammable liquids or gasses.
- Stay alert, watch what you are doing, use common sense and DO NOT operate the machine/tool when you are tired.
- ALWAYS remove any adjusting keys or wrenches before starting. Form the habit of checking to ensure that keys, wrenches and tools are removed from the machine.
- DO NOT force the machine and use the correct power tool. It will do the job better and safer, at the rate for which it was intended.
- Before further use of the tool, it should be carefully checked to determine that it will operate properly and perform its intended function. Check for alignment of moving parts, binding of moving parts, breakage of parts, mounting or other condition that may affect its operation.
- Have your tool repaired by a qualified person. Repairs should only be carried out by qualified persons using original spare parts, otherwise this may result in considerable danger to the user.
- NEVER use this product for any other purpose than that described in this manual.
- ALWAYS refer to the operating and safety instructions provided with your drill or drill press.
SAFETY SYMBOLS
The following symbols are shown on the product or it’s packaging.

SPECIFICATION

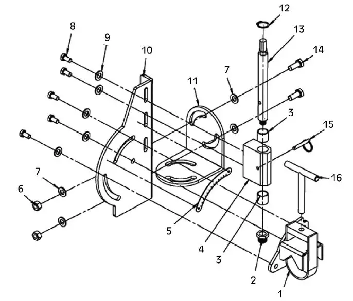
PARTS INVENTORY

| 1 | Clamp Assembly |
| 2 | 5/8” Hole Saw Adapter |
| 3 | Bushing |
| 4 | Spindle Support |
| 5 | 0 – 60o Angle Indicator |
| 6 | Hex Nut M10 |
| 7 | Flat Washer 10mm |
| 8 | Hex Bolt M8 |
| 9 | Flat Washer 8mm |
| 10 | Body |
| 11 | Adjustable Angle Joint Plate |
| 12 | External Retaining Ring |
| 13 | Spindle |
| 14 | Hex Bolt M10 |
| 15 | Spindle Lock Pin |
| 16 | Clamp T-Handle |
ASSEMBLY
The notcher comes with the spindle inverted. Before use, the spindle must be removed and turned around.
INSTALL SPINDLE FOR USE

- Pull the spindle lock pin out to release the spindle.
- Remove the 5/8” adapter from the spindle.
- Rotate the spindle and re-insert the spindle, thread end first.
- Align the hole in the side of the spindle with the hole in the spindle support and insert the pin.
INSTALLING THE HOLE SAW AND WORKPIECE
The hole saw attaches to the notcher by threading it onto the end of the spindle.
ITEMS NEEDED
- 1 x 13mm Open End Spanner or Socket Wrench
- 1 x Hole Saw with 1/2” or 5.8” Thread.

- Remove the 2 hex bolts, as shown, from the back of the body and remove the spindle support from the notcher.
- Remove the spindle lock pin.
- Thread the hole saw on to the spindle by hand. Thread the 5/8” adapter onto the spindle before the hole saw if using a 5/8” hole saw.
- NOTE: For cutting steel pipe and tubing, it is recommended to use a bi-metal hole saw. These can operate at up to 500rpm for most diameters and should be operated at higher speeds for thin wall tubing.

- NOTE: For cutting steel pipe and tubing, it is recommended to use a bi-metal hole saw. These can operate at up to 500rpm for most diameters and should be operated at higher speeds for thin wall tubing.
- Place workpiece into the clamp of the notcher as shown, and tighten the clamp until the workpiece is secured.
- Loosen the 2 adjusting angle hex bolts as shown, adjust the clamp to the desired angle, then tighten hex bolts.
- Reattach the spindle support to the notcher using the hex bolts removed in step 1.
OPERATION
DRILL PRESS OPERATION
To use the notcher with a drill press, the notcher must be clamped securely to the drill press base. It is important that the notcher is secure enough so it will not twist or come off of the table during use. To ensure square cuts, the jig must be square to the base before being mounted to the drill press table.
ITEMS NEEDED
- 1 x 13mm & 2 x 17mm Open End Spanners or Socket Wrenches
- 1 x Hole Saw with 1/2” or 5.8” Thread
- Drill Press with 14” Gap Between Chuck and Table
- Base Fastening Hardware, As Needed
- Cutting Fluid, As Needed
- Install hole saw and workpiece as described.

- Loosen both hex bolts on the angle joint plate, then swivel the plate until square to the frame, then tighten the hex bolts.
- Place the notcher on the drill press work table and adjust the table until the top of the notcher spindle is 1/2” lower than the drill chuck.
- Loosen the two hex bolts from step 2 just enough so the notcher can be aligned with the drill chuck.

- Open the drill chuck jaws and lower the chuck onto the notcher spindle, aligning the chuck jaws with the flat sides of the notcher spindle. Tighten the chuck jaws to secure.
- NOTE: Failure to align the spindle flats properly with the chuck jaws may result in the spindle coming loose and damaging the notcher and drill chuck.
- Adjust the base of the notcher until it is flat to the drill press table, then tighten the hex bolts from step 2.

- Secure the base to the table with bolts, strap clamps or “C” clamps.
- Remove the spindle lock pin, then rotate the drill chuck by hand to test how easily the assembly turns.
- NOTE: If assembly turns with minimal effort, proceed to step 10.
- If assembly does not turn with minimal effort, proceed to step 9.
- Loosen the 2 hex bolts securing the notcher base to the frame, rotate spindle then tighten hex bolts, then repeat step 8. repeat until assembly turns with minimal effort.
- Loosen bolts/clamps, securing the notcher to the drill press table, rotate spindle, then tighten the bolts/clamps. The spindle should turn freely.

- When the notcher is correctly installed on the drill press, remove the spindle lock pin, apply cutting fluid, turn drill press on and perform notching operation.

- With the lock pin removed, apply cutting fluid, turn drill press On and perform the notching procedure.
HAND DRILL OPERATION
ITEMS NEEDED
- 1 x 13mm & 2 x 17mm Open End Spanners or Socket Wrenches
- 1 x Hole Saw with 1/2” or 5/8” Thread
- Workbench Mounting Hardware (Not Supplied), As Needed
- Hand Drill
- Cutting Fluid, As Needed
- Install hole saw and workpiece as described.

- Mount notcher to workbench using mounting hardware (not included).
- Loosen both hex bolts, as shown, swivel base to desired drilling angle, and tighten hex bolts.

- Open drill chuck jaws and place chuck onto the notcher spindle, making sure the chuck jaws align with the flat sides of the notcher spindle, then tighten the chuck jaws to secure.
- Remove spindle lock pin from the spindle and rotate the drill chuck by hand to test how easily the whole assembly turns.
- NOTE: If assembly turns with minimal effort, proceed to step 6.
- If assembly does not turn with minimal effort, adjust the angle of the drill until it does, then proceed to step 6.
- Failure to align the spindle flats properly with the chuck jaws may result in the spindle coming loose and damaging the notcher and drill chuck.
- With the lock pin removed, apply cutting fluid, turn drill On and perform the notching procedure.

ACCESSORIES
- Clarke CHT576 – 6pc Plumbers Hole Saw Set, Part No: 1801576
- Clarke CHT575 – 6pc Electricians Hole Saw Set, Part No: 1801575
- Clarke CDP5EB – Drill Press, Part No: 6550030
A SELECTION FROM THE VAST RANGE OF

CLARKE INTERNATIONAL
- Hemnall Street, Epping, Essex CM16 4LG
- www.clarkeinternational.com
- PARTS & SERVICE: 0208 988 7400
- Parts Enquiries: [email protected]
- Servicing & Technical Enquiries: [email protected]
- SALES: UK 01992 565333 or Export 00 44 (0)1992 565335




























