Oto 6014F Smart Lawn Sprinkler

getting started
For detailed installation instructions and videos, visit support.otolawn.com or use the QR code:
To help with your OtO setup and coverage planning, try our online tool: otolawn.com/#lawnTool
Hose and water pressure
- With proper use, OtO typically reaches a maximum of 30 feet (9 m) with a minimum flow rate of 5.6 GPM.
- Generally speaking, the best kind of hose to use is a high-quality 5/8” garden hose.
- Use as short of a hose as possible to minimize pressure loss (max 50 feet).
- We recommend no more than two OtO units per water source.
- We do not recommend flexi/expandable or light-duty garden hoses.
CAUTION
Pressurized hose may burst in high heat. Do not leave your hose pressurized and exposed to the sun.
In order to keep your drinking water safe from contamination, the faucet that OtO will be connected to needs protection from the possibility of water flowing backward. Commonly known as a backflow device, government regulations specify what type of backflow device is required to adequately prevent water from flowing backward when a device such as OtO is connected to the water supply. Since the type of backflow device and maintenance schedule required by regulation varies at the city level, OtO is not responsible for damage or harm caused by not installing and maintaining the appropriate backflow device for your area. For more detail, visit support.otolawn.com.
PATENT PENDING. FOR USE WITH COLD WATER ONLY. KEEP FROM FREEZING.
Wi-Fi signal strength
- Make sure to pick a place within range of your network. Thick or insulated walls can greatly reduce Wi-Fi signal strength even if your router is close by. Test the Wi-Fi strength with the app before you mount and connect your device.
- Device will only work on 2.4 GHz frequency.

Sunlight and power
- The onboard solar panel requires a minimum of 3 hours per day of direct, unobstructed sunlight.
- If your device’s location does not receive enough sunlight, the provided cable and wall adapter can be used either permanently or as a power boost when needed.

how to install
- Charge overnight by plugging your OtO into an outlet using the included Power Adapter (found inside the device). This ensures you are setting up with a full charge.
- Download the OtO Lawn app from the Apple App Store® or Google Play® store.
- Create an account.
- Select Add New Device.
- Place device in a spot that is well within range of 2.4 GHz Wi-Fi signal and receives a minimum of 3 hours per day of direct sunlight (if using the on-board solar panel). Do not install until Wi-Fi strength has been verified.
- Turn the Switch. Select your OtO device from the list.

- Connect to your home’s Wi-Fi network.
Note: The OtO unit only works with 2.4 GHz Wi-Fi. If device does not connect, consider moving the router closer to the unit. - Device will connect and update firmware. This may take up to 5 minutes. If device does not connect, refer to the Troubleshooting section.
- Name your device.
- Choose to mount the device against a wall or in the ground.
Ground installation
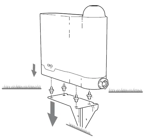
- Push the mounting bracket into the ground until the top is flush with surface. Use a blunt piece of wood as a mallet, if necessary.
- Attach the four thumb screws to the device.
- Push the device ‘feet’ into the bracket holes until all four are clicked into place.
Fence/wall installation
- Use the four included screws to secure the bracket into a wood fence.
Note: Use appropriate hardware (not included) if installing into masonry. - Pass the threads on the 4 thumb screws through the mounting bracket holes and secure them to the device.
Note: Device must be mounted or it will tip over when running.
- Use the four included screws to secure the bracket into a wood fence.
- Attach hose.
- Turn on water completely. Make sure there are no leaks at any connection point.
Create zones - From the app’s Device Overview page, tap the button.
- The unit will begin to water. If no water comes out, confirm that the faucet is fully open and there are no kinks in the line.

- Set the zone boundaries by tapping and releasing the arrow keys to move the water stream. Set Points to mark boundary edges. Tips:
- When the unit achieves its max reach for the available pressure, a message will appear.
If the distance is less than 30 feet, check the troubleshooting section. - Do not set points too close to each other – ensure points are at least 1 foot apart.
- Press Remove Point to delete most recent point or Clear to start again.
- When the unit achieves its max reach for the available pressure, a message will appear.
- Once finished, press Close to close the shape and then press Save.
- Test your zone by tapping Demo Zone from the Settings menu. This performs a quick pass to show where the OtO unit will water. Actual cycles will complete multiple passes at different speeds when applying water.
- Once you are happy with your zone, you can change the schedule and other options in the Zone Settings page.
- Continue to add more zones as desired.
Add a solution - On the Device Overview page, select the bay
to fill - Scan the QR code on the bottle. The device now recognizes this bottle and you can assign it to the available zones.

- Remove the cap and carefully insert the bottle into the corresponding bay. Firmly connect the feed cap.
Tip: To remove a solution from a zone, go to the Zone Settings page and tap the solution icon.
day-to-day use
Maintenance – If your OtO device gets dirty, wipe down the outside with a damp cloth. Do not use abrasive chemicals. Keep the solar panel clean and unobstructed to ensure the battery stays fully charged.
LED Status Light

Getting enough power – Use the Battery History (from the Device Overview page) to monitor the health of your battery when using solar. If the charge is increasing or stable at a high percentage over the period of at least 1–2 weeks, it is likely the device is getting sufficient charge. If the battery is declining over time, refer to our Declining Battery troubleshooting guide.
Winter or long-term storage – The app will alert you if temperatures fall below 32°F (0°C). Put it in Winter Mode from the Device Overview menu. Drain completely of water, remove any solution bottles, and store indoors. This will ensure the battery does not deplete. To wake up after being stored, turn the Wake Switch and turn off Winter Mode in the app
Troubleshooting.
Can’t add new device (no status light)
The battery may be depleted. Charge the device using the provided power adapter for a minimum of 24 hours.
Can’t add new device
Your device may be unable to see the OtO unit in your list of available Bluetooth devices. Submit a help ticket using the Report Issues tab in the app.
Can’t add new device after device has been found via Bluetooth
Your OtO unit may be unable to connect to Wi-Fi. Ensure your credentials are correct and that you are connecting to 2.4 GHz.
If you are still unable to connect, it is possible your Wi-Fi is too weak. Visit our Help Desk for additional support.
Device offline (no status light)
The battery may be depleted. Charge the device using the provided power adapter for a minimum of 24 hours.
If the unit is charged but still offline, the OtO unit may be unable to connect to Wi-Fi. Move device closer to router or consider getting a Wi-Fi mesh system.
Device does not spray 30 feet
There is not enough water available (due to low pressure, small pipes or other flow restrictions).
- Ensure your water spigot is fully open and there are no kinks or leaks in the line.
- Ensure your hose diameter is at least 5/8 inches (the larger, the better).
- Use a shorter hose to reduce pressure loss.
- Measure your flow rate by timing how long it takes to fill a bucket of a known quantity. For best results, we recommend a minimum flow rate of 5.6 gallons per minute (GPM), measured at the hose end where OtO will be connected. For more information, visit support.otolawn.com.
Copyright © 2021 OtO Lawn. All rights reserved. OtO and the OtO design are trademarks of OtO Inc. Information subject to change without notice.
Oct 2021 0191-E.
ISED non-interference disclaimer
This device contains license-exempt transmitter(s)/receiver(s) that comply with Innovation, Science and Economic Development Canada’s license-exempt RSS(s). Operation is subject to the following two conditions:
- This device may not cause interference.
- This device must accept any interference, including interference that may cause undesired operation of the device.
RSS-Gen Transmit antenna statement
This radio transmitter 28550-6014F has been approved by Innovation, Science and Economic Development Canada to operate with the antenna types listed below, with the maximum permissible gain indicated. Antenna types not included in this list that have a gain greater than the maximum gain indicated for any type listed are strictly prohibited for use with this device.
Under Innovation, Science and Economic Development regulations, this radio transmitter may only operate using an antenna of a type and maximum (or lesser) gain approved for the transmitter by ISED. To reduce potential radio interference to other users, the antenna type and its gain should be so chosen that the equivalent isotropically radiated power (e.i.r.p.) is not more than that necessary for successful communication.
Approved Antenna Types:
- Max Gain: 2 dBi
- Impedance: 50 Ohm
- Radiation Pattern: Omni-Directional
- Max Power 2W
RF Exposure statement
This equipment complies with ISED RSS-102 radiation exposure limits set forth for an uncontrolled environment. This equipment should be installed and operated with minimum distance 20 cm (7.6 inches) between the radiator and any part of your body. This transmitter must not be co-located or operating in conjunction with any other antenna or transmitter.
FCC Compliance Statement
For class B
This equipment has been tested and found to comply with the limits for a Class B digital device, pursuant to part 15 of the FCC Rules. These limits are designed to provide reasonable protection against harmful interference in a residential installation. This equipment generates, uses and can radiate radio frequency energy and, if not installed and used in accordance with the instructions, may cause harmful interference to radio communications. However, there is no guarantee that interference will not occur in a particular installation. If this equipment does cause harmful interference to radio or television reception, which can be determined by turning the equipment off and on, the user is encouraged to try to correct the interference by one or more of the following measures:
- Reorient or relocate the receiving antenna.
- Increase the separation between the equipment and receiver.
- Connect the equipment into an outlet on a circuit different from that to which the receiver is connected.
- Consult the dealer or an experienced radio/TV technician for help.
This device complies with Part 15 of the FCC Rules. Operation is subject to the following two conditions:
- this device may not cause harmful interference, and
- this device must accept any interference received, including interference that may cause undesired operation. Please note that changes or modifications not expressly approved by the party responsible for compliance could void the user’s authority to operate the equipment.
RF Exposure Statement
This equipment complies with FCC radiation exposure limits set forth for an uncontrolled environment. This transmitter must not be co-located or operating in conjunction with any other antenna or transmitter. In order to avoid the possibility of exceeding the FCC radio frequency exposure limits, this equipment should be installed and operated with minimum distance 20 cm (7.8 inches) between the antenna and your body during normal operation. Users must follow the specific operating instructions for satisfying RF exposure compliance.



















