INSTALLATION INSTRUCTION
CAUTION: TO PREVENT ELECTRICAL SHOCK, ENSURE ELECTRICITY HAS BEEN TURNED OFF AT THE CIRCUIT BREAKER BEFORE BEGINNING.
‐ Read all instructions before installing.
‐ System is intended for installation by a licensed electrician in accordance with the National Electrical Code (NEC) and local regulations.
‐ When handling the fixture, do not apply pressure to the LEDs. Hold the fixture by the base only.
‐ Retain installation instructions for future maintenance reference.
WARNING: All parts must be used as indicated in these instructions. This product is designed for use only with the supplied parts and/or accessories designated for use by dweLED. Substitution of parts or accessories not designated for use with this product by dweLED could result in personal injury or property damage, and will void the warranty. Contact an authorized dealer or the manufacturer if any parts are damaged or missing.
MAINTENANCE NOTE: Coastal conditions may cause mineral and residue build-up on the fixture. We recommend that customers in coastal areas clean all external surfaces of the fixture once every two weeks with a wet cloth.
HARDWARE
A ![]()
Wire Connector
Qty: 3pcs+1 Extra
B ![]()
Mounting Screw
Qty:1 Extra
C 
Assembly Screw
Qty: 2pcs
D 
Conversion Plate
Qty: 1pc
E 
Mounting Ring
Qty: 1pc
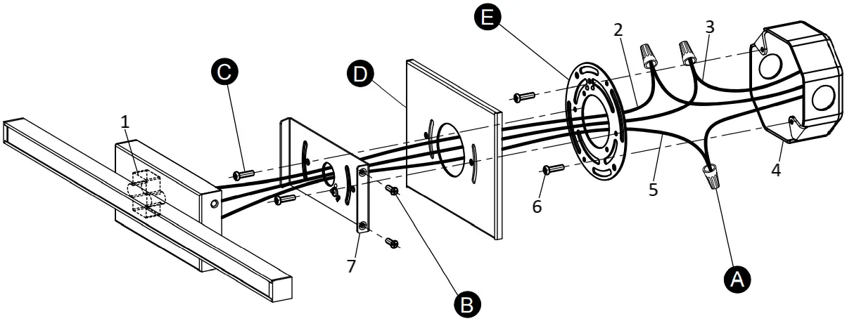
Fig. 1 MOUNT ON SWITCH BOX

- Switch
- Mounting Back Plate
- White Wire
- Black Wire
- Switch Box
- Bare Copper Ground Wire
- Switch Box Screw
A Wire Connector
B Mounting Screw
MOUNT ON JUNCTION BOX

- Switch
- White Wire
- Black Wire
- Junction Box
- Bare Copper Ground Wire
- Junction Box Screw
- Mounting Back Plate
A Wire Connector
B Mounting Screw
C Assembly Screw
D Conversion Plate
E Mounting Ring
Conversion Plate

PREPARATION
1. Shut off the power at the circuit breaker and remove existing fixture, including the crossbar.
2. Carefully unpack your new fixture and lay out all the parts on a clear area. Be careful not to lose any small parts necessary for installation.
MOUNTING THE FIXTURE (Fig.1)
3. Remove the mounting screw (B) with screw driver.
4. The lamp can switch between three color temperatures (2700K-3000K-3500K), which can be adjusted to your preference with the switch in the canopy (Fig.3).
5. MOUNT ON SWITCH BOX
Secure the mounting back plate to the switch box using the screws provided with the switch box.
MOUNT ON JUNCTION BOX
(i) Secure the mounting ring (E) to the junction box using standard junction box screws that comes with the junction box.
(ii) Secure the mounting back plate and conversion plate (D) to the mounting ring with assembly screw (C).
NOTE:
(i) Using any other non-original-manufacturer provided junction box screws may result in safety issue.
(ii) The side of the mounting pate marked “GND” must face out.
CONNECTING THE WIRES (Fig.2)
6. Connect the fixture’s wires to junction box wires as shown (Fig. 2). Make sure that all wire connectors (A) are secure. If your outlet box has a green or bare copper ground wire, connect the fixture’s ground wire to it. Otherwise, connect the fixture’s ground wire directly to the back plate using the GND screw provided. After wires are connected, tuck them carefully inside the junction box.
COMPLETING THE INSTALLATION (Fig. 1)
7. Secure the fixture to the mounting back plate with the mounting screw(B).
Fig.2 Wiring

Table A
Fixture Wires House Wires
Black or Black
Smooth (Hot)
Fixture Wires House Wires
White or White
Ribbed (Neutral)
Fixture Wires House Wires
Bare wire (Ground) Green or Bare Copper (Ground)
Fig.3 Switch Mounting Back Pate
Mounting Ring

















