WiZ CRC000 ELPAS LED Wall Light

WHAT’S INCLUDED

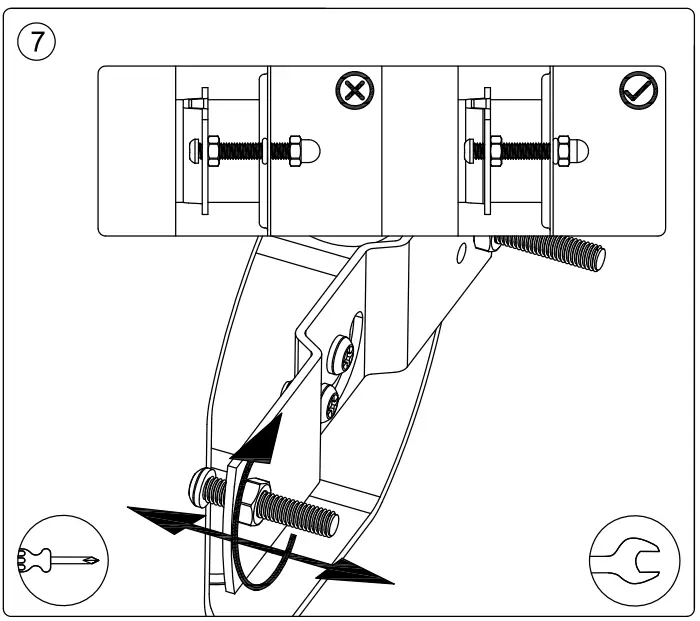
TOOLS

FEATURES

WARNING


POWER OFF

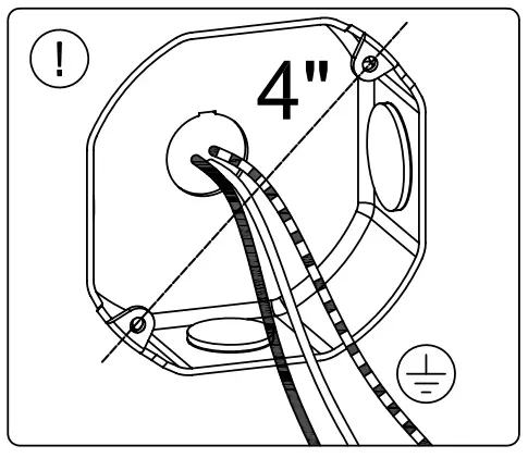
INSTALLATION INSTRUCTIONS



WIRING




POWER ON

SIGNIFY
- Brand: WIZ
- Product Family: LED
- Shape……………………………
- Wattage…………………………..
- Template Ref: N/A
- SGS number: 6859243
- 12-NC.NBR: 324165996111
- Master drawing: A4
- CRC Ref: CRCO00
- Barcode No: 046677604448
- Operator(s): steven.he
- VERSION No: v2
- Date in……………………………….
- Date amended: 20220809

Date Check
- Check briefing Traffic
Artwork document
- Legend
- 12NC
- Barcode
- Diecut
- Number of colors
- Trapping/Bleed
- Images hire
- Job sizes
Approval
- QC Lithographer: SGS Shanghai Production
- Product Manager: [email protected]
- Traffic Manager: Joanna Wu
3241 659 96111
2022 Signify Holding
















