BLAUBERG EH Freshbox Electric Heater

INSTALLATION GUIDE
The electric heater maintains above-zero temperature of the condensate drain pipe of the air handling unit. The heater is equipped with a temperature sensor for automatic activation and de-activation. The device is powered via a plug-in cable which connects it to the control unit of the air handling unit. 
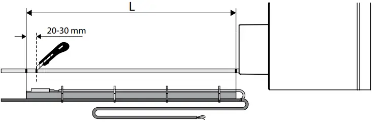
- Adjust the heater length L in consideration of the air duct length and the vent hood dimensions.
Mark the necessary length of the heater L on the guide tube, cut off the extra cable ties with wire cutters, move the cable away to the side and saw off the redundant part of the tube. 
- Trim the drain tube.
The distance between the ends of the drain tube and the guide tube on the temperature sensor side shall be 20 – 30 mm.
- 1 Install the electric heater prior to the air handling unit installation or remove the air handling unit if already installed. Insert the drain tube into the guide tube. 3 Route the heater cable through the connection pipe. 4 the air duct and suspend the air handling unit back in place.

- To access the control unit, open the air handling unit and remove the shielding plate by undoing the attachment screws.

- Connect the heater to the control unit in accordance with the wiring diagram

www.blaubergventilatoren.de
B73-8EN-02

Mark the necessary length of the heater L on the guide tube, cut off the extra cable ties with wire cutters, move the cable away to the side and saw off the redundant part of the tube. 





















