RAB CD34FA Series Wall Mount Cylinders

RAB Lighting is committed to creating high-quality, affordable, wel-designed and energy-efficient LED lighting and controls that make it easy for electricians to install and
end users to save energy. We’d love to hear your comments. Please call the Marketing Department at 888-RAB-1000 or email: [email protected]
IMPORTANT
READ CAREFULLY BEFORE INSTALLING FIXTURE. RETAIN THESE INSTRUCTIONS FOR FUTURE REFERENCE. RAB fixtures must be wired in accordance with the National Electrical Code and all applicable local codes. Proper grounding is required for safety. THIS PRODUCT MUST BE INSTALLED IN ACCORDANCE WITH THE APPLICABLE INSTALLATION CODE BY A PERSON FAMILIAR WITH THE CONSTRUCTION AND OPERATION OF THE PRODUCT AND THE HAZARDS INVOLVED.
WARNING:
- Make certain power is OFF before installing or maintaining fixture. No user serviceable parts inside.
- Fixture is suitable for wet location.
- Fixture must be mounted a minimum of 4 feet above ground level.
WALL MOUNT WHAT’S IN THE BOX
Important: For wet locations, Gasket must be used.

WALL MOUNT INSTALLATION
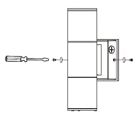
- Remove (2) M4*8 Screws on two sides and separate Junction Box Adaptor Plate from the Fixture.

- Stick Gasket and fix Junction Box Adaptor Plate with (2) M4*30 Tapping Screws on the wall. (Fig. 2)
(Warning: The mark “UP” direction must be installed upside.)
- Connect the wires with (3) P3 Wire Nuts according to Wiring Diagram

- Mount back the Fixture on Junction Box Adaptor Plate with (2) M4*8 Screws tightly.

- Unscrew Plug A to adjust the output distribution selectable and CCT (Default: Output distribution selectable-Full; CCT-3000K). When set down, screw back Plug A

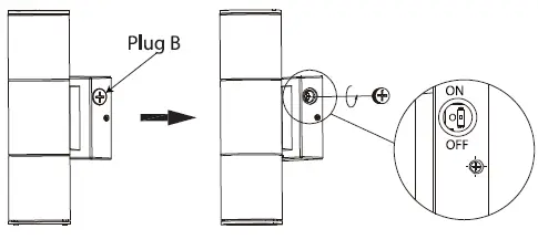
- Unscrew Plug B to turn ON/OFF Photocell (Default: PhotocellOFF). When set down, screw back Plug 8.

CEILING MOUNT WHAT’S IN THE BOX
Important: For wet locations, caulk the seam between the fixture and ceiling

CEILING MOUNT INSTALLATION
- Unscrew Junction Box Adaptor Plate and Canopy off the Fixture counterclockwise. Remove Screw A from Canopy and separate Junction Box Adaptor Plate and Canopy

- Fix Junction Box Adaptor Plate into junction box with (2) M4*30 Tapping Screws

- Unscrew Plug A to adjust the CCT (Default-3000K). When set down, screw back Plug A.

- Fix Canopy back to the Fixture

- Connect Tether Cable on Canopy to Tether Slot in Junction Box Adaptor Plate

- Connect the wires with (3) P3 Wire Nuts and (2) P2 Wire Nuts according to Wiring Diagram. (2) P2 Wire Nuts are for dimming wires

- Align the holes on Canopy and Junction Box Adaptor Plate to fix Canopy back to Junction Box Adaptor Plate counterclockwise and tighten them with Screw A
PENDANT CORD/ PENDANT POLE MOUNT
Important: For wet locations, caulk the seam between the fixture and ceiling.
- Unscrew Junction Box Adaptor Plate and Canopy off the Fixture counterclockwise. Remove Screw A from Canopy and separate Junction Box Adaptor Plate and Canopy.

- Pass Thread Lock through the Cord and tighten it securely

- Unscrew Plug A to adjust the CCT (Default-3000K). When set down, screw back Plug A.

- Fix Junction Box Adaptor Plate into junction box with (2) M4*30 Tapping Screws

- Connect Tether Cable on Canopy to Tether Slot in Junction Box Adaptor Plate

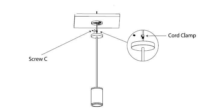
- Pass Cord Clamp through the Cord. Adjust Cord length according to requirement and tighten Cord Clamp with Screw C. A minimum of 6 inches will be needed for connecting to the power supply wires located in the junction box.

- Pass Cord Clamp through the Cord. Adjust Cord length according to requirement and tighten Cord Clamp with Screw C. A minimum of 6 inches will be needed for connecting to the power supply wires located in the junction box.

- Fix Canopy back to Junction Box Adaptor Plate and tighten them with Screw A.

CORD-TO-POLE CONVERSION
Note: Please refer to RAB CD34STEM-X. Poles are sold separately.
- Remove Cord Clamp with Screw C, Canopy, Tether Cable with Screw B, Junction Box Adaptor Plate with Screw A. Discard Thread Lock

- Insert Cord through Pole section. Screw Pole section to Fixture. Add up to 3 more Pole sections as required. Each pole section is 12″ long. A minimum of 6 inches will be needed for connecting to the power supply wires located in the junction box.

- Thread Cord onto Hollow Stud and tighten them securely

- Unscrew Plug A to adjust the CCT (Default-3000K). When set down, screw back Plug A

- Unscrew M10 Outside Hexagonal Hollow Nut to Canopy and fix Canopy to Pole through M10 Outside Hexagonal Hollow Nut.

- Fix Junction Box Adaptor Plate into junction box with (2) M4*30 Tapping Screws

- Connect Tether Cable on Canopy to Tether Slot in Junction Box Adaptor Plate

- Connect the wires with (3) P3 Wire Nuts and (2) P2 Wire Nuts according to Wiring Diagram. (2) P2 Wire Nuts are for dimming wires.

- Fix Canopy back to Junction Box Adaptor Plate and tighten them with Screw A.

Note: These instructions do not cover all details or variations in equipment nor do they provide for every possible situation during installation, operation or maintenance.
WIRING DIAGRAM

CLEANING & MAINTENANCE
CAUTION: Be sure fixture temperature is cool enough to touch. Do not clean or maintain while fixture is energized.
- Do not open fixture to clean the LED. Do not touch the LED.
- Do not touch reflector.
- Do not clean any fixture surface with wood-base cleaning material such as paper towels or tissues.
TROUBLESHOOTING
- Check that the line voltage at the fixture is correct. Refer to wiring directions.
- Is the fixture grounded properly?
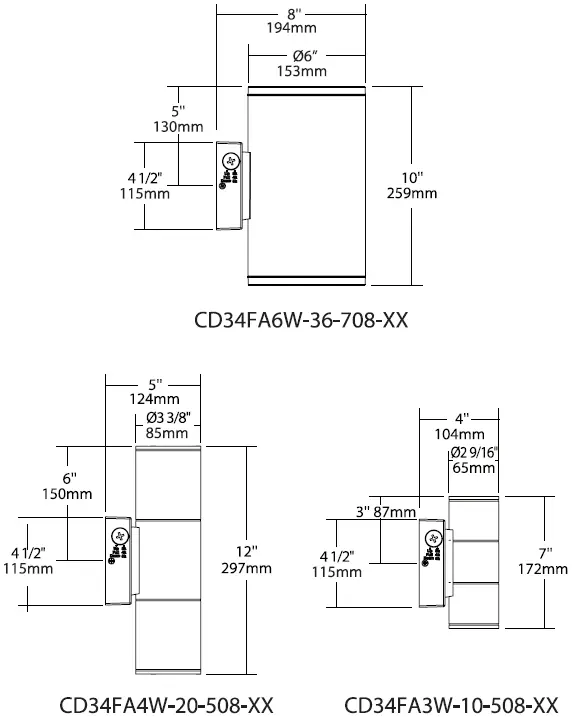
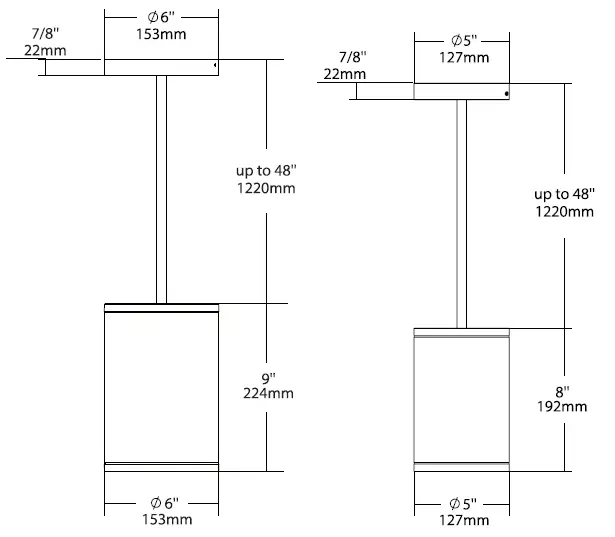
DIMENSIONAL DRAWINGS
Wall Mount

Ceiling Mount

Pendant/Cord Mount

rablighting.com
Visit our website for product info
Tech Help Line
Call our experts: 888 722-1000
e-mail
Answered promptly- [email protected]
Free Lighting Layouts
Answered online or by request
RAB WARRANTY
RABS warranty is Subject to all terms and conditions tound at rablighting.com/warranty.




















