ONE HOME COLLECTION OHCF03-MT Smart Ceiling Fan

READ AND SAVE THESE INSTRUCTIONS
SAFETY RU LES
- To reduce the risk of electric shock, ensure electricity has been turned off at the circuit breaker or fuse box before beginning.
- All wiring shall be in accordance with the National Electric Code ANSI/NFPA?0 and local codes. Electrical installation should be performed by a qualified licensed electrician.
- WARNING: To Reduce The Risk Of Fire
Or Electric Shock, Do Not Use This Fan With Any Solid-State Speed Control Device. - WARNING: TO REDUCE THE RISK OF FIRE, ELECTRIC SHOCK, OR PERSONAL INJURY, MOUNT TO OUTLET BOX MARKED
“ACCEPTABLE FOR FAN SUPPORT OF 35 LBS OR LESS”, AND USE MOUNTING SCREWS PROVIDED WITH THE OUTLET BOX. MOST OUTLET BOXES COMMONLY USED FOR THE SUPPORT OF LIGHTING FIXTURES ARE NOT ACCEPTABLE FOR FAN SUPPORT AND MAY NEED TO BE REPLACED. CONSULT A QUALIFIED ELECTRICIAN IF IN DOUBT. - The fan must be mounted with a minimum of 7 feet clearance from the trailing edge of the blades to the floor.
- Avoid placing objects in the path of the blades.
- To avoid personal iniury or damage to the fan and other items, be cautious when working around or cleaning the fan.
- Do not use water or detergents when cleaning the fan or fan blades. A dry dust cloth or lightly dampened cloth will be suitable for most cleaning.
- After marking electrical connections, spliced conductors should be turned upward and pushed carefully up into outlet box. The wires should be spread apart with the grounded conductor and the equipment-grounding conductor on one side of the outlet box.
- Electrical diagrams are reference only. Light kits that are not packed with the fan must be UL or CUL Listed and marked suitable for use with the model fan you are installing. Switches must be UL or CUL General Use Switches. Refer to the Instructions packaged with the light kits and switches for proper assembly.
WARNING
TO REDUCE THE RISK OF PERSONAL INJURY, DO NOT BEND THE BLADE BRACKETS WHEN INSTALLING THE BRACKETS, BALANCING THE BLADES, OR CLEANING THE FAN. DO NOT INSERT FOREIGN OBJECTS IN BETWEEN ROTATING FAN BLADES.
TOOLS AND MATERIALS REQUIRED
- Philips Screw Driver
- Blade Screw Driver
- 11 mm Wrench
- Step Ladder
- Wire Cutters

PACKAGE CONTENTS
Unpack your fan and check the contents. You should have the following items:
A. d Fan Blades(3)
B. Ceiling Mounting Bracket
C. Canopy
D. Canopy Cover
E. Ball/Down rod Assembly
F. Coupling Cover
G. Fan Housing
H. Fan Motor Assembly
I. Light Plate
J. Led Light Kit
K. Acrylic lampshade
L. Receiver Fasteners Package
- Mounting Hardware
Wiring Cap (4) Flat Washer (4) Star Washer (4) Wood Screw (4) Screw (2) Spring Pad (2) - Blade Balance Package Spare Screws(1)
- Balance Kit


IMPORTANT REMINDER: You must use the parts provided with this fan for proper installation and safety.
INSTRUCTION OF INSTALLATION
Note: This ceiling fan is available for download mounting.
DOWNLOAD MOUNTING
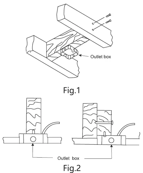
- CHOICE OF INSTALLATION LOCATION
If there isn’t an existing UL (CUL for Canadian Installation) listed mounting box, then read the following instructions. Disconnect the power by removing fuses or turning off circuit breakers. Figures 1 and 2 are examples of different ways to mount the outlet box.
NOTE: If you are installing the ceiling fan on a sloped (vaulted) ceiling, you may need a longer downrod to maintain proper clearance between the tip of the blade and the ceiling. A minimum clearance of 12″ is suggested for optimal operation.
NOTE: Depending on the location you have selected for installation, you may need to purchase and install a “Joist Hanger” for the support of the outlet box. Make sure the joist hanger you purchase has been designed for use with ceiling fans. (Fig.4)

- BRACKET INSTALLATION
NOTE: This hanging ceiling fan assemblies; is supplied the with standard two ceiling types of installation and using the the downrod “close-to-ceiling” with ball and installation. socket The mounting rooms “close-to-ceiling with less than “installation 8-feet is ceilings or recommended in areas in the where fan blades. additional space is desired from the floor to the fan blades.
- SCHEMATIC DIAGRAM OF THE WHOLE MACHINE INSTALLATION

NOTE: PLEASE CHECK WHETHER THE OUTLET BOX IS FIRMLY INSTALLED AND ENSURE THAT ALL SCREWS ARE FIXED TIGHTLY TO AVOID UNNECESSARY SECURITY RISKS. - ELECTRIC CONNECTIONS
WARNING: To avoid possible electrical shock, be sure you have turned off the power at the main circuit panel. Follow the steps below to connect the fan to your household wiring. Use the wire connecting nuts suppled with your fan. Secure the connectors with electrical tape. Make sure there are no loose wire strands or connections.
Step 1. Insert the receiver into the ceiling mounting bracket with the flat side of the receiver facing the ceiling (Fig. 7). For best performance, make sure the black antenna, on the end of the receiver, remains extended and not tangled with any of the electrical wires.
Step 2. Motor to Receiver Electrical Connections (Fig. 8)- Connect the brown wire from the fan to the brownwire marked on the receiver.
- Connect the Red wire from the fan to the Red wire marked on the receiver.
- Connect the Garywire from the fan to the Gary wire marked on the receiver.
- Connect the Blue wire from the fan to the Blue wire marked on the receiver.
- Connect theWhitewire from the fan to the Whitewire marked on the receiver.
Secure each set of wire connections with the plastic wire nuts provided in the parts bag.
NOTE: The fan running wire and the grounding wire should be placed separately on both sides of the wire box and should not be put together.
Step 3. Receiver to Supply Wires Electrical Connections: (Fig. 8)
- Connect the black (load) wire from the ceiling outlet box to the black wire marked on the receiver.
- Connect the white (LIGHT) wire from the ceiling outlet box to the white wire marked on the receiver. Secure each set of electrical connections with the plastic wire nuts provided in the parts bag.
Step 4. Connect the ground wire (green or bare copper)from the outlet box to the ground wire on the ceiling mounting bracket and the ground wire from the ceiling fan.
After making all connections, separate the white and green wire connections to one side and the black wire connections to the other side of the outlet box.
NOTE: Fan must be installed at a maximum distance of 30 feet from the Hand Held Remote Transmitter for optimal signal transmission between the transmitter and the fan’s receiving unit.
WIRING SCHEMATIC DIAGRAM FOR RECEIVER


POWER PARAMETER LIST
Adopt RF wireless digit emission technique, biunique controlled , coincident code rate is less than one millionth.(Emitter and receiver must be sent back to factory for maintenance if damaged.) Receiver can be controlled by any angles of the emitter in prescriptive space, unrestricted by direction. With the memory function, the controller can save the status( light and direction ) while the supply power OFF and resume to the original after reload the power supply.

Mobile App Pairing instructions:
Download the “Smart Life” Mobile App
Step 1: Turn on and off the power supply for more than five times. After hearing the beep sound and entering the connection state, complete the connection within one minute. *If the connection fails, repeat the preceding steps.
Step 2: Complete the installation of pairing progress in MobileAPP.
a. Open “Smart Life” Mobile App.
b. Press the “Add Device” button in the middle of the screen
c. Under “Add Device” select “Small Home Appliances” .
d. Select “Fan(Wi-Fi)” .
e. Click “Confirm the indicator is blinking” and type in your Wi-Ficode&password,then click “OK” .
f. Once connected, you can select the fan you want to control from the home screen
Detailed operation
- Press the “Add Device” button
- Find the “Fan(Wi-Fi)”
- Enter WiFi password
- Confirm that the indicator is blinking
- Waiting for the connection
- The connection is successful.

Fan control panel function display
- The fan switch
- Wind speed choice
- Choose the type of wind
- Turn off the fan periodically
- Select forward or reverse rotation
- Light switch
- Version

Q&A
Q: If you can’t pair the Smart Life APP.
A:
- Please check whether the Wi-Fi network is 2.4g
- Turn on and off the power supply for more than five times. After hearing the beep sound and entering the connection state, complete the connection within one minute.
- Pairing Smart Life Mobile APP again
Q: If you application can’tcontrol the receiver.
A:
- Turn on and off the power supply for more than five times. After hearing the beep sound and entering the connection state, complete the connection within one minute.
- Pairing Smart Life Mobile APP again.
Q: How to turn off the voice control of fan lights in the APP
A:
- Open the page of the fan light controller app and turn on the fan ligh.
- Select “Settings”
- Turn off the “Voice” settings
- Restart the fan light, the setting is successful.
Q: I want to remove the match between app and fan light *After the data is cleared, the fan cannot be controlled by the application
A:
- Please check whether the Wi-Fi network is 2.4g
- After powering on and off five times in a row, the receiver will return to its default state and unpair from the application.
How to connect to Google Assistant ?
- Complete product networking configuration in the Smart Life App Complete the device’s networking configuration according to the prompts in the App
Note: In the App, change the name of the device to an easily identify - Configure Google Home device (If you have already configured Google Home, you can skip this step. The following instructions are based for iOS client)
- Make sure your Google Home device is powered on and connected to a Wi-Fi network.
- Open the Google Home app on your phone. Afer successful login, tap on the menu in the upper left corner and select “SET UP”
- It will notify you with a sound to ensure that you are connected to the correct device. After you hear the sound, tap “YES” to proceed to the next step.

- You can choose to differennate the room where Google Home is located from other Google devices. Then, select the Wi -Fi network and language, wait for the system to complete the configuration, and tap “next.”
- According to the page prompts, choose whether to agree to the corresponding operation. When the page displays “Google Home is ready,” select “continue”.
- Next is the voice control guide tutorial. Once you’re done listening, tap “FINISH SET UP.” At this point, Google Home setup is complete.
- Key step – link Act in
- On the main page of the Google Home app, tap the sidebar menu in the top lef corner and select “Home Control.”

- Then click the plus sign in the lower right corner and search for “smart life.”
- Find smart Life in the list and open it, select the country of your Smart Life app account, enter your Smart Life app account and password, and click “Link now”.
- Enter the Smart Life app account and password, then tap [ Link Now] to link your Smart Life account. Choose the room where your device is located, and then the skill will appear on the Home Control Devices list. Now you can begin your smart home journey
- On the main page of the Google Home app, tap the sidebar menu in the top lef corner and select “Home Control.”
- Control your smart device with Google Home
How do I connect to Amazon Alexa?
The following is an example using AmazonAlexa.
- Complete product networking configuration in the Smart Life App
Complete the device’s networking configuraatn according to the prompts in the App
Note: In the App, change the name of the device to an easily identifiable name such as Alexa; such as “bed light” - Configure the Amazon Alexa device
(If you have already configured Amazon Alexa, you can skip this step. The following instructions are based for iOS)- Make sure your Amazon Alexa device is powered on and connected to a Wi-Fi network.
- Open the Alexa app on your phone. Ater successful login, tap on the menu in the upper left corner of the Home page, select “Settings” and tap “Set Up A New Device” to set up the Amazon Alexa.

- Choose your Amazon Alexa device type and I anguage for connecting . Press and hold the small dot on the device untl the light turns yellow. Then tap “Continue” to connect to the hotspot. Afer connecting to the Amazon Alexa hotspot, return to the page. At this point, the connecton is successful. Tap “Continue” to proceed to the next step. Choose a Wi-Fi network to connect to. Amazon Alexa will take a few minutes to try to connect to the network.
- Afer the network connection is successful, Tap [Continue] An introduction video will appear. After the video ends, Tap [Continue] to jump to the Alexa Home page. You have now completed the Amazon Alexa’s configuration process.

- Key step – link Skills
- Tap on 11Skills11 in the Alexa app menu .
- Then search for 11Smart Life11
- Tap 11 Enable11 to enable the Skill.
- Enter the Smart Life APP account and password, then tap [ Link Now] to link your Smart Life account to enable the Skill. Now you can start your smart home journey.

- Common commands
Control the device via voice commands Now you can control your smart device with Alexa. You can control your device (such as your Ceiling fan light) with the following commands:- Alexa, turn on XXXX
- Alexa, turn off XXXX
- Alexa, set the fan speed to 1
- Alexa, set the fan speed to 2
- Alexa, set the fan speed to 3





























