GP-300 Graphics Printer
User Guide

Read this manual before attempting to operate the printer. Keep this manual for future reference.

Safety Precautions
Follow the items below to use the printer safely. Do not perform any operations or procedures other than as described in this document and instruction manual for this printer. Doing so may result in unexpected accidents and can cause a fire or electrical shocks.
Warning
Instructions that, if ignored, could result in death, serious personal injury, or property damage caused by incorrect operation of the equipment. These must be observed for safe operation.
Caution
Instructions that, if ignored, could result in personal injury or property damage caused by incorrect operation of the equipment. These must be observed for safe operation.
Warning
This printer generates a low-level magnetic field. Anyone wearing a pacemaker who experiences discomfort while working around the printer should leave the area and consult a doctor.
Warning
Follow the items below as there is a risk of fire and electrical shock.
- Do not set up the printer in any location exposed to alcohol, thinner, or other flammable liquids.
- Use the cables that are included with the printer. Do not use the cables included with the printer with other devices.
- Use the printer with a power supply that meets the operating conditions of the printer.
- Insert the power plug securely and completely into the power outlet.
- Never handle the power cable with wet hands.
- Never cut the power cord or attempt to modify it, and never stretch it or bend it forcefully.
- Never place a heavy object on the power cord.
- Never knot the power cord or wrap it around itself.
- Do not insert multiple power cables into the same outlet, and do not connect multiple extension cords.
- If there is lightning nearby, disconnect the power cable from the outlet and do not use the printer.
- When cleaning, always disconnect the cables and power cable that are connected to the printer, and use a cloth dampened in water. Never use flammable solvents such as alcohol, benzine, or thinner.
- Never disassemble the printer or attempt to modify it.
- Once per month, disconnect the power cable and power cord from the outlet, and check that dust has not accumulated, and that there are no abnormalities such as heat generation, rust, bending, chafing, or cracking.
If you continue to use the printer in the following cases, it may cause fires or electrical shock. Immediately press the power button to turn off the printer, disconnect the power cable from the outlet, and make a request for repairs on the Canon website. - If any foreign matter (metal fragments, liquids, etc.) gets inside the printer.
- If abnormal conditions occur such as emitting smoke, strange smells, or strange noises.
- If the power cable or power cord is generating heat, rusty, bent, chafed or cracking.
Warning
For cleaning, use a cloth dampened in water. Never use flammable solvents such as alcohol, benzine, or thinner. If these substances come into contact with electrical components inside the printer, there is a risk of fire or electrical shock.
Caution
Moving parts: Keep body parts away from moving parts. Keep body parts out of the motion path.
*This mark may not appear on your model.
Caution
About the printer stand
If a stand is included with this printer, please use that stand. If you are purchasing an optional printer stand, please observe the following caution. When using a printer stand with the Canon GP-300/ GP-200 printer, follow the instruction manual to securely attach the printer to the stand. Furthermore, always use the following combinations.
For Canon Printer GP-300, use Canon Printer Stand SD-33.
For Canon Printer GP-200, use Canon Printer Stand SD-24.
Using a different combination of printer and stand than shown above, using a stand not listed above, or not attaching the printer securely to the stand may be
unstable and may result in injury.
Moving the Printer
Be careful to avoid back strain and other injuries when moving the printer.
For details, refer to the Online Manual or Setup Guide.
Printer Location
- Never install the printer on an unstable or vibrating surface.
- Never place the printer outdoor or in a location that is exposed to high humidity or large amounts of dust, or exposed to direct sunlight, high temperature, or open flame. Refer to “Specifications” for details on the usage environment.
- Never place the printer on heavy wool or shag carpet.
The fibers, dust, etc. may get inside the printer. - Never place the rear surface of the printer against a wall.
- We recommend ensuring ample space for installation.
- Do not install the printer near sources of strong electromagnetic fields, whether equipment that generates such fields or places where such fields occur.
Power Supply
- Keep the area around the power outlet clear of items so that you can disconnect the power cable immediately.
- Always grip the plug to remove the power cord from the power outlet. Pulling on the power cord could damage the cord.
- Never use an extension cord.
- A power cord shall be connected to a socket outlet with earthing connection in order to prevent electric shock.
Handling
- Never insert your hand into the printer while it is printing.
- Never place items on top of the printer. In particular, never place small metal objects (paper clips, staples, etc.), liquids, any type of liquid container that contains flammable solvents (alcohol, thinner, etc.) on the printer
- When using the printer, do not tilt it, stand it on its side, or turn it upside down. There is a risk of the ink spilling.
- When transferring the printer tilted, always perform the steps in “Preparing to Transfer the Printer” in order to protect the internal structure.
Refer to the Online Manual for “Preparing to Transfer the Printer”. - Connect the interface cable correctly. To avoid damage, before connection make sure that the shape of the cable connector matches the connection point on the printer.
- During printing, turn on the ventilation system in the room.
Print Head, Ink Tanks, or Maintenance Cartridge
- Always store consumables out of the reach of small children. If a child licks or ingests ink accidentally, wash out their mouth or make them drink 1 or 2 cups of water. If irritation or discomfort occurs, consult a doctor immediately.
- If ink accidentally gets in your eyes, immediately rinse with water. If ink gets on your skin, immediately clean it off with soap and water. If irritation persists in your eyes or on your skin, contact a physician immediately.
- Never touch the electrical contacts of the print head after printing. It may be hot.
- Never throw ink tanks in a fire.
- Never disassemble or modify the print head or ink tanks.
- Avoid dropping or shaking the print head, ink tanks, and maintenance cartridge.
Legal Notices
■Copyright
Unauthorized reproduction of this user manual in whole or part is prohibited.
■Legal Notice
- It is illegal to reproduce currency, bills, negotiable securities, and other documents prohibited by law.
Reproduction of such items may be subject to criminal prosecution. - It is illegal to reproduce legal certificates, licenses, travel tickets, and certain public and private documents prohibited from reproduction by law. Reproduction of such items may be subject to criminal prosecution.
- Please note that intellectual property protected by copyright may not be reproduced without the express permission of the copyright holder except for personal or household use under limited circumstances.
Illustrations
Instructions in this manual show the GP-300 printer.
Note that your printer may look different from these illustrations in some cases. However, the basic operations are the same.
Cautions When Requesting Repairs, Leasing, Transferring Ownership, and Disposing of the Printer
If personal information is registered with the printer or security information such as passwords is set on the printer, that information may remain inside the printer. To prevent information leaks, reset the settings (to the factory default state) before the printer is temporarily out of your hands such as for getting it repaired or leased, or before the printer is transferred to another owner or disposed of. For instructions, refer to “When Repairing, Lending, or Disposing of the Printer” in the Online Manual.
Trademarks
QR Code is a registered trademark of DENSO WAVE INCORPORATED in Japan and in other countries.
Displaying the Online Manual
An Online Manual is also available in addition to this document. The Online Manual is a manual that can be viewed by connecting to the internet from a computer or smartphone and contains information that is not explained in this document. It can be accessed from the Canon website as shown below.
Access the Canon website by any of the following methods.
■ Enter the URL in a web browser https://ij.start.canon
Select the model number of the printer you are using.
■ Scan the QR code
https://rs.ciggws.net/rd2.cgi?FNC=GSQB_PTL&DEV=GP-300&CTN=PTL%2Fifportal.php%3Fid%3Dgsqr-ptl-manual
Select
Read Online Manual.
Perform the remaining operations by following the instructions on the screen to display the Online Manual.
Read the Setup Guide as well.
The Setup Guide contains information on how to install the printer, software installation procedure, etc. Read it as well.

This printer is capable of a wide variety of printing.
This printer is capable of a wide variety of printing by using applications. For details on the applications, access the Canon website and view “Getting the Most Out of Your Printer”.
Consumables
This printer uses the following consumables. For details, refer to the Online Manual.

| 1. Print head |
| 2. Roll paper |
| 3. Cut sheet |
| 4. Maintenance cartridge |
| 5. Cutter blade |
| 6. Ink tanks |
Replacing consumables
Procedure for replacing the 1 Print head, 2 Roll paper, 3 Cut sheets, 6 Ink tanks => P. 22
Procedure for replacing the 4 Maintenance cartridge, 5 Cutter blade => Refer to the Online Manual
Loading Roll Paper on the Roll Holder
To print on roll paper, load roll paper on the roll holder.
There are two types of roll paper cores: 2 inches and 3 inches. To use roll paper with a 3-inch paper core, attach the 3-inch paper core attachment to the roll holder and holder stopper.
For details on “Loading Roll Paper on the Roll Holder”, refer to the Online Manual.

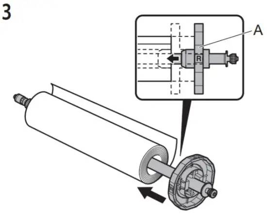
Turn the holder stopper lever (A) in
the direction to unlock it, and remove the holder stopper from the roll holder while holding position (B) as shown in the diagram.

To use a 3-inch paper core roll, align the tabs (A) on the 3-inch paper core attachment with the holes (B) in the roll holder, and insert securely.

With the leading edge of the roll paper facing towards you, insert the roll holder from the right side of the roll paper as shown in the diagram, and securely insert the roll paper until it is touching the flange (A) of the roll holder without any gap.

To use a 3-inch paper core roll, align the tabs (A) on the 3-inch paper core attachment with the holes (B) in the holder stopper, and insert securely.
Insert the holder stopper onto the roll holder from the left side as shown in the diagram, and securely insert it until the flange (A) on the holder stopper is touching the roll paper while holding position (B) as shown in the diagram. Turn the holder stopper lever (C) in the
direction to lock it.

Loading Roll Paper on the Printer
Display the home screen on the operation panel.

- Tap Load paper or Replace paper.
- Tap Load roll paper.

With your hand in the position shown in the diagram, open the roll paper cover.

Hold the flanges (A) of the roll holder, and load the roll paper with the shaft in the roll holder resting ledge (B).
- Load the roll with the label (C) of [R] of the roll holder flange aligned with the label (D) of [R] of the printer.

Hold the flanges (A) of the roll holder, and load the roll in the roll holder slot horizontally along with the slide guides (B) on the left and right.

Insert the leading edge of the roll paper into the feed slot (A) until the paper feeding operation starts.

Hold the area shown in the diagram and close the roll paper cover.
Loading Sheets in the Printer
For details on “Loading Sheets in the Printer”, refer to the Online Manual.
Display the home screen on the operation panel.

1. Tap Load paper or Replace paper.
2. Tap Load cut sheet or Replace cut sheet.

Grasp and slide the width guide (A) to align it with a marker indicating the size of the loaded paper.

Insert one sheet of paper into the feed slot with the printed side facing up so that the right edge of the paper is aligned with the paper alignment line (A) on the right side of the roll paper cover.
- Insert the paper until the tip makes contact.

Fine-tune the position of the width guide (A) according to the size of the loaded paper.
- Align the width guide exactly with the paper to avoid the loaded paper from tilting or crinkling.
Tap Start feeding.
Replacing the Ink Tanks/Paper/Print Head

The method for replacing the ink tanks/paper/print head is displayed on the touch screen of the operation panel. Perform the replacement procedure by following the instructions. For details on replacing other consumables, refer to the Online Manual.
■ Replacing the Ink Tanks

- Tap
(ink) on the touch screen. - Tap Replace.
- Follow the on-screen instructions.
■ Replacing Paper

- Tap Replace paper on the touch screen.
- Tap the paper to replace.
- When the Remove the paper? a message appears, tap Yes.
- Tap Load paper or Replace paper.
- Tap the paper to load.
- Follow the on-screen instructions.
Note
Video instructions are available.
If you select Manual on the touch screen in Step 2, a QR code is displayed. Scan it using a
smartphone, etc. You can view videos of the operating methods.
■ Replacing the Print Head

- Tap
(setup) on the touch screen. - Tap Maintenance.
- Use
to scroll, and then tap Head replacement. - Tap Start head replacement.
- Follow the on-screen instructions.
Clearing Jammed Paper
When The paper is jammed. Push the release lever away from you and remove the paper. appears on the touch screen, clear away the jammed paper using the following procedure.
Note
To view the videos of the operating methods
Select How to clear located inside the error message to display a QR code, and scan it using a smartphone, etc. You can view videos of the operating methods.

Roll Papers
Open the roll paper cover and cut the roll paper with scissors.

Push the release lever to the backside.
Remove the jammed paper
- If the paper is jammed inside the top cover

- Open the top cover.
- Manually move the carriage to the end in the reverse direction from the paper jam.
- Remove the paper jammed inside the printer.
- Check to ensure that no pieces of paper remain jammed.
- Close the top cover.
- If the paper is jammed at the paper feed slot

- Remove the jammed paper.
- Check to ensure that no pieces of paper remain jammed.
- Close the top cover.
Note
If the paper is jammed deep inside the paper feed slot, refer to “Remove Jammed Paper (Paper Feed Slot)” in the Online Manual.
- If the paper is jammed at the output guide

- Remove the jammed paper.
- Check to ensure that no pieces of paper remain jammed.

Pull the release lever towards you.
Cleaning the Print Head
If the printing is scratched, it might be improved by cleaning the print head. There are 3 different types of cleaning as follows.
Execute as appropriate depending on the symptoms.
| [Cleaning] | Use this mode if printing is faint or contains foreign substances. This method of cleaning consumes the least amount of ink. |
| [Deep Cleaning] | Use this mode if no ink is ejected at all, or if Cleaning does not solve the problem. |
| [System Cleaning] | Use this mode if Deep Cleaning does not solve the problem. System Cleaning consumes an extremely large amount of ink. Since your ink will run out quickly if you perform this frequently, you should only perform it when necessary. |
Note
If executing System Cleaning does not solve the problem, the print head may have reached the end of its life. Contact your distributor.
Perform the following procedure on the touch screen.

- Tap
(setup) on the touch screen. - Tap Maintenance.
- Tap Print Head Cleaning.
- Tap the print head cleaning to execute.
- Tap All colors.
- Tap Yes. -> Print head cleaning begins.
Note
If you want to perform cleaning of some ink groups only, refer to “Cleaning the Print Head” in the Online Manual.
Once the print head cleaning has finished, print and check the nozzle check pattern.
Note
For details on how to print the nozzle check pattern, refer to “Checking for Nozzle Clogging” in the Online Manual.



















