Canon TZ-30000 Large Format Printer

Safety Precautions
Follow the items below to use the printer safely. Do not perform any operations or procedures other than as described in this document and instruction manual for this printer. Doing so may result in unexpected accidents and can cause a fire or electrical shocks.
Warning: Instructions that, if ignored, could result in death, serious personal injury, or property damage caused by incorrect operation of the equipment. These must be observed for safe operation.
Caution: Instructions that, if ignored, could result in personal injury or property damage caused by incorrect operation of the equipment. These must be observed for safe operation.
Warning
This printer generates a low-level magnetic field. Anyone wearing a pacemaker who experiences discomfort while working around the printer should leave the area and consult a doctor.
Warning
Follow the items below as there is a risk of fire and electrical shock.
- Do not set up the printer in any location exposed to alcohol, thinner, or other flammable liquids.
- Use the cables that are included with the printer. Do not use the cables included with the printer with other devices.
- Use the printer with a power supply that meets the operating conditions of the printer.
- Insert the power cable securely and completely into the power outlet.
- Never handle the power cable with wet hands.
- Never cut the power cord or attempt to modify it, and never stretch it or bend it forcefully.
- Never place a heavy object on the power cord.
- Never knot the power cord or wrap it around itself.
- Do not insert multiple power cables into the same outlet, and do not connect multiple extension cords.
- If there is lightning nearby, disconnect the power cable from the outlet and do not use the printer.
- When cleaning, always disconnect the cables and power cable that are connected to the printer, and use a cloth dampened in water. Never use flammable solvents such as alcohol, benzine, or thinner.
- Never disassemble the printer or attempt to modify.
- Once per month, disconnect the power cable and power cord from the outlet, and check that dust has not accumulated, and that there are no abnormalities such as heat generation, rust, bending, chafing, or cracking. If you continue to use the printer in the following cases, it may cause fires or electrical shock. Immediately press the power button to turn off the printer, disconnect the power cable from the outlet, and make a request for repairs on the Canon website.
- If any foreign matter (metal fragments, liquids, etc.) gets inside the printer.
- If abnormal conditions occur such as emitting smoke, strange smells, or strange noises.
- If the power cable or power cord is generating heat, rusty, bent, chafed, or cracking.
Warning
For cleaning, use a cloth dampened in water. Never use flammable solvents such as alcohol, benzine, or thinner. If these substances come into contact with electrical components inside the printer, there is a risk of fire or electrical shock.
Caution
Printer Location
- Never install the printer on an unstable or vibrating surface.
- Never place the printer outdoor or in a location that is exposed to high humidity or large amounts of dust, or exposed to direct sunlight, high temperature, or open flame. Refer to “Specifications” for details on the usage environment.
- Never place the printer on a heavy wool or shag carpet. The fibers, dust, etc. may get inside the printer.
- Never place the rear surface of the printer against a wall.
- We recommend ensuring ample space for installation.
- Do not install the printer near sources of strong electromagnetic fields, whether equipment that generates such fields or places where such fields occur.
Power Supply
- Keep the area around the power outlet clear of items so that you can disconnect the power cable immediately.
- Always grip the plug to remove the power cord from the power outlet. Pulling on the power cord could damage the cord.
- Never use an extension cord.
- A power cord shall be connected to a socket-outlet with earthing connection in order to prevent electric shock.
Handling
- Never insert your hand into the printer while it is printing.
- Never place items on top of the printer. In particular, never place small metal objects (paper clips, staples, etc.), liquids, any type of liquid container that contains flammable solvents (alcohol, thinner, etc.) on the printer.
- When using the printer, do not tilt it, stand it on its side, or turn it upside down. There is a risk of the ink spilling.
- When transferring the printer tilted, always perform the steps in “Preparing to Transfer the Printer” in order to protect the internal structure. Refer to the Online Manual for “Preparing to Transfer the Printer”.
- Connect the interface cable correctly. To avoid damage, before connection make sure that the shape of the cable connector matches the connection point on the printer.
- During printing, turn on the ventilation system in the room.
Print Head, Ink Tanks, or Maintenance Cartridge
- Always store consumables out of the reach of small children. If a child licks or ingests ink accidentally, wash out their mouth or make them drink 1 or 2 cups of water. If irritation or discomfort occurs, consult a doctor immediately.
- If ink accidentally gets in your eyes, immediately rinse with water. If ink gets on your skin, immediately clean it off with soap and water. If irritation persists in your eyes or on your skin, contact a physician immediately.
- Never touch the electrical contacts of the print head after printing. It may be hot.
- Never throw ink tanks in a fire.
- Never disassemble or modify the print head or ink tanks.
- Avoid dropping or shaking the print head, ink tanks, and maintenance cartridge.
Legal Notices
Copyright
Unauthorized reproduction of this user manual in whole or part is prohibited.
Legal Notice
- It is illegal to reproduce currency, bills, negotiable securities, and other documents prohibited by law. Reproduction of such items may be subject to criminal prosecution.
- It is illegal to reproduce legal certificates, licenses, travel tickets, and certain public and private documents prohibited from reproduction by law. Reproduction of such items may be subject to criminal prosecution.
- Please note that intellectual property protected by copyright may not be reproduced without the express permission of the copyright holder except for personal or household use under limited circumstances.
Cautions When Requesting Repairs, Leasing, Transferring Ownership, and Disposing of the Printer
If personal information is registered with the printer or security information such as passwords are set on the printer, that information may remain inside the printer. To prevent information leaks, reset the settings (to the factory default state), before the printer is temporarily out of your hands such as for getting it repaired or leased, or before the printer is transferred to another owner or disposed of. For instructions, refer to “When Repairing, Lending, or Disposing of the Printer” in the Online Manual.
Trademarks
QR Code is a registered trademark of DENSO WAVE INCORPORATED in Japan and in other countries.
Displaying the Online Manual
An Online Manual is also available in addition to this document. The Online Manual is a manual that can be viewed by connecting to the internet from a computer or smartphone, and contains information that is not explained in this document. It can be accessed from the Canon website as shown below.
- Access the Canon website by any of the following methods.
- To input the URL https://ij.start.canon Select the model number of the printer you are using.
- Select Read Online Manual.
- Perform the remaining operations by following the instructions on the screen to display the Online Manual.
- Read the Setup Guide as well. The Setup Guide contains information on how to install the printer, software installation procedure, etc. Read it as well. This printer is capable of a wide variety of printing by using applications. For details on the applications, access the Canon website and view “Getting the Most Out of Your Printer”.
Consumables
This printer uses the following consumables. For details, refer to the Online Manual.
- Print head
- Ink tanks
- Roll paper
- Cut sheet
- Maintenance cartridge
Replacing consumables
Procedure for replacing the A print head, B ink tanks, C roll paper => P. 21
Procedure for replacing the D cut sheets, E maintenance cartridge => Refer to the Online Manual
Loading Roll Paper on the Printer
To print on roll paper, load roll paper on the roll holder. There are two types of roll paper cores: 2 inch and 3 inch. To use roll paper with a 3-inch paper core, attach the 3-inch paper core attachment to the roll holder and holder stopper.
Loading Rolls on the Roll Holder
For details on “Loading Rolls on the Roll Holder”, refer to the Online Manual.
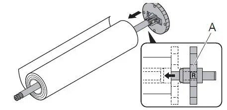
- Turn the holder stopper lever (A) in the direction to unlock it, and remove the holder stopper from the roll holder while holding position (B) as shown in the diagram.

- To use a 3-inch paper core roll, align the tabs (A) on the 3-inch paper core attachment with the holes (B) in the roll holder, and insert securely.

- With the leading edge of the roll paper facing towards you, insert the roll holder from the right side of the roll paper as shown in the diagram, and securely insert the roll paper until it is touching the flange (A) of the roll holder without any gap.

- To use a 3-inch paper core roll, align the tabs (A) on the 3-inch paper core attachment with the holes (B) in the holder stopper, and insert securely.

- Insert the holder stopper onto the roll holder from the left side as shown in the diagram, and securely insert it until the flange (A) on the holder stopper is touching the roll paper while holding position (B) as shown in the diagram. Turn the holder stopper lever (C) in the direction to lock it.

Loading Roll Paper on the Printer
For details on “Loading Roll Paper on the Printer”, refer to the Online Manual.
- Tap paper settings display area on Home screen of touch screen.

Note- Roll paper can be loaded in each of the paper feed slots in the upper roll (roll paper 1) and lower roll (roll paper 2).
- The procedure for loading the roll paper is the same for both the upper roll feed slot and lower roll feed slot.
- Tap the area.
Note- To load in the lower paper feed slot (roll paper 2), tap the area.
- Tap Load paper or Replace paper, check the displayed message, and tap Yes.
- Open roll cover 1.

- Hold flanges (A) so that roll holder stopper is on left, and slowly lift up the roll holder above the open roll cover.

- Move the roll holder all the way to the right.

- Hold flanges (A), align roll holder shaft with roll holder slot left and right guide grooves (B), and load.

- Close roll cover 1. The roll paper is fed.

Installing the Basket on the Front of the Printer
If you are outputting printed material from the front, install the basket on the front of the printer.
- Open the accessory drawer.

- Raise up the basket arm.

- Lift up the basket support bar.

Note: The basket support bar attaches to the opposite side from the basket arms of the basket cloth. - Insert the hooks on the left and right of the basket support bar into the protrusions on the left and right sides of the groove in the upper surface of roll cover 1.

Replacing the Ink Tanks/Paper/Print Head
The method for replacing the ink tanks/paper/print head is displayed on the touch screen of the operation panel. Perform the replacement procedure by following the instructions. For details on replacing other consumables, refer to the Online Manual.
Replacing the Ink Tanks
- Tap the ink display area on the home screen of the touch screen.
- Tap Replace.
- Follow the on-screen instructions.
Replacing Paper
- Press (Load button).
- Select the paper to replace.
- At Remove the paper? tap Yes.
- Press (Load button).
- Select the paper to load.
- Follow the on-screen instructions.
Note: Video instructions available. Select Manual on the touch screen to display a QR code, and scan it using a smartphone, etc. You can view videos of the operating methods.
Replacing the Print Head
- Tap Maintenance on the home screen of the touch screen.
- Tap Head Replacement.
- Follow the on-screen instructions.
Clearing Jammed Paper
If the paper gets jammed when using top output with roll paper, clear away the jammed paper using the following procedure. Refer to the Online Manual for details if the paper get jammed when using front output with roll paper or when using cut sheets.
Important
- Roll paper cannot be removed when the basket is being used. Stow the basket and close the accessory drawer.
- If there is printed material in the top delivery tray, remove all of it first.
- Check which roll paper is currently being fed by using the feed lamp.
• The roll paper on the side with the flashing feed lamp is currently being fed. - Open the maintenance cover and lift up the release lever.
- Open the top cover.
- Open the inner cover.
Important: Do not touch the linear scale, carriage shaft, or ink tube stabilizer. Touching them can damage the printer. - Open the roll cover of the roll paper that is being fed.
- Open the transport unit cover and open the transport unit inner cover.
- If the carriage is out, move the carriage to either the left or right edge, away from the jammed paper.
- Pull the paper inside the inner cover to the top side.Pull the paper to the top surface such that the wrinkled part is facing towards you, and ensure the paper is slack inside the inner cover.
- Cut the paper inside the inner cover using scissors, etc.
Caution: When cutting, take care to avoid injuring yourself or scratching the printer or platen. - Pull paper that is jammed in the transport unit out towards you. Pull the paper from the top towards you to create some slack in the transport unit.
- Cut the paper inside the transport unit using scissors, etc.
Caution: When cutting, take care to avoid injuring yourself or scratching the printer or platen. - Pull the paper out from the output slot to remove it. If there is paper inside the inner cover, pull the paper out from the inner cover side to remove it.
Important: Do not touch the linear scale, carriage shaft, or ink tube stabilizer. Touching them can damage the printer. - Rotate the flanges on the feed source roll paper to wind up the roll paper.
- Close the transport unit inner cover, transport unit cover, and roll cover, and then close the inner cover and top cover.
- Lower the release lever.
- Close the maintenance cover.
Cleaning the Print Head
If the printing is scratched, it might be improved by cleaning the print head. There are 3 different types of cleaning as follows. Execute as appropriate depending on the symptoms.
[Cleaning] Use this mode if printing is faint or contains foreign substances. This method of cleaning consumes the least amount of ink.
[Deep Cleaning] Use this mode if no ink is ejected at all, or if Cleaning does not solve the problem.
[System Cleaning] Use this mode if Deep Cleaning does not solve the problem. System Cleaning consumes an extremely large amount of ink. Since your ink will run out quickly if you perform this frequently, you should only perform it when necessary.
Note: If executing System Cleaning does not solve the problem, the print head may have reached the end of its life. Contact your distributor.
- Perform the following operations on the home screen of the touch screen.
- Tap Maintenance in the home screen.
- Tap Print Head Cleaning.
- Tap the type of print head cleaning to execute.
- Tap All colors.
- Tap Yes. -> Print head cleaning begins.
Note: If you want to perform cleaning of some ink groups only, refer to “Cleaning the Print Head” in the Online Manual.
- Once the print head cleaning has finished, print the nozzle check pattern and check if it has improved.
Note: For details on how to print the nozzle check pattern, refer to “Checking for Nozzle Clogging” in the Online Manual.


































