PIESIA C-BOX-M2 Mini Computer

Enable Bluetooth and Wi-Fi: Access the settings or control panel of your mini computer and enable both Bluetooth and Wi-Fi functionality
Pair/connect Bluetooth devices: you’ll need to pair your mini computer with compatible Bluetooth devices such as speakers, headphones, keyboards, or mice
Connect to Wi-Fi network: From the network settings, scan for available Wi-Fi
networks, select your preferred network, and enter the necessary credentials (such as the network name and password) to establish a connection.
Once connected, you can start using Bluetooth and Wi-Fi features on your mini computer
Interface

(The picture is for referenoe only)
❶ Power Button
❷ Power LED
❸ 4*USB
❹ Reset
❺ DC IN 12V
❻ 2*HDMI
❼ LAN
❽ Line ouVMic in
❾ TFCard
❿ Air outlet
Getting Started
- Diagram of connecting power supply, high-definition cable, mouse and keyboard

- Connect the power adapter and HDMI cable

- Press the power button for 1 second to power on

- Enter the operation interface
Friendly reminder:
- Press F2 immediately after pressing the power button to enter the set up interface.
- Press F12 to enter the startup disk selection interface.
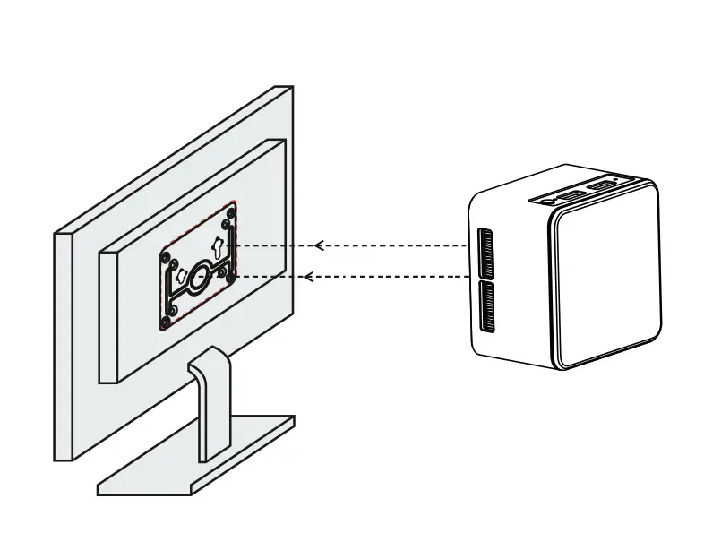
VESA Mount (Optional)
- Secure VESA Mount onto the backboard of TV or LCD monitor with 2 screws(M4 ).

- Fasten two screws(M3) on the bottom of the case.

- Locate to the holes and insert the screws.then slide the case down until it is fixed.

Open top cover
- It is recommended to open the top cover from the back to replace the M.2 storage

Notice and Safety
- To continue to improve the user experience, we may update the app or firmware.
- Do not use corrosive chemical solvents to clean the product, it is recommended to wipe with a soft cloth.
- Do not throw the product into fire.
- Do not attempt to open the case or perform repairs, if a malfunction occurs, please contact customer service.
- When cleaning electronic equipment, please pay attention to waterproofing to prevent electric shock.
- Working environment: 5″C-4o·c, humidity 30%-90% without condensation Storage environment: -20 “C-60 ·c, humidity 10%-90% without condensation
M.2 expand
M.2 2230 E-Key(WIFI): PCle + USB2.0 protocol
M.2 2242 M-Key(SSD): PCle x2/SATA3.0 protocol
Limited warranty
I-SHOP products purchased in the United States or Canada are warranted to be free from defects in materials or workmanship for a period of one year from the date of their original retail purchase. If the unit fails to conform to thiswarranty, we will service the porduct using new or refurbished parts and products,at I-SHOP’s sole discretion .
For more information on other products and service please visit our web site at: ishopdepotinc.com
Warranty terms
- The warranty period of this product is one year. During the warranty period, if the product fails, it is due to poor quality of components or production problems. The company provides free maintenance or parts replace ment.
- After the warranty period, users can still get the company to provide maintenance services, but they have to pay the corresponding fees.
- All man-made or accidental damage to the product is not covered by the warranty.
- If you have any questions, please contact us.
Customer Support
C-BOX-M2
![]()
Manufacturer: PieSia Corporation
Address: 2/F,Building N,Xinwei 3rd industrial Zone,Dalang street
LongHua District,ShenZhen,Guangdong,China
MADE IN CHINA



















