PIESIA U-BOX-M2 Mini Computer
Product Information
The U-BOX-M2 is a mini computer designed for multipoint pairing for 2 devices. It has an aluminum body and is equipped with an Intel Core processor, DDR4 memory, and SSD storage. The I/O interface includes 1 switch button, 2 LAN ports, 1 HDMI2.0 interface, 1 Mini DP port for 4K 60HZ display, 1 DC power jack, 1 2-in-1 audio jack, 2 USB3.1 ports, and 2 USB2.0 ports. It also features dual-band wireless LAN and supports power supply with DC 12V-19V, 65-90W. The U-BOX-M2 runs on Windows 10 and Windows 11 operating systems and has a fan with a sink for thermal design. It measures 114.5×114.5×52.8mm, comes in gray color, and includes a power adapter, VESA mount, quick guide, and screws.
Product Usage Instructions
- Connect the HDMI port of the mini PC to the HDMI port of a TV or LCD monitor using an HDMI cable (not included). Then set the TV or LCD monitor by selecting the connected HDMI port as a video input signal.
- Connect the power adapter with a standard DC power supply to power the device.
- The U-BOX-M2 supports both USB mouse/keyboard and Bluetooth mouse/keyboard.
- Plug the RJ45 Ethernet cable (not included) into the LAN port for WAN connection.
- Press the power button to start the system.
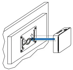
- If you have the VESA mount (optional), secure it onto the backboard of a TV or LCD monitor with 4 screws. Then fasten two screws on the bottom of the case. Locate to the holes and insert the screws into them and slide the case down until it is fixed.
- Use the included ASIAN POWER DEVICES INC. WA-24Q12FU Power Adapter to avoid violating regulatory compliance requirements and exposing yourself to safety hazards.
- Do not replace the battery with an incorrect type as it may cause an explosion. Recycle used batteries where possible and dispose of them in accordance with local environmental regulations.
- Do not modify the wireless antennas, thermal solution, or enclosure as it may violate regulatory compliance requirements and expose you to safety hazards. Do not attempt to repair your equipment.
- This device complies with part 15 of FCC Rules and ICES-003 Compliance: CAN ICES-3 (B)/NMB-3(B). Operation is subject to certain conditions.
- The U-BOX-M2 comes with a limited warranty of one year from the date of original retail purchase. If the unit fails to conform to this warranty, I-SHOP will service the product using new or refurbished parts and products, at I-SHOP’s sole discretion. For more information on other products and services, please visit their website at: ishopdepotinc.com
Interface
Front View
Rear View
Left View
Right View
- Power Button
- Type-C interface
- 2*USB 2.0 Port
- 2*USB 3.0 Port
- 2-in-1 audio jack
- DC power jack
- 2*LAN Port
- HDMI2.0 interface
- Mini DP interface
Specification
- Model U-BOX-M2
- Material Aluminum body
- Processor Intel Core processor
- Memory DDR4
- Storage SSD
- I/O interface
- 1* switch button
- 2* LAN port
- 1* HDMI2.0 interface
- 1* Mini DP port, 4K 60HZ display 1* DC power jack
- 1* 2-in-1 audio jack
- 2* USB3.1 port, 2* USB2.0 port 1* Type-C interface
- Networking Dual band Wireless LAN
- Power supply DC 12V-19V, 65-90W
- OS Windows 10, Windows 11
- Thermal design Fan with sink
- Operation Temp 0~40℃
- Size 114.5×114.5×52.8mm
- Color Gray
Package Contents
The box contains the following items. If any of the items is missing or damaged, please contact agency or dealer immediately.
Getting Started
- Connect the HDMI port of the mini PC to the HDMI port of a TV or LCD monitor with the HDMI cable(not included). Then set the TV or LCD monitor by selecting the connected HDMI port as “video input signal”.
- power supply:By connecting the power adapter with a standard DC power supply power for the device.
- It supports both USB mouse/keyboard and Bluerooth mouse/keyboard.
- Plug the RJ45 Ethernet cable(not included)to LAN port for WAN connection
- Press the power button to start the system.

VESA Mount (Optional)
- Secure VESA Mount onto the backboard of TV or LCD monitor with 4 screws.

- Fasten two screws on the bottom of the case.

- Locate to the holes and insert the screws into them and slide the case down until it is fixed.

Notice and Safety
- Failure to use the included ASIAN POWER DEVICES INC. WA-24Q12FU Power Adapter may violate regulatory compliance requirements and may expose the user to safety hazards.
- Risk of explosion if the battery is replaced with an incorrect type. Batteries should be recycled where possible. Disposal of used batteries must be in accordance with local environmental regulations.
- Modification of the wireless antennas, thermal solution,or enclosure may violate regulatory compliance requirements and may expose the user to safety hazards. Please do not try to repair your equipment,
FCC Compliance Statement
This device complies with part 15 of FCC Rules. Operation issubject to the following two conditions:
- this device may not cause harmful interference, and
- this device must accept any interference received, includinginterference that may cause undesired operation.
Industry Canada ICES-003 Compliance: CAN ICES-3 (B)/NMB-3(B)
Limited warranty
I-SHOP products purchased in the United States or Canada are warranted to be free from defects in materials or workmanship for a period of one year from the date of their original retail purchase. If the unit fails to conform to this warranty, we will service the porduct using new or refurbished parts and products,at I-SHOP’s sole discretion.
For more information on other products and service please visit our web site at: ishopdepotinc.com
Manufacturer: PieSia Corporation
Address: 2/F,Building N,Xinwei 3rd Industrial Zone,
Dalang Street LongHua District,Shenzhen,Guangdong,China
MADE IN CHINA
FCC
FCC WARNING
This device complies with part 15 of the FCC Rules. Operation is subject to the following two conditions:
- this device may not cause harmful interference, and (2
- roved by the party responsible for compliance could void the user’s authority to operate the equipment.
NOTE: This equipment has been tested and found to comply with the limits for a Class B digital device, pursuant to Part 15 of the FCC Rules. These limits are designed to provide reasonable protection against harmful interference in a residential installation. This equipment generates, uses and can radiate radio frequency energy and, if not installed and used in accordance with the instructions, may cause harmful interference to radio communications. However, there is no guarantee that interference will not occur in a particular installation.
If this equipment does cause harmful interference to radio or television reception,
which can be determined by turning the equipment off and on, the user is encouraged to try to correct the interference by one or more of the following measures:
- Reorient or relocate the receiving antenna.
- Increase the separation between the equipment and receiver.
- Connect the equipment into an outlet on a circuit different from that to which the receiver is connected.
- Consult the dealer or an experienced radio/TV technician for help.
To maintain compliance with FCC’s RF Exposure guidelines, This equipment should be installed and operated with minimum distance between 20cm the radiator your body: Use only the supplied antenna.
IC Caution:
This device contains licence-exempt transmitter(s)/receiver(s) that comply with Innovation, Science and Economic Development Canada’s licence-exempt RSS(s). Operation is subject to the following two conditions:
- This device may not cause interference.
- This device must accept any interference, including interference that may cause undesired operation of the device.
























