
Dimmer Switch for LED/Compact Fluorescent/Incandescent
Single Pole (One Location) or 3-Way (Two Locations)
LED/CFL 150W, Incandescent 600W 120VAC, 60HZ
Model Number: USP-DS05S
USER MANUAL
WARNINGS AND CAUTIONS
- Use with compatible dimmable LED, CFL bulbs, Incandescent or 120V halogen fixtures only. To avoid overheating and possible damage to this device and other equipment, DO NOT install to control a receptacle, a motor-operated or a transformer-supplied appliance, or any other lighting sources than those specified.
- To be installed and/or used in accordance with appropriate electrical codes and regulations.
- Use only one (1) dimmer in a 3-way circuit.
- When multiple bulbs are used with one dimmer, do not mix bulb types. All bulbs should be either LED, CFL, or incandescent. Using the same make/model of each bulb will enhance dimmer performance.
- Use this device with copper or copper-clad wire only.
- Clean dimmer with a soft damp cloth only. Do not use any chemical cleaners.
- If you are unsure about any part of these instructions, consult an electrician.
SPECIFICATIONS
| Voltage Dimmable LED/CFL Incandescent/Halogen Switch Type Operation Temperature Certifications | 120V, 60Hz Max. 150W Max. 600W Single Pole/3-Way 32°F (0°C)—104°F(40°C) UL/cUL Listed |
INSTALLATION
Tools Needed to Install Dimmer:
| Slotted/Phillips Screwdriver Pencil Electrical Tape | Cutter Pliers Ruler |
STEP 1 Torn OFF Power :
WARNING: TO AVOID FIRE, SHOCK, OR DEATH;
TURN OFF POWER at the circuit breaker or fuse and test that the power is off before wiring!

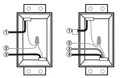
STEP 2 Identify Your Wiring Application (most common):
NOTE: If the wiring in the wall box does not resemble any of these configurations, consult an electrician.

| Single-Pole 1. Line (Hot) 2. Ground 3. Load | 3-Way 1. Line or Load Common (See important instructions below) 2. Ground 3. First Traveler 4. Second Traveler |
IMPORTANT: For 3-way applications, note that one of the screw terminals from the old switch being removed will usually be a different color (Black) or labeled Common. Tag that wire with electrical tape and identify it as the common (Line or Load) in both the dimmer wall box and the standard 3-way switch wall box. The remaining two wires on the brass or lighter screw terminals of the old switch are the travelers.
STEP 3 Prepare Wires :
- Pull off the pre-cut insulation from the Dimmer wires.
- Make sure that the ends of the wires from the wall box are straight (cut if necessary).

Connect wires as follows:
Screw wire nuts clockwise making sure no bare conductors show below the wire connectors. Secure each connector with electrical tape.
- Green dimmer wire connects to Ground or bare copper wire.
- Black dimmer wire connects to Line Hotwire.
- Red dimmer wire without insulating label connects to Load wire.
- Remaining red dimmer wire should have an insulation label affixed.
DO NOT REMOVE it in a single-pole application.

STEP 4B 3-Way Wiring Application :

Connect wires as follows:
Screw wire nuts on clockwise making sure no bare conductors show below the wire connectors. Secure each connector with electrical tape.
- Green dimmer wire connects to Ground or bare copper wire.
- Black dimmer wire connects to Line Hot or Load (Common) wire.
- Two Red dimmer wires connect to the two travelers.

STEP 5 Dimmer Mounting :

Installation may now be completed by carefully positioning all the wires to provide room in the wall box for the dimmer Mount the dimmer into the box with supplied mounting screws
STEP 6 Tourn OFF Power :

STEP 7 Test Dimmer :
ON/OFF
Press rocker switch to ON/OFF position
Lights wif turn ON/OFF
BRIGHTEN & DIM
Mows the slider 0control lever
Lights will BRIGHTEN or DIM
If the LEDs flicker, go to step 8 to adjust the dimer rang the LEDs work properly, install the wall/plate and complete the installation.
STEP 8
Adjust Dimmer Range (optional):
Adjust circuit dimming as follows:
- Turn on the Switch and move the Slider to the lowest (bottom) setting.
- Move the Adjuster all the way up.
- Move the Adjuster down until the preferred lowest light level is achieved and the lights are not flickering.

Adjuster
- Move up, more bright
- Move down, less bright
TROUBLESHOOTING
Symptom :
- Bulbs turn off while being dimmed.
- Bulbs turn on at highlight level but do not turn on at a low light level, or take too long to turn on at the low end.
- Bulbs flicker or flash when dimmed do a low high level.
- Bulbs or dimmers are buzzing.
Solution
- Verify all bulbs are marked dimmable
- Remove wall. plate and locate Adjuster
- Move up the Adjuster slowly until the symptom is no longer present.
WARRANTY
BEST’EN warrants to the original customer that this product is free of defects in materials and workmanship for one year from the purchase date. Within this period, simply contact BEST’EN CARE with proof of purchase and reason of claim We will replace the product for free.
Any product which is subject to misuse or accidental damage is excluded from this warranty.
[email protected]
1-800-358-6160 (Mon-Fri 9AM-5PM PST)
For more products from BESTTEN, please visit our website www.ibestten.com.


















