Ifm DTI600 RF Identification System Read and Write Head Instruction Manual
Preliminary note
This document is part of the device and contains information about the correct handling of the product.
This document is intended for specialists. These specialists are people who are qualified by their training and their experience to see risks and to avoid possible hazards that may be caused during operation or maintenance of the device.
Read this document before use to familiarise yourself with operating conditions, installation and operation. Keep this document during the entire duration of use of the device.
Symbols used
- Instructions
- → Cross-reference
- Important note
- Non-compliance may result in malfunction or interference.
- Information
- Supplementary note
Safety instructions
General
Observe the operating instructions. Non-observance of the instructions, operation which is not in accordance with use as prescribed below, wrong installation or incorrect handling can affect the safety of operators and machinery.
The installation and connection must comply with the applicable national and international standards. Responsibility lies with the person installing the device.
The device must only be installed, connected and put into operation by a qualified electrician as the safe function of the device and machinery is only guaranteed when installation is correctly carried out.
Disconnect the device externally before handling it.
In case of malfunction of the device or uncertainties please contact the manufacturer. Any tampering with the device can seriously affect the safety of operators and machinery. This is not permitted and leads to the exclusion of any liability and warranty claims.
Radio equipment
In general, radio equipment must not be used in the vicinity of petrol stations, fuel depots, chemical plants or blasting operations.
- Do not transport and store any flammable gases, liquids or explosive substances near the device.
Interference of electronic and medical devices
Operation of the device can affect the function of electronic devices that are not correctly shielded.
- Disconnect the device in the vicinity of medical equipment.
- Contact the manufacturer of the corresponding device in case of any interference.
Because of the requirements for electromagnetic interference emissions, the device is intended for use in industrial environments. The device is not suitable for use in domestic areas.
The device may only be used under the operating conditions specified in the data sheet.
Functions and features
In combination with the IO-Link master the read/write head DTI600 is used for non-contact reading and writing of RFID tags that conform to the system (ID tags).
The data is available as process data at the IO-Link interface.
Function
Operating principle
The ID tags are operated passively, i.e. without battery. The energy required for operation is supplied by the read/write head.
The physical principle of the energy transfer is based on inductive coupling.
The integrated antenna coil in the read/write head generates a magnetic field which partly penetrates the antenna coil of the ID tag. A voltage is generated by induction that supplies the data carrier with energy.
Overview

Art. no.: DTI600
Function: read/write head
Type designation: DTRHF HLRWIOUS03
Operating frequency: 13.56 Mhz
Type: rectangular
Max. transmitter power: 2 watts
Installation
General installation instructions
When mounting several read/write heads adhere to the minimum distances between the systems.
Installing a read/write head in or on metal reduces the read and write distance.
The immediate vicinity of powerful HF emission sources such as welding transformers or converters can affect operation of the read/write heads.
Information on the available mounting accessories is available on our website at www.ifm.com.
Notes on ID tag mounting
Installation of the ID tags in and on metal reduces the read and write distances.
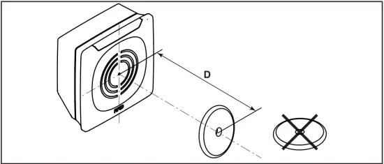
For positioning the ID tags the read/write heads are marked with an antenna symbol on the active face. It designates the middle of the integrated antenna coil and has to correspond with the middle of the ID tag.
The orientation of the read/write head axis must correspond with the axis of the ID tag coil.
Avoiding interference
The device generates a modulated electrical field with a frequency of 13.56 MHz.
To avoid interference of the data communication no other devices generating interference emission in this frequency band must be operated in its vicinity. Such devices are for example frequency converters and switched-mode power supplies.
Mechanical design

- Sensing face
- Connection (can be rotated by 270°)
Fixing
For installation, the following optional accessories are available.
The device can be mounted without the accessories. For installation, please use the threaded sleeves on the back of the device. The necessary screws are not supplied with the device.
Installation with angle bracket E80335

Installation with mounting device E80336
The mounting device is used to mount the device to a clamp. The following clamps can be used:
- E21110 with a rod diameter of 12 mm
- E20795 with a rod diameter of 14 mm
- E21109 with a rod diameter of 14 mm

Installation with fixing bars E80337
Fix the device with fixing screws to the designated location.
Mounting distances

| Operating mode | Distance side (A) | Distance front (B) |
| For reading and writing | ≥ 600 mm | ≥ 400 mm |

- Align the ID tag on the antenna central axis.
Distance D see data sheet
Electrical connection
Observe the following instructions before electrical installation.
NOTE
The device must be connected by a qualified electrician. Observe the electrical data in the data sheet.
Device of protection class III (PC III).
The electrical supply must only be made via PELV/SELV circuits.
Disconnect power before connecting the device.
Wiring
Connect the device to the IO-Link master using the M12 connector. Voltage is supplied via the IO-Link master.
A selection of sockets is available on our website at www.ifm.com.
cULus
If approval is granted the approval text of the respective countries applies (→ 12 Approvals/standards).
Information about the approvals granted: www.ifm.com
For devices with cULus approval and the cULus scope of validity :
Supply the device from an isolating transformer having a secondary UL- listed fuse rated:
- a) 5 A at voltages of 0…20 V rms (0…28.3 V p )
- b) 100/V p at voltages of 20…30 V rms (28.3…42.4 V p )
Indicators

| LED | Status | Meaning |
| green | ON | operating voltage OK |
| OFF | operating voltage missing | |
| FLASHING SLOWLY | deactivated | |
| 4 x yellow | ON (permanently) | ID tag detected |
| ON (pulse) | ID tag read /written successfully | |
| FLASHING QUICKLY | error when reading/writing on ID tag | |
| OFF | no ID tag in the field or faulty ID tag in the field or invalid ID tag in the field | |
| green + 4x yellow | FLASHING ALTERNATELY | device fault |
Operation
The read/write head is configured via the IO-Link master. You can find more information about the operation in the manual at www.ifm.com.
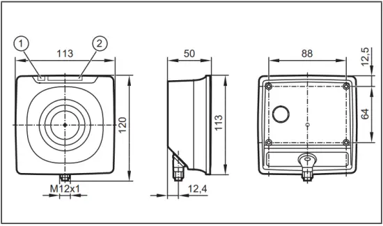
Scale drawing

The max. tightening torque of the screws when mounting the device is 0.8 Nm.
Technical data
The data sheets are available on our website at www.ifm.com.
Detection range with E80384

Detection zone
All indications apply to static write operations. If not otherwise stated, they refer to the installation of the device and of the ID tag in a non-metallic environment.
Maintenance, repair and disposal
The operation of the device is maintenance-free. For perfect functioning: Keep the sensing face and a clear space, if any, free from deposits and foreign bodies.
When replacing the device ensure that installation is done in the same way and that the same type of device is used. It is not possible to repair the device. After use dispose of the device in an environmentally friendly way in accordance with the applicable national regulations.
Approvals/standards
If approval is granted the approval text of the respective countries applies (→ 12 Approvals/standards).
Information about the approvals granted: www.ifm.com
Radio approvals
Overview
The overview of the approval status of a unit is available on our website at www.ifm.com
Europe / EC declaration of conformity
ifm electronic gmbh hereby declares that the DTI600 radio system corresponds to the directive 2014/53/EU.
You can find the EC declaration of conformity on our website at: www.ifm.com
USA
FCC note:
This device complies with Part 15 of the FCC Rules. Operation is subject to the following two conditions:
- This device must not cause harmful interference, and
- this device must accept any interference received, including interference that may cause undesired operation.
Changes or modifications made to this equipment not expressly approved by ifm may void the FCC authorization to operate this equipment.
NOTE: This equipment has been tested and found to comply with the limits for a Class A digital device, pursuant to part 15 of the FCC Rules. These limits are designed to provide reasonable protection against harmful interference when the equipment is operated in a commercial environment. This equipment generates. uses and can radiate radio frequency energy and, if not installed and used in accordance with the instructions, may cause harmful interference to radio communications. Operation of this equipment in a residential area is likely to cause harmful interference in which case the user will be required to correct the interference at his own expense.
Canada
IC note:
This device complies with Industry Canada license-exempt RSS standards.
Operation is subject to the following two conditions:
- The device may not cause interference, and
- the user of the device must accept any interference received, including interference that may cause undesired operation.
Taiwan
Administrative Regulations on Low Power Radio Wave Devices warning
Article 12
Unless granted permission by NCC, no company, firm, or user shall alter the frequency, increase the transmitting power, or alter the original design characteristics or operating functions of an approved low-power radio frequency device.
Article 14
Low-power radio-frequency devices shall not affect aircraft security nor interfere with legal communications. If such interference occurs, the user shall immediately cease operating the device until improvement is made and the interference no longer exists.
Legal communications refers to the wireless telecommunication operations that comply with the Telecommunications Act. Low-power radio-frequency devices must accept any interference received from legal communications and ISM radio wave devices.
Below are the Taiwanese legal regulations in Chinese.
Australia
Use in Australia:
Singapore
Complies with
IDA Standards
DB 103032
The “Equipment Registration” is available on our website at: www.ifm.com




















