RETEKESS TR604W FM/AM/WB 3 Band Radio User Manual

The lightning flash with arrowhead symbol within an equilateral triangle is intended to alert the user to the presence of uninsulated ” hazardous voltage ” within product’s enclosure, which may be sufficient to induce a risk of electric shock to persons.
WARNING
- There may be electric shock dangerous when you don’t operate or use this machine correctly, please strictly operate in accordance with its regulations. Except for the authorized repairing personnel, never open the back cabinet arbitrarily so as to avoid the dangerous of electric shock.
- Please don’t expose the unit under the rain or humid place, prevent from water and spray.
- Don’t put anything which fill with liquid like vase etc above this unit.
- Please don’t press or bend the AC cord of the unit, in case of the copper inside the AC cord break and lead to open circuit.
- When fall across thunderstorm or you don’t use this machine for a long time, please do pull out the AC plug.
- Please pull out the batteries when don’t use DC power supply, so as to avoid batteries electronic leak liquid corroding the radio.
- Don’t use the batteries combined with new and old, or different category. Please put he dumped batteries on the place where indicate by government to avoid environment pollution.
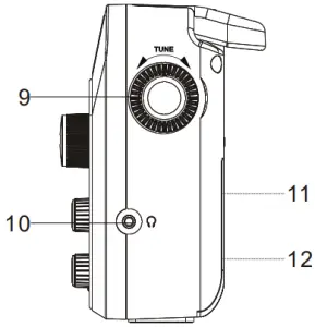
FUNCTION PARTS
- Handle
- FM antenna

- Dial scale
- Power indicator
- Dial pointer
- Volume control & Power switch
- Band switch
- High & Low tone

- Tuning knob
- Earphone jack
- AC socket
- Battery door

POWER SUPPLY
- This unit has the function of AC&DC available power supplying, AC voltage is 110V 60Hz, DC voltage is 4.5V (3×1.5V R20/D size ) .
- When use the AC power, please connect the inlet of the AC cord with the socket jack (11), and put the plug of the AC cord into power board or the power socket on the wall.
- When use the DC power, please operate as the following procedures;
- Push down the battery door locks by hands and take apart the battery door (12).
- Aiming the polarity of the battery, put into 3 pcs 1.5V R20/D size.
- Closed the battery door.
NOTICE
- Just to be on the safe side, please pull out the AC plug from power supplying before installing batteries.
- Please try to use the AC power supplying due to because the time is limited for batteries proving power.
RADIO OPERATION
- Move the power switch (6) between on and off to control.
- Move the band switch (7) to the band you want to listen: AM or FM or WB, after band selected, turn the tuning knob (9) and watch the dial pointer (4) on dial scale (3) to search your desired station program.
- Use volume control (6) to regulate the large or small volume of the sound.
- Use high & low tone (8) for your preference.
- You can see earphone to listen to radio in case of disturb other people. Insert the earphone plug into “earphone jack” (10).
ANTENNA OPERATION
- When listen to FM or WB, please pull out the FM antenna (2) to obtained the best effect.
- When receiving AM, it’s using the internal magnetic antenna, you can get the optimum reception by rotating the direction of the radio.
MAINTENANCE
- Please put this unit at well ventilated place, don’t use it in high temperature or humid environment. When maintain this radio, please clean up this machine with soft cloth, but with out any lubricant, alcohol etc volatile liquid.
- The machinery parts of this machine have been fully lubricated by factory before delivery.
WARNING
RF ENERGY EXPOSURE AND PRODUCT SAFETY GUIDE
Before using this radio, read this guide which contains important operating instructions for safe usage and RF energy awareness and control for compliance with applicable standards and regulations.
Local Government Regulations
When radios are used as a consequence of employment, the Local Government Regulations requires users to be fully aware of and able to control their exposure to meet occupational requirements.
Exposure awareness can be facilitated by the use of a product label directing users to specific user awareness information. Your Retekess radio has a RF Exposure Product Label. Also, your Retekess user manual, or separate safety booklet includes information and operating instructions required to control your RF exposure and to satisfy compliance requirements.
Changes or modifications not expressly approved by the party responsible for compliance may void the user’s authority granted by the local government radio management departments to operate this radio and should not be made. To comply with the corresponding requirements, transmitter adjustments should be made only by or under the supervision of a person certified as technically qualified to perform transmitter maintenance and repairs in the private land mobile and fixed services as certified by an organization representative of the user of those services. Replacement of any transmitter component (crystal, semiconductor, etc.) not authorized by the local government radio management departments equipment authorization for this radio could violate the rules.
FCC Requirements
This device complies with part 15 of the FCC Rules. Operation is subject to the following two conditions:
- This device may not cause harmful interference, and
- This device must accept any interference received, including interference that may cause undesired operation.
This equipment has been tested and found to comply with the limits for a Class B digital device, pursuant to Part 15 of the FCC Rules. These limits are designed to provide reasonable protection against harmful interference in a residential installation.
This equipment generates uses and can radiate radio frequency energy and, if not installed and used in accordance with the instructions, may cause harmful interference to radio communications.
However, there is no guarantee that interference will not occur in a particular installation. If this equipment does cause harmful interference to radio or television reception, which can be determined by turning the equipment off and on, the user is encouraged to try to correct the interference by one or more of the following measures:
- Reorient or relocate the receiving antenna.
- Increase the separation between the equipment and receiver.
- Connect the equipment into an outlet on a circuit different from that to which the receiver is connected.
- Consult the dealer or an experienced radio/TV technician for help.
CE Requirements:
(Simple EU declaration of conformity) Henan Eshow Electronic Commerce Co.,Ltd declares that the radio equipment type is in compliance with the essential requirements and other relevant provisions of RED Directive
2014/53/EU and the ROHS Directive 2011/65/EU and the WEEE Directive 2012/19/EU; the full text of the EU declaration of conformity is available at the following internet address: www.retekess.com.
Disposal
The crossed-out wheeled-bin symbol on your product, literature, or packaging reminds you that in the European Union, all electrical and electronic products, batteries, and accumulators (rechargeable batteries) must be taken to designated collection locations at the end of their working life. Do not dispose of these products as unsorted municipal waste. Dispose of them according to the laws in your area.
IC Requirements:
Licence-exempt radio apparatus
This device contains licence-exempt transmitter(s)/receiver(s) that comply with Innovation, Science and Economic Development Canada’s licence-exempt RSS(s). Operation is subject to the following two conditions:
- This device may not cause interference.
- This device must accept any interference, including interference that may cause undesired operation of the device.
RF Warning Statements
The device has been evaluated to meet general RF exposure requirement. The device can be used in portable exposure condition without restriction.
RF Exposure Information
- DO NOT operate the radio without a proper antenna attached, as this may damage the radio and may also cause you to exceed RF exposure limits. A proper antenna is the antenna supplied with this radio by the manufacturer or an antenna specifically authorized by the manufacturer for use with this radio, and the antenna gain shall not exceed the specified gain by the manufacturer declared.
- To avoid interference, turn off the radio in areas where signs are posted to do so.
- DO NOT operate the transmitter in areas that are sensitive to electromagnetic radiation such as hospitals, aircraft, and blasting sites.
Avoid Choking Hazard
Small Parts. Not for children under 3 years.
Protect your hearing
Use the lowest volume necessary to do your job.- Turn up the volume only if you are in noisy surroundings.
- Turn down the volume before adding headset or earpiece.
- Limit the amount of time you use headsets or earpieces at high volume.
- When using the radio without a headset or earpiece, do not place the radio’s speaker directly against your ear
- Use careful with the earphone maybe possible excessive sound pressure from earphones and headphones can cause hearing loss
Note: Exposure to loud noises from any source for extended periods of time may temporarily or permanently affect your hearing. The louder the radio’s volume, the less time is required before your hearing could be affected.
Hearing damage from loud noise is sometimes undetectable at first and can have a cumulative effect.
Approved Accessories
This radio meets the RF exposure guidelines when used with the Retekess accessories supplied or designated for the product. Use of other accessories may not ensure compliance with the RF exposure guidelines and may violate regulations.- For a list of Retekess-approved accessories for your radio model, visit the following website: http://www.Retekess.com
EU Importor
Name: Germany Retevis Technology Gmbh
Address: Uetzenaker 29, 38176 wendeburg
Guarantee
Model Number:________________________________
Serial Number:_________________________________
Purchasing Date:________________________________
Dealer: Telephone:_______________________________
User’s Name:______________ Telephone:_____________
Country:________________ Address:________________
Post Code: Email:________________________________
Remarks:
- This guarantee card should be kept by the user, no replacement if lost.
- Most new products carry a two-year manufacturer’s warranty from the date of purchase.
- The user can get warranty and after-sales service as below:
- Contact the seller where you buy.
- Products Repaired by Our Local Repair Center
- For warranty service, you will need to provide a receipt proof of purchase from the actual seller for verification
Exclusions from Warranty Coverage:
- To any product damaged by accident.
- In the event of misuse or abuse of the product or as a result of unauthorized alterations or repairs.
- If the serial number has been altered, defaced, or removed.

Henan Eshow Electronic Commerce Co., Ltd
Add: 7/F, Sanjiang Building, No.170 Nanyang Road, Huiji District, Zhengzhou, Henan, China
Facebook: facebook.com/Retekess.ru
E-mail: [email protected]
Web: retekess.com.ru
MADE IN CHINA





This radio meets the RF exposure guidelines when used with the Retekess accessories supplied or designated for the product. Use of other accessories may not ensure compliance with the RF exposure guidelines and may violate regulations.


















