ifm ANT512 RF Identification System

Product Information: RF-Identification System
The RF-Identification System consists of a read/write head with the article number ANT512. The device is used for reading and writing ID tags without contact. The device supports ID tags according to ISO 15693. The ID tags are passively operated without a battery, and the energy required for operation is provided by the read/write head. The energy is provided via an inductive coupling. The integrated antenna coil in the read/write head generates a magnetic field which partly penetrates the antenna coil of the ID tag. A voltage is generated by induction that supplies the data carrier with energy.
Items Supplied
- Read/write head ANT512
Safety Instructions
The device must be connected by a qualified electrician. Device of protection class III (PC III). The electrical supply must only be made via PELV/SELV circuits. Disconnect power before connecting the device.
Intended Use
The read/write head reads and writes ID tags without contact.For use, the read/write head must be connected to the DTE10x evaluation unit. The data is converted into digitally coded values and provided to the evaluation unit.
Installation
When mounting several RFID units, adhere to the minimum distances between the systems. Flush mounting of a read/write head in metal reduces the read/write distance. Device performance can be affected if positioned in the immediate vicinity of powerful HF emission sources such as welding transformers or converters.
Alignment of Sensing Face
To align the sensing face, follow these steps:
- Loosen the screw.
- Remove the antenna head from the fixing element and turn it.
- Attach the fixing element to the antenna head.
- Tighten the screw.
Install Device
To install the device, follow these steps:
- Fix the device with 2 M5 screws and nuts.
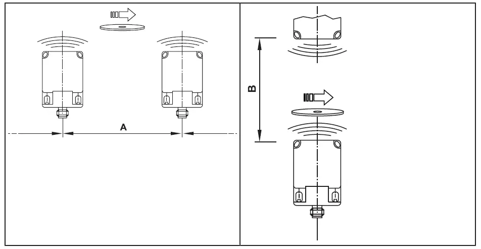
Mounting Distances
The minimum distances for operating mode for reading and writing are:
- Distance side (A): 400 mm
- Distance front (B): 400 mm
Positioning of the ID Tag
To position the ID tag:
- For installation in or on metal use the ID tags provided for this purpose.
- Align the ID tag on the central axis of the antenna of the device.
Electrical Connection
Connect the unit to a DTE10x evaluation unit via the M12 connector. Voltage is supplied via the evaluation unit.
Preliminary note
You will find instructions, technical data, approvals and further information using the QR code on the unit / packaging or at www.ifm.com.
Symbols used
Requirement
Instructions
Reaction, result
Designation of keys, buttons or indications
Cross-reference
Important note Non-compliance may result in malfunction or interference.
Information Supplementary note
Warnings used
ATTENTION
Warning of damage to property
Legal and copyright information
© All rights reserved by ifm electronic gmbh. No part of these instructions may be reproduced and used without the consent of ifm electronic gmbh.
All product names, pictures, companies or other brands used on our pages are the property of the respective rights owners.
Safety instructions
General
- The unit described is a subcomponent for integration into a system.
- The system architect is responsible for the safety of the system.
- The system architect undertakes to perform a risk assessment and to create documentation in accordance with legal and normative requirements to be provided to the operator and user of the system. This documentation must contain all necessary information and safety instructions for the operator, the user and, if applicable, for any service personnel authorised by the architect of the system.
- Read this document before setting up the product and keep it during the entire service life.
- The product must be suitable for the corresponding applications and environmental conditions without any restrictions.
- Only use the product for its intended purpose (Ò Intended use).
- If the operating instructions or the technical data are not adhered to, personal injury and/or damage to property may occur.
- The manufacturer assumes no liability or warranty for any consequences caused by tampering with the product or incorrect use by the operator.
- Installation, electrical connection, set-up, operation and maintenance of the product must be carried out by qualified personnel authorised by the machine operator.
- Protect units and cables against damage.
Radio equipment
In general, radio equipment must not be used in the vicinity of petrol stations, fuel depots, chemical plants or blasting operations.
- Do not transport and store any flammable gases, liquids or explosive substances near the unit. Interference of electronic and medical devices
Operation can affect the function of electronic devices that are not correctly shielded. - Disconnect the device in the vicinity of medical equipment.
- Contact the manufacturer of the corresponding device in case of any interference.
Intended use
The read/write head reads and writes ID tags without contact. For use, the read/write head must be connected to the DTE10x evaluation unit.
The data is converted into digitally coded values and provided to the evaluation unit.
Items supplied
- Read/write head
The device is supplied without installation and connection accessories.
Available accessories: www.ifm.com.
The optimum function is not ensured when using components from other manufacturers.
Function
ID tags
The ID tags are passively operated without a battery. The energy required for operation is provided by the read/write head.
The energy is provided via an inductive coupling. The integrated antenna coil in the read/write head generates a magnetic field which partly penetrates the antenna coil of the ID tag. A voltage is generated by induction that supplies the data carrier with energy.
The device supports ID tags according to ISO 15693.
Device overview

| Article number: | ANT512 |
| Function: | Read/write head |
| Type designation: | DTRLF MCRWIDUS01 |
| Type: | Rectangular |
Installation
Notes on the unit installation
- When mounting several RFID units adhere to the minimum distances between the systems.
- Flush mounting of a read/write head in metal reduces the read/write distance.
- Device performance can be affected if positioned in the immediate vicinity of powerful HF emission sources such as welding transformers or converters.
Avoiding interference
The device generates a modulated electrical field with a frequency of 125 kHz. Avoid interference of the data communication:
- Do not operate any devices in the vicinity that use the same frequency band.
- Such devices are for example frequency converters and switched-mode power supplies.
If there are other devices in the same frequency band in the vicinity:
- The mounting distances between the devices should be as large as possible.
- Use the devices in alternating operation.
- Switch the HF field of the device on/off.
Mechanical design
On delivery the sensing face is facing the front.

Fig. 1: Factory setting
Fig. 2: Antenna head separated from the fixing element

- Sensing face
- Adjustable antenna head
- Fixing element
Alignment of the sensing face
![]() | Loosen the screw. |
![]() | Remove the antenna head from the fixing element and turn it. |
![]() | Attach the fixing element to the antenna head. |
![]() | Tighten the screw. |
Install device
- Fix the device with 2 M5 screws and nuts.

Fig. 3: Non-flush mounting

Fig. 4: Flush mounting
Mounting distances

| Operating mode | Distance side (A) | Distance front (B) |
| For reading and writing | ≥ 400 mm | ≥ 400 mm |
Positioning of the ID tag
For installation in or on metal use the ID tags provided for this purpose.
- Align the ID tag on the central axis of the antenna of the device.
- The distance “D” is indicated in the data sheet.
- All indications apply to static read/write operations.

Fig. 5: Position the ID tag
Electrical connection
The device must be connected by a qualified electrician. Device of protection class III (PC III).
The electrical supply must only be made via PELV/SELV circuits.
- Disconnect power before connecting the device.
Wiring
- Connect the unit to a DTE10x evaluation unit via the M12 connector.
- Voltage is supplied via the evaluation unit.

Information on available sockets see: www.ifm.com.
Cables with the following characteristics are suitable for the connection:
| Length | Ohmic resistance (feed + return line) | Effective cable capacity |
| < 20 m | max. 3 Ω | max. 3 nF |
Operating and display elements

Fig. 6: Light indicators
- LED green: Operating voltage
- LED yellow: ID tag
| LED | State | Description |
| green | on | operating voltage OK |
| off | operating voltage missing | |
| flashing slowly | deactivated | |
| yellow | on (permanently) | ID tag detected |
| on (pulse) | ID tag read/written successfully | |
| flashing quickly | error when reading/writing on ID tag | |
| off |
| |
| green and yellow | flashing alternately | error in communication or device fault |
Maintenance, repair and disposal
The unit is maintenance-free.
- Contact ifm in case of malfunction.
- Do not open the housing as the unit does not contain any components which can be maintained by the user. The unit must only be repaired by the manufacturer.
- Clean the device using a dry cloth.
- Dispose of the unit in accordance with the national environmental regulations.
Approvals/standards
For approvals and standards, the following information is available:
- Test standards and regulations: documentation.ifm.com
- EU declaration of conformity and approvals: documentation.ifm.com
- Notes relevant for approval: Package insert of the device and documentation.ifm.com
Glossary
ID tag
An ID tag is used to identify objects. A read/write device is used to read the ID tag via a high-frequency radio signal. An ID tag consists of an antenna, an analogue circuit for receiving and transmitting (transceiver), a digital circuit and a non-volatile memory.

ifm electronic gmbh • Friedrichstraße 1 • 45128 Essen • Germany 11426822 / 00 04 / 2022
80308135 / 00

Note
The currently valid approvals of the units are available for download: documentation.ifm.com
Read the operating instructions before set-up and keep them for the duration of use.
- ifm electronic gmbh hereby declares that the devices indicated in the following table corresponds to the directive 2014/53/EU.
- The full text of the EU Declaration of Conformity, technical data, instructions, approvals, contacts and further information is available at documentation.ifm.com.
WARNING! The operation of this device can cause radio interference in residential areas.
| Device | Frequency | Max. H-field strength |
| ANT512, DTA100, DTA101, DTA200, | 0,125 MHz | 30 dBµA/m @ |
| DTA201, DTA300, DTA301 | 10 m |
Read the operating instructions before set-up and keep them for the duration of use.
- ifm electronic gmbh hereby declares that the devices indicated in the following table are in compliance with the relevant statutory requirements.
- The full text of the Declaration of Conformity, technical data, instructions, approvals, contacts and further information is available at documentation.ifm.com.
WARNING! The operation of this device can cause radio interference in residential areas.
| Device | Frequency | Max. H-field strength |
| ANT512, DTA100, DTA101, DTA200, | 0,125 MHz | 30 dBµA/m @ |
| DTA201, DTA300, DTA301 | 10 m |
ANT512 / DTA100 / DTA101 / DTA200 / DTA201 / DTA300 / DTA301 FCC information:
The devices comply with Part 15 of the FCC Rules. Operation is subject to the following two conditions:
- This device must not cause harmful interference, and
- This device must accept any interference received, including interference that may cause undesired operation.
Changes or modifications to this device that have not been expressly approved by ifm could void the user’s authority to operate the equipment.
Note:
This equipment has been tested and found to comply with the limits for a Class A digital device, pursuant to part 15 of the FCC Rules. These limits are designed to provide reasonable protection against harmful interference when the equipment is operated in a commercial environment. This equipment generates, uses, and can radiate radio frequency energy and, if not installed and used in accordance with the instruction manual, may cause harmful interference to radio communications. Operation of this equipment in a residential area is likely to cause harmful interference in which case the user will be required to correct the interference at his own expense.
Canada / Canada
ANT512 / DTA100 / DTA101 / DTA200 / DTA201 / DTA300 / DTA301
ISED note:
The devices contain licence-exempt transmitters/receivers that comply with Innovation, Science and Economic Development Canada’s licence-exempt RSSs.
Operation is subject to the following two conditions:
- This device may not cause interference.
- This device must accept any interference, including interference that may cause undesired operation of the device.
Without permission granted by the NCC, any company, enterprise, or user is not allowed to change frequency, enhance transmitting power or alter original characteristic as well as performance to approved low power radio-frequency devices.
The low power radio-frequency devices shall not influence aircraft security and interfere legal communications; If found, the user shall cease operating immediately until no interference is achieved. The said legal communications mean radio communications is operated in compliance with the Telecommunication Management Act.
The low power radio-frequency devices must be susceptible with the interference from legal communications or ISM radio wave radiated devices.
Use in Australia:
Singapore
Complies with IMDA standards.
DB 103032
The “Equipment Registration” is available on our website at: documentation.ifm.com























